GM Service Manual Online
For 1990-2009 cars only

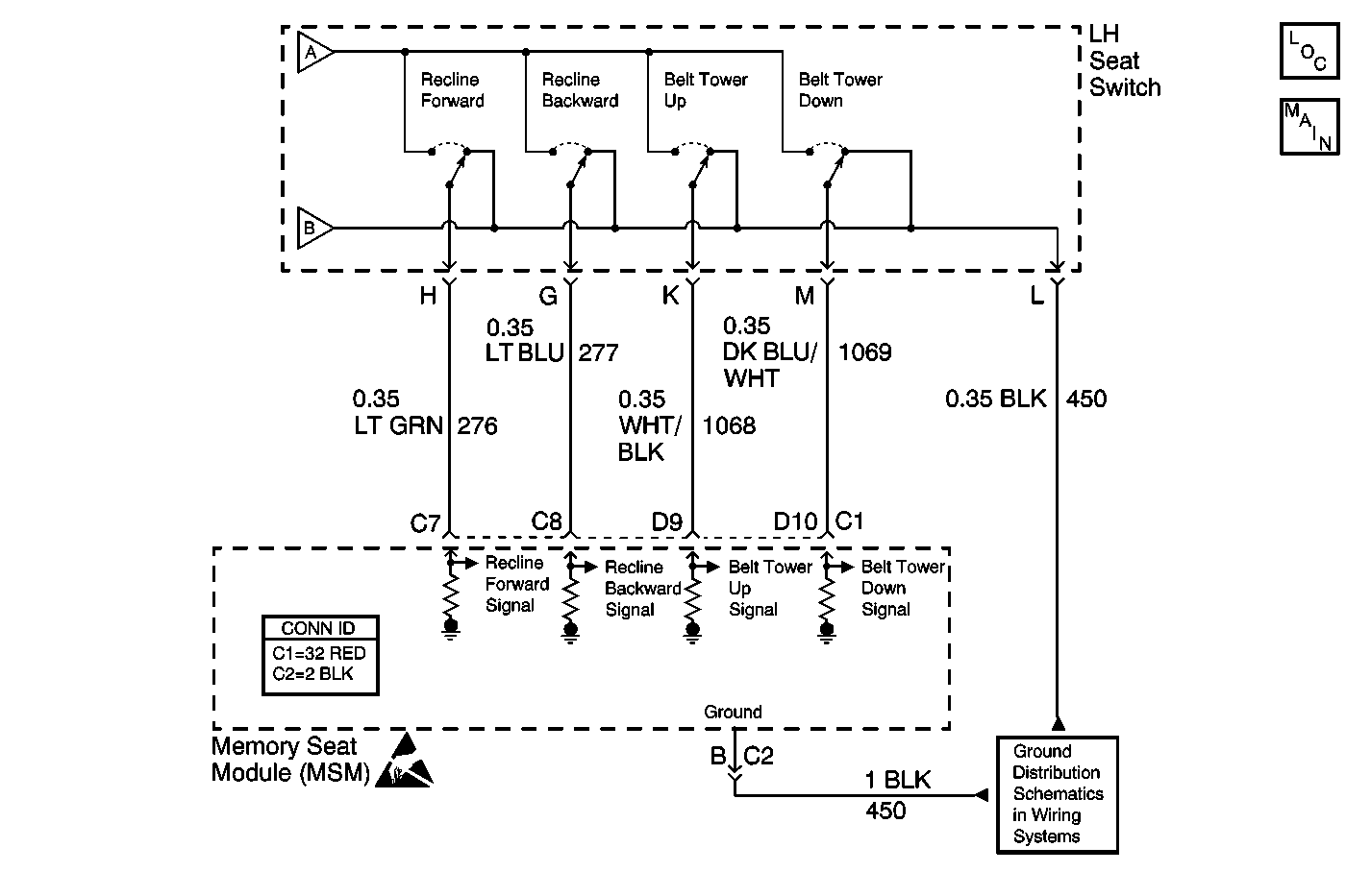
Object Number: 582914  Size: MF
Power Seat Systems Components
Memory Seats Schematics: LH Seat Switch
Handling ESD Sensitive Parts Notice
Ground Distribution Schematics
Memory Seats Schematics: LH Seat Motors
Memory Seats Schematics: LH Seat Motors

Circuit Description

The memory seat module (MSM) switches are normally open. They switch 12 V to the MSM when they are pressed. The MSM commands the driver seat to move in response to the switch inputs.

Conditions for Running the DTC

The MSM must be powered. The MSM checks the switch inputs and the position sensor signals continuously.

Conditions for Setting the DTC

    • If a seat direction switch continues to be active for 30 seconds after a motor controlled by that switch reaches the end of its travel, the switch will be considered shorted and the MSM will set the DTC.
    • If a position sensor DTC is current and the associated switch is active for 30 continuous seconds, the switch will be considered shorted and the MSM will set a switch DTC.
    • A switch DTC will not set if DTC B1327 is current.

Action Taken When the DTC Sets

    • A motor output driven in response to a switch considered failed, is deactivated for both directions.
    • All memory recall commands are ignored.
    • The MSM will respond to any other switch input that has not set a DTC.

Conditions for Clearing the DTC

The DTC automatically clears when the switch setting the DTC does not test out of limits or closed. The DTC then changes from a current fault to a history fault.

Test Description

The numbers below refer to the step numbers on the diagnostic table.

  1. Checks the existing state of the driver's memory/seat switch by using the current state of the input parameter.

  2. Determines if the switch contacts are stuck closed.

  3. Determines if there is a short to battery positive voltage in the switch input circuit.

  4. Clears all DTCs after the repair is complete and also verifies the repair.

Step

Action

Value(s)

Yes

No

1

Did you perform the Diagnostic System Check - Power Seat Systems?

--

Go to Step  2

Go to Diagnostic System Check

2

  1. Install a scan tool.
  2. Turn ON the ignition, with the engine OFF.
  3. With a scan tool, observe the Belt Tower Up parameter in the Memory Seat Module (MSM) data list.

Does the scan tool display Inactive?

--

Go to Step  3

Go to Step  4

3

  1. Activate the belt tower UP switch.
  2. With a scan tool, observe the Belt Tower Up parameter.

Does the Belt Tower up parameter change state?

--

Go to Step  10

Go to Step  4

4

  1. Turn OFF the ignition.
  2. Disconnect the seat switch harness connector.
  3. Turn ON the ignition, with the engine OFF.
  4. With a scan tool, observe the Belt Tower Up parameter.

Does the scan tool display Inactive?

--

Go to Step  7

Go to Step  5

5

Test the belt tower up input circuit for a short to voltage. Refer to Circuit Testing and Wiring Repairs in Wiring Systems.

Did you find and correct the condition?

--

Go to Step  10

Go to Step  6

6

Inspect for poor connections at the harness connector of the memory seat module. Refer to Testing for Intermittent Conditions and Poor Connections and Connector Repairs in Wiring Systems.

Did you find and correct the condition?

--

Go to Step  10

Go to Step  8

7

Inspect for poor connections at the harness connector of the seat switch assembly. Refer to Testing for Intermittent Conditions and Poor Connections and Connector Repairs in Wiring Systems.

Did you find and correct the condition?

--

Go to Step  10

Go to Step  9

8

Replace the memory seat module. Refer to Memory Seat Control Module Replacement .

Did you complete the replacement?

--

Go to Step  10

--

9

Replace the seat switch assembly. Refer to Power Seat Switch Replacement .

Did you complete the replacement?

--

Go to Step  10

--

10

  1. Use the scan tool in order to clear the DTCs.
  2. Operate the vehicle within the Conditions for Running the DTC as specified in the supporting text.

Does the DTC reset?

--

Go to Step  2

System OK