GM Service Manual Online
For 1990-2009 cars only

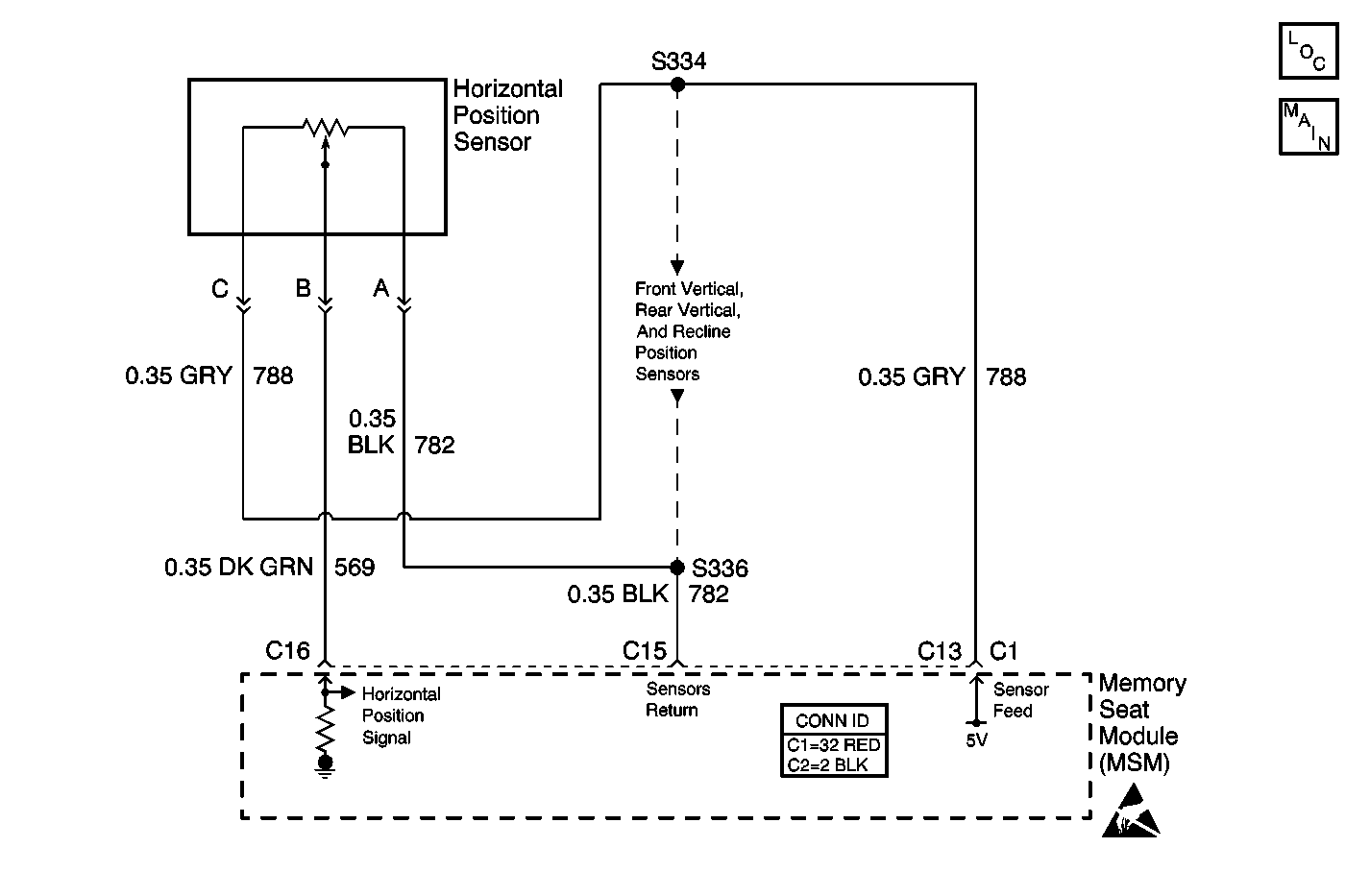
Object Number: 582911  Size: MF
Power Seat Systems Components
Memory Seats Schematics: LH Seat Motors
Handling ESD Sensitive Parts Notice

Circuit Description

The sensor that sets this diagnostic trouble code (DTC) is attached to the seat direction motor it monitors. The sensor is a potentiometer whose supply and ground are portions of the sensor 5 V supply bus and the ground bus provided by the memory seat module (MSM). The sensor analog output signal is wired directly to the MSM. The MSM checks the signal to determine seat motor position.

Conditions for Running the DTC

The MSM must be powered and can not have B1327-Battery Voltage Low set as an active DTC for this DTC to set.

Conditions for Setting the DTC

If the MSM sees the analog input from this sensor as either lower than 0.25 V or higher than 4.75 V during one cycle of checking the MSM inputs, the MSM sets this DTC.

Action Taken When the DTC Sets

The MSM disables the memory recall and easy exit/entry actuation commands of the motor monitored by the sensor. The motor will respond to manual actuation commands.

Conditions for Clearing the DTC

The MSM will clear the DTC as an active malfunction when the MSM sees the analog input from this sensor as between 0.25 V and 4.75 V during one cycle of checking the MSM inputs.

Diagnostic Aids

The position sensors use a common ground and common sensor return circuit.

Test Description

The numbers below refer to the step numbers on the diagnostic table.

  1. This tests checks for proper reference voltage to the suspect position sensor.

Step

Action

Value(s)

Yes

No

1

Did you perform the Diagnostic System Check - Power Seat Systems?

--

Go to Step  2

Go to Diagnostic System Check - Power Seat Systems

2

  1. Disconnect the position sensor for which the MSM DTC has set.
  2. Measure the voltage between the 5 volt reference circuit of the sensor and the ground circuit of the sensor.

Does the voltage measure within the specified range?

4.6-5.2 V

Go to Step  3

Go to Step  4

3

Test the signal circuit of the sensor for a short to ground, high resistance, or an open. Refer to Circuit Testing and Wiring Repairs in Wiring Systems.

Did you find and correct the condition?

 

Go to Step 10

Go to Step  6

4

Test the 5 volt reference circuit of the sensor for a high resistance or an open. Refer to Circuit Testing and Wiring Repairs in Wiring Systems.

Did you find and correct the condition?

 

Go to Step 10

Go to Step  5

5

Test the sensor return circuit of the sensor for a high resistance or an open. Refer to Circuit Testing and Wiring Repairs in Wiring Systems.

Did you find and correct the condition?

 

Go to Step 10

Go to Step  7

6

Inspect for poor connections at the harness connector of the sensor. Refer to Testing for Intermittent Conditions and Poor Connections and Connector Repairs in Wiring Systems.

Did you find and correct the condition?

--

Go to Step 10

Go to Step  8

7

Inspect for poor connections at the harness connector of the memory seat module. Refer to Testing for Intermittent Conditions and Poor Connections and Connector Repairs in Wiring Systems.

Did you find and correct the condition?

--

Go to Step 10

Go to Step  9

8

Replace the recline sensor. Refer to Seat Adjuster Motor Replacement - Horizontal .

Did you complete the replacement?

--

Go to Step 10

--

9

Replace the memory seat module. Refer to Memory Seat Control Module Replacement .

Did you complete the replacement?

--

Go to Step 10

--

10

  1. Use the scan tool in order to clear the DTCs.
  2. Operate the vehicle within the Conditions for Running the DTC as specified in the supporting text.

Does the DTC reset?

--

Go to Step  2

System OK