GM Service Manual Online
For 1990-2009 cars only

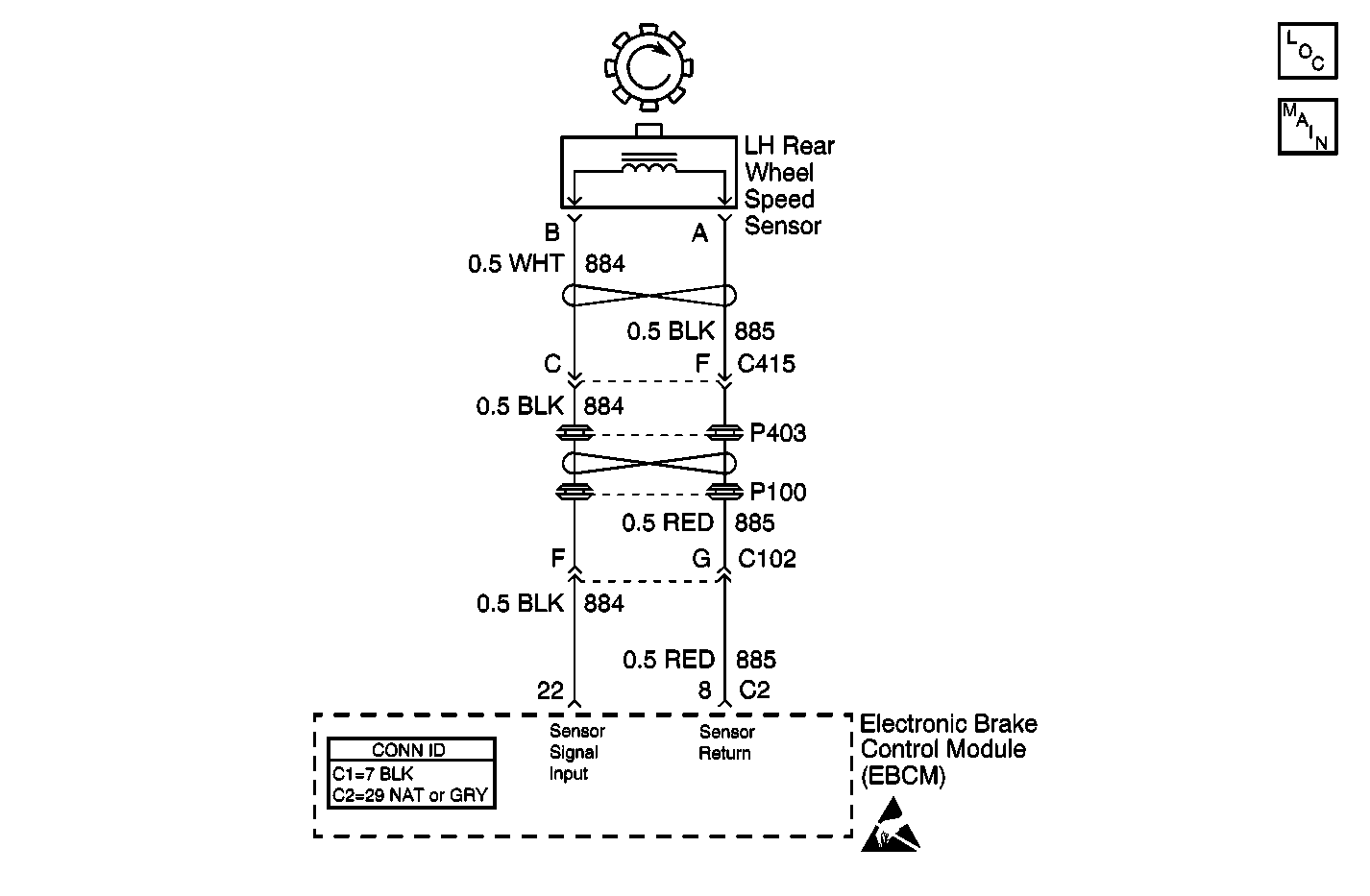
Object Number: 537990  Size: MF
ABS Components
Wheel Speed Sensors
Handling ESD Sensitive Parts Notice

Circuit Description

As the wheel spins, the wheel speed sensor produces an AC signal. The electronic brake control module (EBCM) uses the frequency of the AC signal to calculate the wheel speed.

Conditions for Running the DTC

    • DTCs C1232-C1235 are not set.
    • The brake pedal is not pressed.
    • The ABS is not active.

Conditions for Setting the DTC

The EBCM detects a rapid variation in the wheel speed. The wheel speed changes by 16 km/h (10 mph) or more in 0.01 second. The change must occur 3 times with no more than 0.2 seconds between occurrences.

Action Taken When the DTC Sets

If equipped, the following actions occur:

    • The EBCM disables the ABS/TCS/VSES for the duration of the ignition cycle.
    • The EBCM temporarily suspends the TIM monitoring function while the DTC is set.
    • The DRP does not function optimally.
    • The ABS indicator turns ON.
    • The TRAC OFF indicator turns ON.
    • The DIC displays the SERVICE STABILITY SYSTEM message.

Conditions for Clearing the DTC

    • The condition for the DTC is no longer present and the DTC is cleared with a scan tool.
    • The electronic brake control module (EBCM) automatically clears the history DTC when a current DTC is not detected in 100 consecutive drive cycles.

Diagnostic Aids

A possible cause of this DTC is electrical noise on the wheel speed sensor harness wiring. Electrical noise could result from the wheel speed sensor wires being routed to close to high energy ignition system components, such as spark plug wires.

Test Description

The numbers below refer to the step numbers on the diagnostic table.

  1. This step measures the resistance of the wheel speed sensor.

  2. This step tests whether the wheel speed sensor circuits are shorted together.

Step

Action

Value(s)

Yes

No

1

Did you perform the ABS Diagnostic System Check?

--

Go to Step 2

Go to Diagnostic System Check - ABS

2

  1. Install a scan tool.
  2. Carefully drive the vehicle at a speed greater than 8 km/h (5 mph).
  3. With a scan tool, observe all of the Wheel Speed parameters in the DRP/ABS/TCS/TIM data list.

Does the scan tool indicate the suspect wheel varies from the speeds of the other wheels?

--

Go to Step 3

Go to Diagnostic Aids

3

  1. Turn OFF the ignition.
  2. Disconnect the wheel speed sensor connector.
  3. Measure the resistance across the wheel speed sensor.

Does the resistance measure within the specified range?

850-1350 ohms

Go to Step 4

Go to Step 8

4

  1. By hand, spin the wheel.
  2. Measure the AC voltage across the wheel speed sensor.

Does the AC voltage measure greater than the specified value?

100 mV

Go to Step 5

Go to Step 8

5

Inspect for poor connections at the harness connector of the wheel speed sensor. Refer to Testing for Intermittent Conditions and Poor Connections and Connector Repairs in Wiring Systems.

Did you find and correct the condition?

--

Go to Step 10

Go to Step 6

6

    Important: If equipped with TIM, removing battery voltage or ground from the EBCM will result in the following conditions.

       • Loss of the TIM learned tire inflation configuration parameters
       • Set DTC C1245 Low Tire Pressure Detected
    When the diagnosis is complete, inspect the tire pressures and perform the TIM reset. Refer to Tire Inflation Monitor Resetting in Tire Pressure Monitoring.

  1. Disconnect the EBCM harness connector.
  2. Install the J 39700 using the J 39700-300 cable adapter to the EBCM harness connector only.
  3. Test the wheel speed signal circuit for a short to the wheel speed return circuit. Refer to Circuit Testing and Wiring Repairs in Wiring Systems.

Did you find and correct the condition?

--

Go to Step 10

Go to Step 7

7

Inspect for poor connections at the harness connector of the EBCM. Refer to Testing for Intermittent Conditions and Poor Connections and Connector Repairs in Wiring Systems.

Did you find and correct the condition?

--

Go to Step 10

Go to Step 9

8

Replace the wheel speed sensor. Refer to Wheel Speed Sensor Replacement .

Did you complete the repair?

--

Go to Step 10

--

9

Important: Perform the setup procedure for the EBCM. An unprogrammed EBCM will result in the following conditions:

   • Inoperative or poorly functioning DRP/ABS/TCS/VSES/VES/TIM (if equipped)
   • Set DTC C1248 EBCM Turned the Red Brake Warning Indicator On
   • Set DTC C1255m3 EBCM Internal Malfunction

Replace the EBCM. Refer to Electronic Brake Control Module Replacement .

Did you complete the repair?

--

Go to Step 10

--

10

  1. Use the scan tool in order to clear the DTCs.
  2. Operate the vehicle within the Conditions for Running the DTC as specified in the supporting text.

Does the DTC reset?

--

Go to Step 2

System OK