GM Service Manual Online
For 1990-2009 cars only

Tools Required

    • J 38185 Hose Clamp Pliers
    • J 39400-A Halogen Leak Detector
    • J 37097-A Heater Hose Clamp Tool

Removal Procedure

  1. Recover the refrigerant. Refer to Refrigerant Recovery and Recharging .
  2. Drain the engine coolant. Refer to Cooling System Draining and Filling in Engine Cooling.

  3. Object Number: 247113  Size: SH
  4. Remove the accumulator and evaporator tube nut.

  5. Object Number: 247119  Size: SH
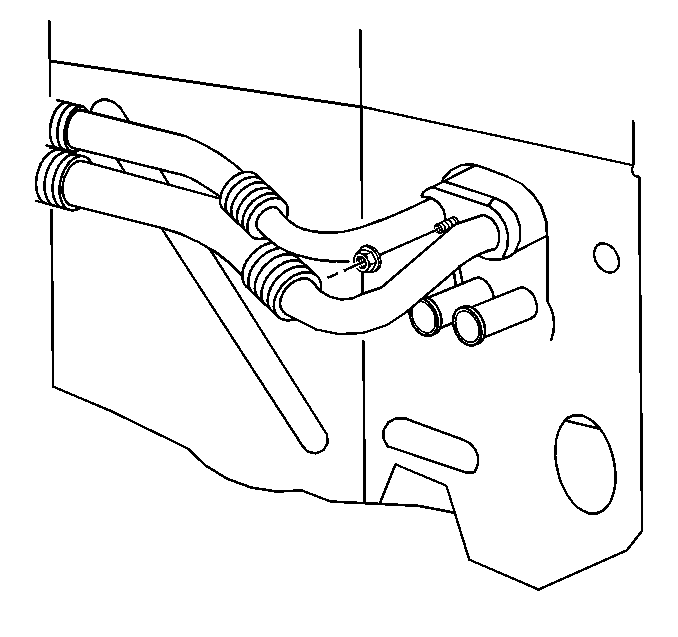
  6. Disconnect the hose connections from the evaporator.

  7. Object Number: 247330  Size: SH
  8. Remove the heater hoses from the heater core using the J 37097-A .
  9. Plug the heater core and evaporator openings to prevent leaking into the vehicle when removing the HVAC module assembly.
  10. Remove the IP assembly. Refer to Instrument Panel Assembly Replacement in Instrument Panel, Gages and Console.

  11. Object Number: 247125  Size: SH
  12. Remove the defroster duct screws.
  13. Remove the defroster duct.

  14. Object Number: 247127  Size: SH
  15. Disconnect the blower control module (1) electrical connector.
  16. Disconnect the instrument panel to HVAC harness connector.

  17. Object Number: 247142  Size: SH
  18. Remove the HVAC module retaining nuts (1-5).
  19. Remove the HVAC module assembly.

Installation Procedure


    Object Number: 247142  Size: SH
  1. Install the HVAC module assembly.
  2. Notice: Use the correct fastener in the correct location. Replacement fasteners must be the correct part number for that application. Fasteners requiring replacement or fasteners requiring the use of thread locking compound or sealant are identified in the service procedure. Do not use paints, lubricants, or corrosion inhibitors on fasteners or fastener joint surfaces unless specified. These coatings affect fastener torque and joint clamping force and may damage the fastener. Use the correct tightening sequence and specifications when installing fasteners in order to avoid damage to parts and systems.

  3. Install the HVAC module nuts to the dash (1-5). Refer to the illustration for the HVAC module fastener torque sequence.
  4. Tighten
    Tighten the nuts to 9 N·m (80 lb in).


    Object Number: 247127  Size: SH
  5. Connect the blower control module (1) electrical connector.
  6. Connect the instrument panel to HVAC module electrical connector.
  7. Install the defroster duct.

  8. Object Number: 247125  Size: SH
  9. Install the module mounting screws.
  10. Tighten
    Tighten the screws to 2.5 N·m (23 lb in).

  11. Install the defroster duct to front of dash mounting nut.
  12. Tighten
    Tighten the nut to 9 N·m (65 lb in).

  13. Install the IP assembly. Refer to Instrument Panel Assembly Replacement in Instrument Panel Gages and Console.

  14. Object Number: 247330  Size: SH
  15. Connect the heater hoses to the heater core using the J 38185 .

  16. Object Number: 247119  Size: SH
  17. Connect the evaporator and accumulator tube connections to the evaporator.

  18. Object Number: 247113  Size: SH
  19. Install the evaporator tube nut.
  20. Tighten
    Tighten the nut to 24 N·m (18 lb ft).

  21. Evacuate and recharge the A/C system. Refer to Refrigerant Recovery and Recharging .
  22. Leak test the component fittings using theJ 39400-A .
  23. Refill the engine coolant. Refer to Cooling System Draining and Filling in Engine Cooling.