GM Service Manual Online
For 1990-2009 cars only

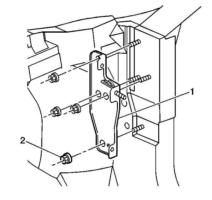
Removal Procedure

  1. Remove the IP assembly. Refer to Instrument Panel Assembly Replacement .

  2. Object Number: 262586  Size: SH
  3. Remove the fasteners (2) from the right IP end bracket (1) to the A-pillar.
  4. Remove the right IP end bracket (1).

Installation Procedure


    Object Number: 262586  Size: SH
  1. Install the right IP end bracket (1) to the A-pillar.
  2. Notice: Use the correct fastener in the correct location. Replacement fasteners must be the correct part number for that application. Fasteners requiring replacement or fasteners requiring the use of thread locking compound or sealant are identified in the service procedure. Do not use paints, lubricants, or corrosion inhibitors on fasteners or fastener joint surfaces unless specified. These coatings affect fastener torque and joint clamping force and may damage the fastener. Use the correct tightening sequence and specifications when installing fasteners in order to avoid damage to parts and systems.

  3. Install the fasteners (2) to the right IP end bracket (1).
  4. Tighten
    Tighten the fasteners to 55 N·m (41 lb ft).

  5. Install the IP assembly. Refer to Instrument Panel Assembly Replacement .