GM Service Manual Online
For 1990-2009 cars only

Removal Procedure

  1. Remove the seat assembly. Refer to Seat Replacement .
  2. Place the seat upside down on a clean protected surface.

  3. Object Number: 258236  Size: SH
  4. Remove the fasteners from the memory seat module bracket (if equipped).
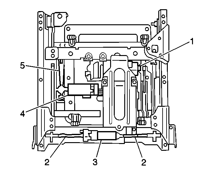
  5. Disconnect the electrical connector.
  6. Remove the motor mounting screws.
  7. Remove the adjuster motor (3) and drive cables (2) from the actuators.
  8. Remove the drive cables (2) from the adjuster motor.

Installation Procedure


    Object Number: 258236  Size: SH
  1. Install the drive cables (2) to the motor (3) and insert into the actuators.
  2. Notice: Refer to Fastener Notice in the Preface section.

  3. Install the motor retaining screws.
  4. Tighten
    Tighten the fasteners to 10 N·m (89 lb in).

  5. Connect the electrical connector.
  6. Install the memory seat module, if equipped.
  7. Install the seat assembly. Refer to Seat Replacement .
  8. If the vehicle is equipped with memory seats, calibrate the seat. Refer to Memory Seat Calibration .