GM Service Manual Online
For 1990-2009 cars only

Key Identification and Usage


Object Number: 793164  Size: SH

The keys are double sided and reversible. The master key and valet key contain transponders that are read by the theft deterrent system when the keys are used in the ignition. The keys have 10 cut positions (1) with five different depths (2).

The keys that are furnished with the vehicle are:

    • The master key, which contains a transponder (3)
        This key will operate all of the locks on the vehicle.
    • The valet key, which contains a transponder (3)
        This key will operate the front door locks and the ignition lock only.
    • The emergency key, which does not contain a transponder
        This key will operate the door locks, rear compartment lock and the IP storage compartment lock only. This key is intended for emergency use only.

Cutting Keys


Object Number: 793164  Size: SH

The key code can be obtained from the four digit number on the key tag that accompanies the original master and valet keys. The five digit key code cross references to the cut and tumbler sequence. The keys have 10 key cut positions (1) and five key cut depths (2). Key cut positions are numbered 1-10, counting from the head of the key to the tip. The key cut depths are 1-5, cut depth number 1 is the deepest cut. The key transponder (3) in the master and valet key must be programmed to the vehicle. Refer to Programming Theft Deterrent System Components .

  1. Cut a blank key to the proper depth and sequence of each of the tumbler positions.
  2. Inspect the mechanical operation of the key in the lock cylinders in the doors, the ignition switch, the rear compartment lid and any storage compartments:
  3. With each side of the key pointing up inside the lock, inspect the operation of the lock in both directions.

    • Turn the key both directions in each lock cylinder.
    • Turn the key with each side of the key pointing upward in each lock cylinder.
  4. If replacing a master or valet key, program the key transponder to the vehicle. Refer to Programming Theft Deterrent System Components .

Lock Cylinder Tumbler Operation

Each of the four cut depths on the key has corresponding tumblers sometimes referred to as plates or wafers. The tumbler depth number is stamped on the tumblers for identification. The IP storage compartment and the rear compartment lid release lock cylinder also require a retainer tumbler. The retainer tumbler is not moved by the key, its function is to retain the IP storage compartment lock cylinder in the lock assembly.

Ignition Lock Cylinder Coding

Tools Required

J 41340 Lock Cylinder Staking and Holding Fixture

Important: If the original ignition lock cylinder is being RECORDED, proceed to Step 1. If the ignition lock cylinder is being REPLACED with a new ignition lock cylinder, proceed to Step 2.

  1. Remove the ignition lock cylinder core from the ignition lock cylinder housing.
  2. 1.1. Insert the key into the ignition lock cylinder.
    1.2. Rotate the lock cylinder core to START.
    1.3. Press the lock cylinder core retainer located in the end of the ignition lock cylinder.
    1.4. Pull the ignition lock cylinder core out of the lock cylinder housing using the key.
  3. Pry the tumbler spring retainer out of the ignition lock cylinder core using a small flat-bladed tool.
  4. Remove all of the tumbler springs.
  5. Important: Be careful to observe and record each tumbler and its relative position in the lock cylinder core as the tumblers are removed.

  6. Remove all of the tumblers by rotating the lock cylinder so that the tumbler slots are facing down.
  7. Hold the lock cylinder core close to a flat surface.
  8. Pull the lock cylinder core side bar out with your fingers. It may be necessary to tap the lock cylinder on a hard surface to remove all of the tumblers.

  9. Object Number: 793168  Size: SH
  10. Determine the tumbler numbers and their respective positions.
  11. 7.1. Place the tip of the key directly over the tip of the illustrated key paper version only.
    7.2. Inspect that the diagram outlines the key.
    7.3. Starting with position 1 the open end of the lock cylinder, find and record the lowest level tumbler number that is visible.
    7.4. Repeat the previous step for positions 2-10.

    Object Number: 65498  Size: SH
  12. Starting with position 1, insert the tumblers (4) into their corresponding slots in the coded order.
  13. Using your fingers, pull out the side bar (3) until the tumblers fall completely into the lock cylinder core.
  14. Insert 1 tumbler spring (2) above each tumbler (4).
  15. Lubricate the tumblers using Superlube ® GM P/N 12346241 or equivalent.
  16. Insert the spring retainer (1) prongs into their respective slots in the lock cylinder core.

  17. Object Number: 65499  Size: SH
  18. Press the retainer (1) down until the retainer is fully seated in the lock cylinder core.

  19. Object Number: 65501  Size: SH
  20. Inspect for proper tumbler installation:
  21. 14.1. Hold the spring retainer (2) in position.
    14.2. Insert the key (1) into the lock cylinder. The side bar (3) should drop down to the level of the lock cylinder core. If the side bar does NOT drop down to the level of the lock cylinder core, proceed to Step 2.
  22. Remove the key from the lock cylinder core.

  23. Object Number: 65502  Size: SH
  24. Secure the lock cylinder in the J 41340 .
  25. 16.1. Inspect that the spring retainer is facing up and positioned directly under the punch slots.
    16.2. Push the lock cylinder into the J 41340 until butted with the lock cylinder bezel.
    16.3. Tighten the J 41340 holding screw.

    Object Number: 65503  Size: SH
  26. Stake the bezel end of the spring retainer:
  27. 17.1. Hold the flat side of the punch, part of J 41340 , squarely against the face of the lock cylinder bezel.
    17.2. Stake the lock cylinder metal over the spring retainer prong.

    Object Number: 65504  Size: SH
  28. Stake the opposite end of the spring retainer:
  29. 18.1. Remove the J 41340 punch.
    18.2. Rotate the J 41340 punch 180 degrees.
    18.3. Hold the J 41340 punch squarely against the end of the punch slot on J 41340 .
    18.4. Stake the lock cylinder metal over the spring retainer prong.

    Object Number: 65505  Size: SH
  30. Loosen the J 41340 holding screw.
  31. Remove the lock cylinder from the J 41340 .
  32. Inspect that the spring retainer is properly staked. Repeat staking as needed.
  33. Lubricate the lock cylinder core retainer slot.
  34. Insert the following parts into the lock cylinder core retainer slot:
  35. • The lock cylinder retainer spring (2)
    • The lock cylinder retainer (3)

    Important: Use a paste type grease, not a spray, for the following step.

  36. Lubricate the following parts with GM P/N 12345996 or equivalent:
  37. • The lock cylinder housing detent pins (1)
    • The lock cylinder retainer (3)
  38. Orientate the lock cylinder retainer to the tapered notch in the lock cylinder housing.
  39. Insert the ignition lock cylinder into the ignition lock cylinder housing.
  40. Inspect for proper ignition lock cylinder rotation using the key.

Assembling and Coding Door Lock Cylinder

The door lock cylinder only uses 7 of the 10 cut positions, 3 through 9. The tumbler positions are staggered from side to side 4 on one side and 3 on the other. The left and right door lock cylinders are identical. The lock pawl determines which side of the vehicle the lock cylinder is on.


    Object Number: 337398  Size: LH

    Important: The door lock cylinder tumblers are not self-retaining. Hold the tumblers in place when the key is not in the lock cylinder. Hold the lock tumblers (12) in place when performing the next steps.

  1. Hold the cylinder (5) so that the side with four tumbler spring wells faces up.
  2. Insert tumbler springs (11) into the 4 spring wells.
  3. Install the tumbler for key cut position 3 in the slot nearest to the front of the lock cylinder.
  4. Install the 3 remaining tumblers, key cut positions 5, 7 and 9, on this side of the lock cylinder.
  5. Snap the tumblers into place with light hand pressure.
  6. Check for correct loading of the tumblers (12) by inserting the key into cylinder (5). All of the tumblers should be flush with the lock cylinder.
  7. Turn the cylinder (5) so that the side with 3 tumbler spring wells faces up.
  8. Insert the tumbler springs (11) into the 3 spring wells.
  9. Install the tumbler for key cut position 4 into the slot nearest the front of the lock cylinder.
  10. Install the 2 remaining tumblers for key cut positions 6 and 8 on this side of the lock cylinder.
  11. Snap the tumblers into place with light hand pressure.
  12. Check for correct loading of the tumblers (12) by inserting the key into cylinder (5). All of the tumblers should be flush with the lock cylinder.
  13. Lightly lubricate the tumbler (12) surfaces using the provided lubrication.
  14. Install the 2 plate springs (6) into the 2 spring wells in the head of the door lock cylinder (5).
  15. Snap the shutter assembly (8) onto the cylinder.
  16. Insert the key into the lock cylinder.
  17. Place the detent spring (10) into the spring well located on the side of the lock cylinder (5).
  18. Carefully place the detent ball (9) on the detent spring (10).
  19. Caution: Wear safety glasses in order to avoid eye damage.

  20. Depress the detent ball and spring and insert the cylinder (5) into the cylinder housing (4).
  21. Install the lock pawl (3).
  22. Install the lock pawl E-clip (2) to retain the lock pawl.
  23. Remove the key from the lock cylinder (5).
  24. Install the lock cylinder cap (7) by aligning the notch in the cap with the large drain slot in the lock housing (4).
  25. Press the cap into place with light hand pressure.

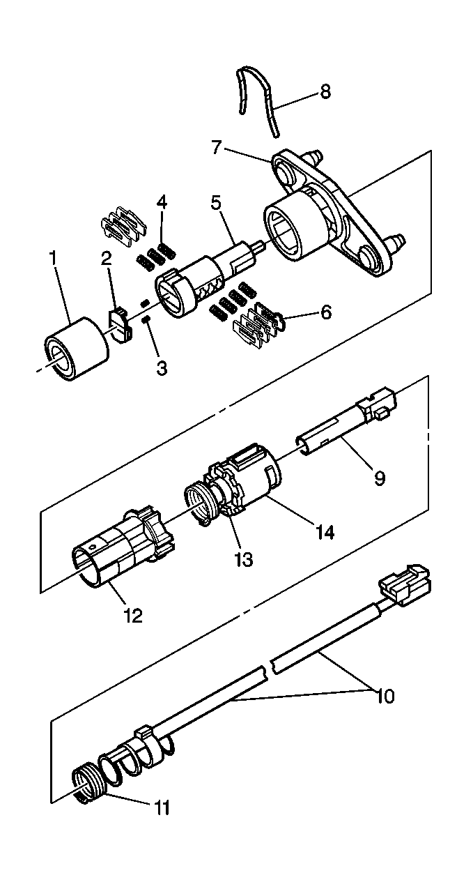
Assembling and Coding Rear Compartment Lid Lock

The rear compartment lock cylinder only uses 7 of the 10 cut positions, 3 through 9. The tumbler positions are staggered from side to side (4 on one side and 3 on the other).


    Object Number: 337407  Size: LH
  1. Hold the cylinder (5) so that the side with four tumbler spring wells faces up.
  2. Insert the tumbler springs (4) into the four spring wells.
  3. Insert the tumbler (6) for key cut position 3 into the slot nearest to the front of the lock cylinder.
  4. Install the three remaining tumblers, key cut positions 5, 7 and 9, on this side of the lock cylinder.
  5. Snap the tumblers into place with light hand pressure.
  6. Check for correct loading of the tumblers (6) by inserting the key into cylinder (5). All of the tumblers should be flush with the lock cylinder.
  7. Turn the cylinder (5) so that the side with 3 tumbler spring wells faces up.
  8. Insert the tumbler springs (4) into the 3 spring wells.
  9. Install the tumbler (6) for key cut position 4 into the slot nearest to the front of the lock cylinder.
  10. Install the 2 remaining tumblers, key cut positions 6 and 8, on this side of the lock cylinder.
  11. Snap the tumblers into place with light hand pressure.
  12. Inspect for the correct loading of the tumblers (6) by inserting the key into the cylinder (5). All of the tumblers should be flush with the lock cylinder.
  13. Lightly lubricate the tumbler (6) surfaces using the provided lubrication.
  14. Important: The key must be in the lock cylinder (5) when performing this step.

  15. Install the lock cylinder (5) into lock cylinder housing (12).
  16. Rotate the lock cylinder (5) counter clock-wise until it stops.
  17. Remove the key from the lock cylinder (5).
  18. Insert 2 plate springs (3) into the spring wells in the head of the lock cylinder (5).
  19. Line up the shutter pins with the pin pockets and snap shutter (2) onto the lock cylinder (5), by pressing on the face of the shutter with light hand pressure.
  20. Note the position of the 2 dimples on the side of the lock cylinder housing.
  21. Align the cut-out on dust cover (1) with widest lug on the lock cylinder housing (12).
  22. Install the dust cover (1) over head of the lock cylinder housing (12).
  23. Using a small punch or drift, stake the dust cover (1) onto the lock cylinder housing (12) at the two dimples on the side of the lock cylinder.
  24. Align the widest slot on the lock cylinder housing (12) with the widest rib in the inside diameter of the base (7).
  25. Install the cylinder and housing (12) into the back of the base assembly (7).
  26. Use thumb pressure, as necessary.

  27. Install the compression spring (13) into the back of the base assembly (7)
  28. Assemble the torsion spring (11) onto the lock cylinder shaft (9).
  29. Slide the torsion spring (11) toward the large end of the shaft (9) with the interior leg of the spring facing the larger end of the shaft.
  30. Align the ribs on the inner surface of the switch (10) bore with the grooves on the shaft (9).
  31. Install the shaft (9) through the switch (10) to the following position:
  32. • The wires on the switch (10) face the large end of the shaft (9).
    • The large groove on the shaft (9) is 180 degrees from the switch wires (10).
  33. Install switch and shaft (1, 3) into the rear of the retainer (14).
  34. Looking at the large end of shaft (9), rotate shaft counter clock-wise until it stops.
  35. Align the retainer (14) to the base (7).
  36. Align the wide slot on the retainer to the widest rib on the inner surface of the base.

  37. Push the retainer (14) inward, while turning the key in order to align the shaft (9).
  38. Push in the retainer (14) to compress spring  (13).
  39. Turn the retainer (14) approximately 1/8 turn counter-clockwise.

  40. Engage the torsion spring (11) onto the lug on the retainer (14).
  41. Install the retainer clip (8) onto the base (7).
  42. Install the gasket onto the base (7).
  43. Inspect the operation of the lock assembly. The torsion spring (11) should provide a counterclockwise snap back.

Assembling and Coding IP Storage Compartment Lock Cylinder / Rear Compartment Lid Release Lock Cylinder

The IP storage compartment lock only uses four of the ten cut positions, 7-10 . A retainer tumbler is used in the IP storage compartment lock to retain the lock cylinder in the latch assembly. This retainer tumbler is not moved by the key. The retainer tumbler occupies the slot closest to the head of the IP storage compartment lock cylinder and should come already installed in the cylinder.


    Object Number: 337395  Size: SH
  1. Hold the cylinder (3) so that the side with 4 tumbler spring wells is facing up.
  2. Insert tumbler springs (2) into the 4 spring wells.
  3. Install the tumbler (1) for key cut position 7 into the slot nearest to the front of the lock cylinder.
  4. Install the 3 remaining tumblers, key cut positions 8, 9 and 10, into the cylinder.
  5. Snap the tumblers into place with light hand pressure.
  6. Inspect for the correct loading of the tumblers (1) by inserting the key into cylinder (3). All of the tumblers should be flush with the lock cylinder.