GM Service Manual Online
For 1990-2009 cars only
Makes
🢒
Buick
🢒
2001
🢒
Park Avenue
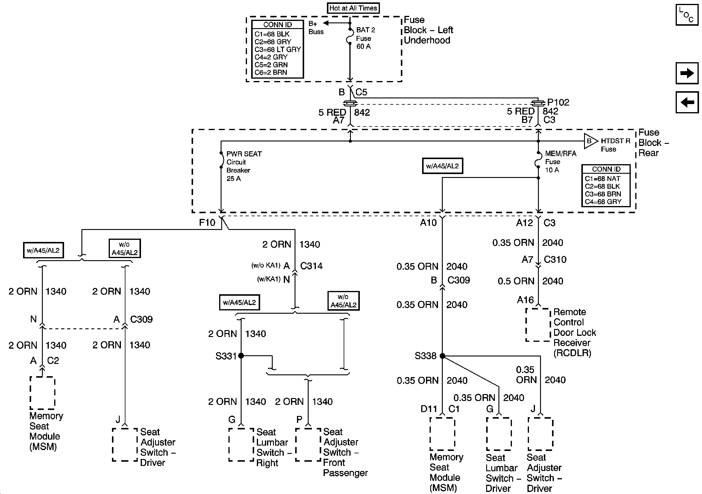
🢒 Underhood Fuse Block- BAT 2 Fuse/ Rear Fuse Block- PWR SEAT and MEM/RFA FUSEs
Underhood Fuse Block- BAT 2 Fuse/ Rear Fuse Block- PWR SEAT and MEM/RFA FUSEs
Underhood Fuse Block- BAT 2 Fuse/ Rear Fuse Block- PWR SEAT and MEM/RFA Fuses
Master Electrical Component List
Rear Fuse Block- HTDST R, C/LTRL, C/LTRR Fuses and ELC Circuit Breaker
IP Fuse Block- WSW/RFA and WSW Fuses
Underhood Fuse Block and Underhood Maxi-Fuse Block
Rear Fuse Block- HTDST R, C/LTRL, C/LTRR Fuses and ELC Circuit Breaker