GM Service Manual Online
For 1990-2009 cars only
Makes
🢒
Buick
🢒
2001
🢒
Park Avenue
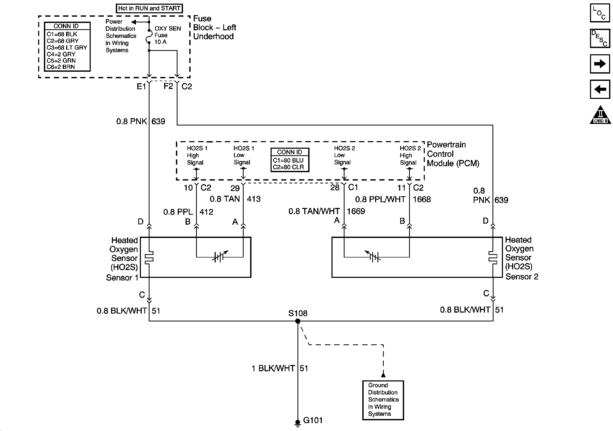
🢒 Heated Oxygen Sensors
Heated Oxygen Sensors
Heated Oxygen Sensors
Master Electrical Component List
Fuel System Description
MAF, IAC and Knock Sensors
Fuel Tank Pressure Sensor and EVAP Vent Valve
OBD II Symbol Description Notice
Underhood Fuse Block, RUN/CRK Fuse and IGN Relay
G100, G101, G102 and G103