GM Service Manual Online
For 1990-2009 cars only
Makes
🢒
Buick
🢒
2001
🢒
Park Avenue
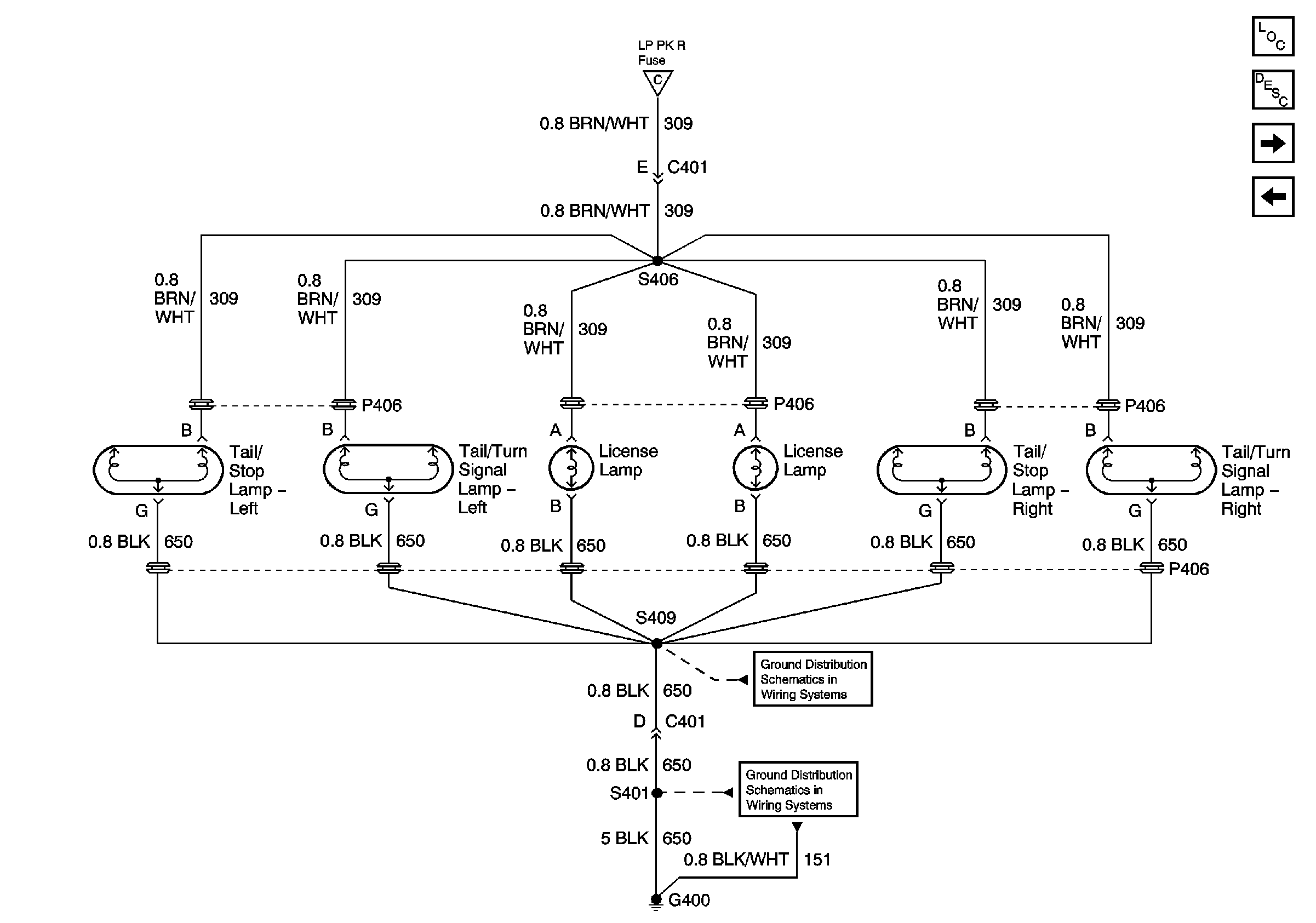
🢒 Rear Compartment Lid Park Lamp
Rear Compartment Lid Park Lamp
Rear Compartment Lid Park Lamp
Master Electrical Component List
Exterior Lighting Systems Description and Operation
Turn Signal/Hazard Switch and Cornering Lamps
RH Park Lamps
RH Park Lamps
Stop Lamps
Stop Lamps
LH Turn Lamps
RH Turn Lamps
G400 (1 of 2)
G400 (1 of 2)