GM Service Manual Online
For 1990-2009 cars only
Makes
🢒
Buick
🢒
2002
🢒
Park Avenue
🢒
Transmission/Transaxle
🢒
Shift Lock Control
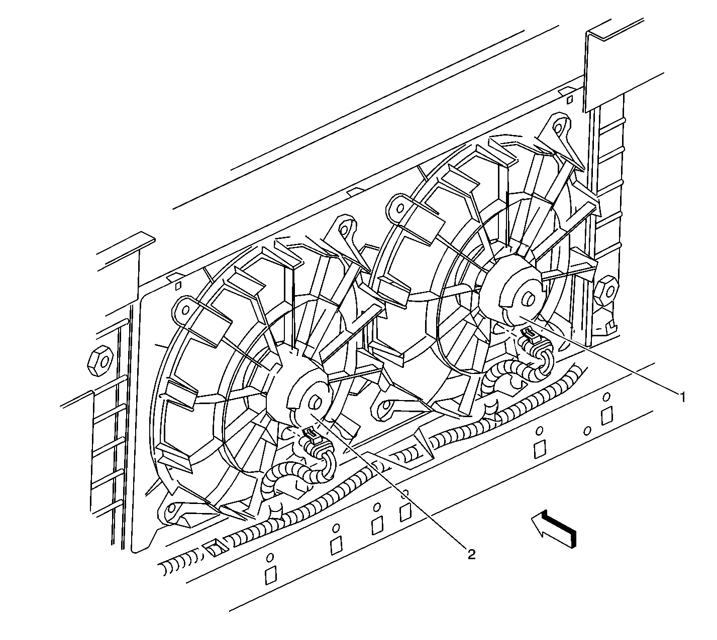
🢒 Cooling System Component Views
Front Center of Engine Compartment
(1)
Cooling Fan-Right
(2)
Cooling Fan-Left