GM Service Manual Online
For 1990-2009 cars only
Makes
🢒
Buick
🢒
2002
🢒
Park Avenue
🢒
Transmission/Transaxle
🢒
Shift Lock Control
🢒 Shift Lock Control Schematics
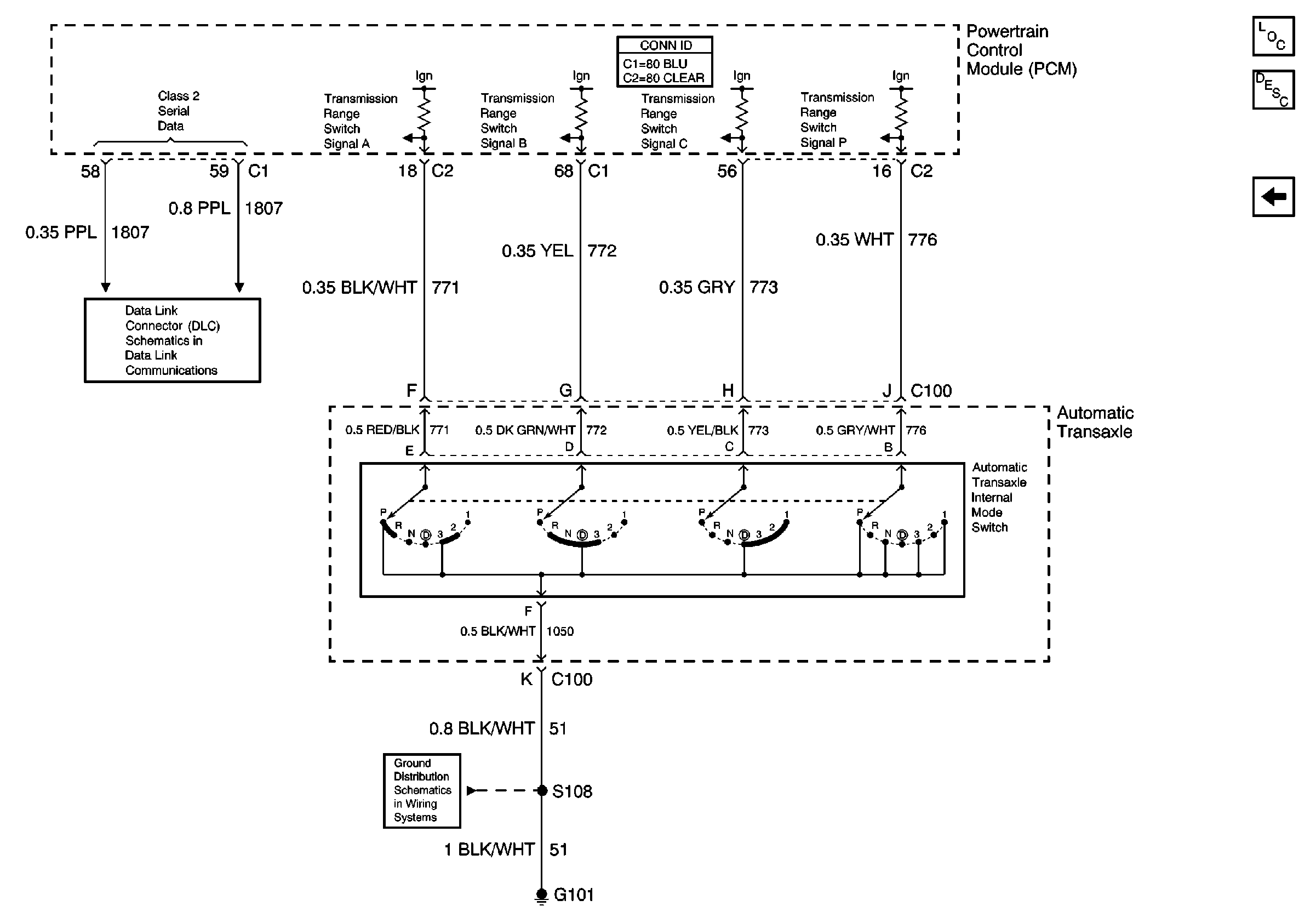
Figure
1:
Auto Trans Shift Lock Control
Master Electrical Component List
Automatic Transmission Shift Lock Control Description and Operation
Automatic Transaxle Internal Mode Switch
Class 2 Serial Data Line
G202 (4 of 4)
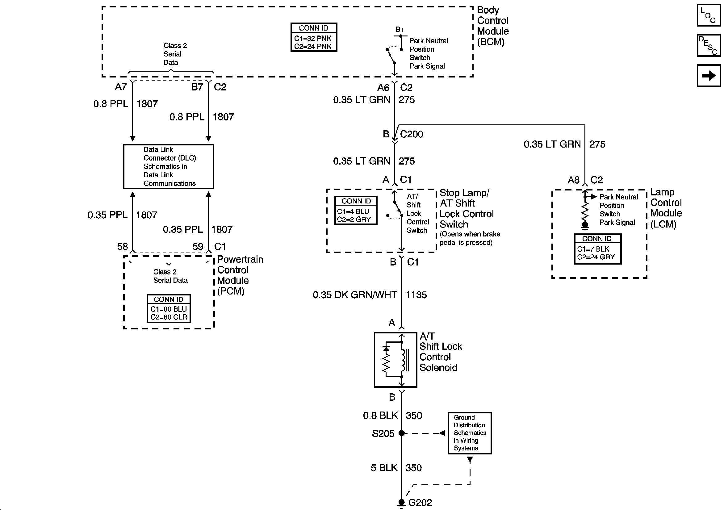
Figure
2:
Automatic Transaxle Internal Mode Switch
Master Electrical Component List
Automatic Transmission Shift Lock Control Description and Operation
Auto Trans Shift Lock Control
Power, Ground and Serial Data Lines
G100, G101, G102 and G103