GM Service Manual Online
For 1990-2009 cars only
Figure 1:

Rear Compartment Lid Release


Object Number: 661224  Size: FS
Master Electrical Component List
Luggage Compartment Description and Operation General
Fuel Door Release
Left Underhood Fuse Block- BAT 1/ Rear Fuse Block- RDM, C/LTR, DDM, HTDST L, TRK REL Fuses and Trunk Lid Release Relay/ IP Fuse Block- PDM, SBM, CSTR/SBM Fuses
Class 2 Serial Data Line
Class 2 Serial Data Line
G201 (2 of 2)
G201 (2 of 2)
G201 (1 of 2)
G201 (1 of 2)
G400 (1 of 2)
Figure 2:

Fuel Door Release


Object Number: 661225  Size: FS
Master Electrical Component List
Fuel Fill Door Description and Operation
Rear Compartment Lid Latch Switch
Rear Compartment Lid Release
Left Underhood Fuse Block- BAT 1/ Rear Fuse Block- RDM, C/LTR, DDM, HTDST L, TRK REL Fuses and Trunk Lid Release Relay/ IP Fuse Block- PDM, SBM, CSTR/SBM Fuses
G201 (1 of 2)
G201 (2 of 2)
G201 (2 of 2)
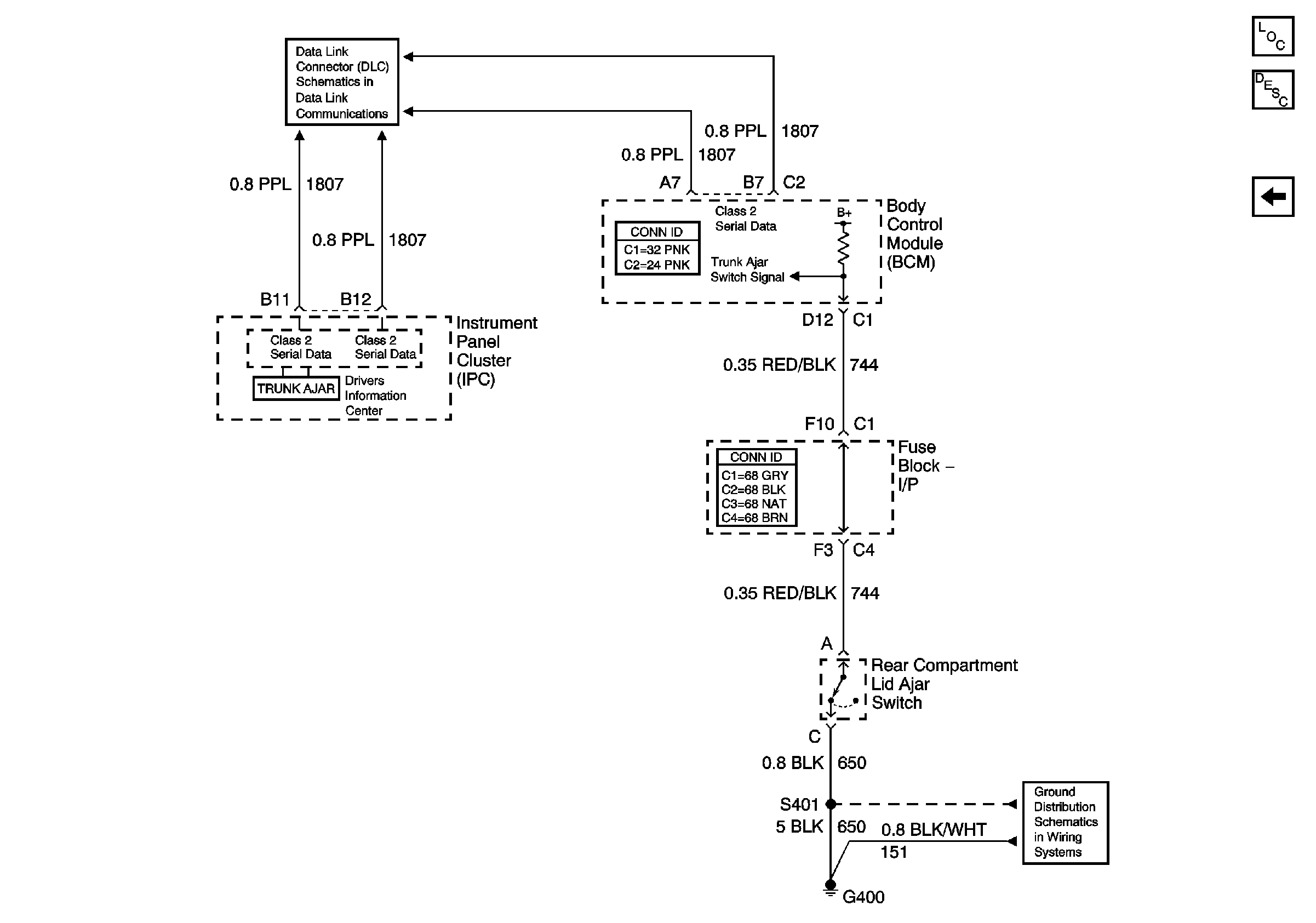
Figure 3:

Rear Compartment Lid Latch Switch


Object Number: 661226  Size: FS
Master Electrical Component List
Luggage Compartment Description and Operation General
Fuel Door Release
Class 2 Serial Data Line
G400 (1 of 2)