GM Service Manual Online
For 1990-2009 cars only

Removal Procedure

  1. Remove the windshield pillar trim panels. Refer to Windshield Pillar Garnish Molding Replacement .

  2. Object Number: 258829  Size: SH

    Notice: If the vehicle is equipped with rear vanity mirrors, the rear vanity mirrors must be removed before the removal of the headliner or damage to the roof may result.

  3. Remove the rear vanity mirrors if equipped. Refer to Vanity Mirror Replacement .
  4. Remove the center pillar trim panels (1). Refer to Center Pillar Garnish Molding Replacement .
  5. Remove the front upper pinch-weld lace.
  6. Remove the rear pinch-weld lace.

  7. Object Number: 258814  Size: SH
  8. Remove the front assist handle (2). Refer to Assist Handle Replacement .

  9. Object Number: 258811  Size: SH
  10. Remove the rear assist handles (2). Refer to Assist Handle and Rear Coat Hook Replacement .

  11. Object Number: 258833  Size: SH
  12. Remove the rear sail panels (2). Refer to Sail Panel Replacement .
  13. Disconnect the harness connector at the sail panel.

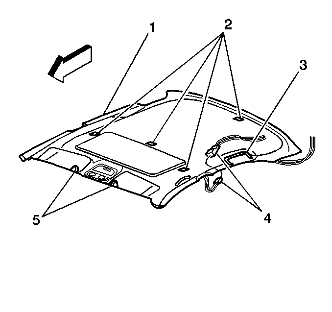
  14. Object Number: 258799  Size: SH
  15. Remove the sunshades (1). Refer to Sunshade Replacement .
  16. Disconnect the electrical connectors.

  17. Object Number: 258810  Size: SH
  18. Remove the following components:
  19. • The map light lens
    • The reflector
  20. Remove the map light bezel.
  21. Disconnect the following components:
  22. • The mirror connector
    • The map light connector
  23. Disconnect the sunroof switch wiring (4) (if equipped).
  24. Remove the passenger front seat. Refer to Driver or Passenger Seat Replacement in Seats.

  25. Object Number: 258773  Size: SH

    Notice: Use care when removing and installing the headliner. If reusing the headliner lay the headliner down flat on a clean surface. Excessive bending will damage the headliner.

    Important: Separate the headliner without a sunroof, from the cardboard sound insulator backing at the four corners.

  26. Remove the headliner (1) through the passenger rear door.

Installation Procedure


    Object Number: 258790  Size: SH

    Notice: If cardboard sound insulator is removed from the roof, reinstall using adhesive. Apply five 6 mm (¼ in) beads of adhesive where it was previously removed.

  1. Apply five 6 mm (¼ in) beads of adhesive to the cardboard sound insulator if the cardboard sound insulator is removed from the roof.

  2. Object Number: 258786  Size: SH

    Notice: Use care when removing and installing the headliner. If reusing the headliner lay the headliner down flat on a clean surface. Excessive bending will damage the headliner.

  3. Install the headliner (2) through the passenger rear door.

  4. Object Number: 258773  Size: SH
  5. Install the sunroof switch wiring (4) (if equipped).
  6. Connect the following components:
  7. • The mirror connector
    • The map light connector
  8. Install the map light bezel.
  9. Install the following components:
  10. • The map light lens
    • The reflector
  11. Install the following components:
  12. • The sunshades (5)
    •  Refer to Sunshade Replacement .
    • The electrical connectors

    Object Number: 258810  Size: SH
  13. Install the rear vanity mirror (1) (if equipped). Refer to Rear Seat Roof Illuminated Mirror Replacement .
  14. Connect the headliner harness connector at the sail panel.

  15. Object Number: 258833  Size: SH
  16. Install the rear sail panels (2). Refer to Sail Panel Replacement .

  17. Object Number: 258811  Size: SH
  18. Install the rear assist handles (5). Refer to Assist Handle and Rear Coat Hook Replacement .

  19. Object Number: 258814  Size: SH
  20. Install the front assist handle (2). Refer to Assist Handle Replacement .
  21. Install the rear pinch-weld lace.
  22. Install the front upper pinch-weld lace.

  23. Object Number: 258829  Size: SH
  24. Install the center pillar trim panels (1). Refer to Center Pillar Garnish Molding Replacement .
  25. Install the windshield pillar trim panels. Refer to Windshield Pillar Garnish Molding Replacement .
  26. Install the passenger front seat. Refer to Driver or Passenger Seat Replacement in Seats.