GM Service Manual Online
For 1990-2009 cars only

Removal Procedure

  1. Remove the door trim panel. Refer to Front Side Door Trim Panel Replacement .

  2. Object Number: 539832  Size: SH
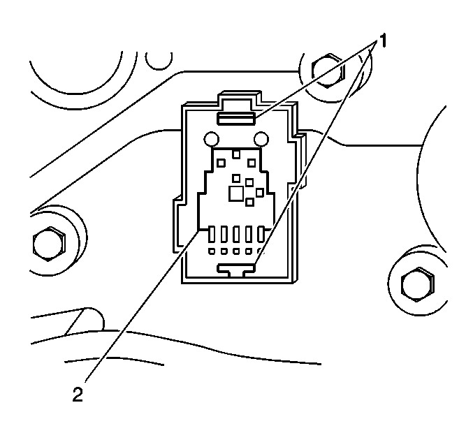
  3. Disconnect the electrical connector.
  4. Spread the locking tabs (1) at the top and bottom of the switch plate (2).
  5. Lift the switch out in order to remove.

Installation Procedure


    Object Number: 539832  Size: SH
  1. Align the switch to the trim panel.
  2. Snap the switch down into the door trim panel.
  3. Ensure the locking tabs (1) are engaged.
  4. Connect the electrical connector.
  5. Install the door trim panel. Refer to Front Side Door Trim Panel Replacement .