GM Service Manual Online
For 1990-2009 cars only

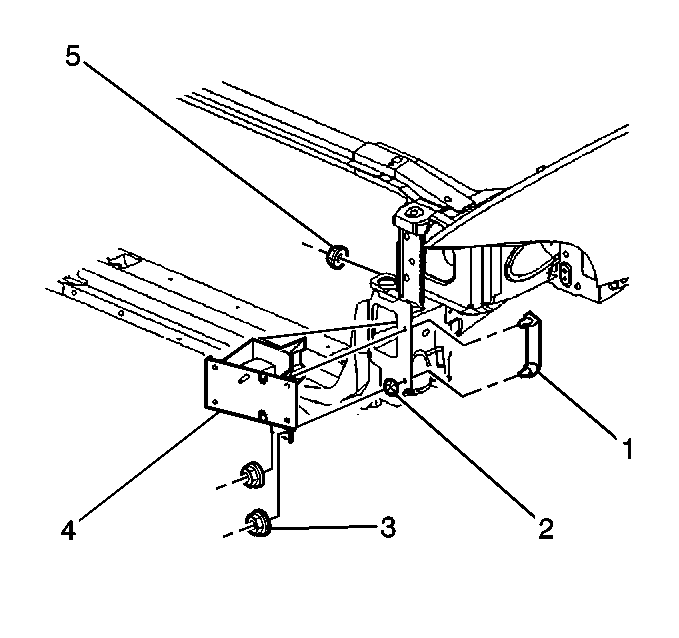
Removal Procedure

  1. Remove the impact bar. Refer to Front Bumper Impact Bar Replacement .

  2. Object Number: 255661  Size: SH
  3. Remove the nuts (3,5) that retain the impact bar mounting bracket (4) to the body.
  4. Remove the impact bar bracket (4).

Installation Procedure


    Object Number: 255661  Size: SH
  1. Position the impact bar mounting bracket (4) to the frame rail.
  2. Notice: Use the correct fastener in the correct location. Replacement fasteners must be the correct part number for that application. Fasteners requiring replacement or fasteners requiring the use of thread locking compound or sealant are identified in the service procedure. Do not use paints, lubricants, or corrosion inhibitors on fasteners or fastener joint surfaces unless specified. These coatings affect fastener torque and joint clamping force and may damage the fastener. Use the correct tightening sequence and specifications when installing fasteners in order to avoid damage to parts and systems.

  3. Install the impact bar mounting bracket retaining nuts (3,5).
  4. Tighten
    Tighten the nuts (3) to 50 N·m (37 lb ft).

  5. Install the impact bar. Refer to Front Bumper Impact Bar Replacement .