GM Service Manual Online
For 1990-2009 cars only

Removal Procedure


    Object Number: 262599  Size: SH
  1. Insert a flat-bladed tool (1) at the rear edge of the access door in order to disengage the lock tab (2).

  2. Object Number: 262601  Size: SH
  3. Disengage the forward tabs (1) from the overhead console.

  4. Object Number: 262602  Size: SH
  5. Disconnect the electrical connectors.
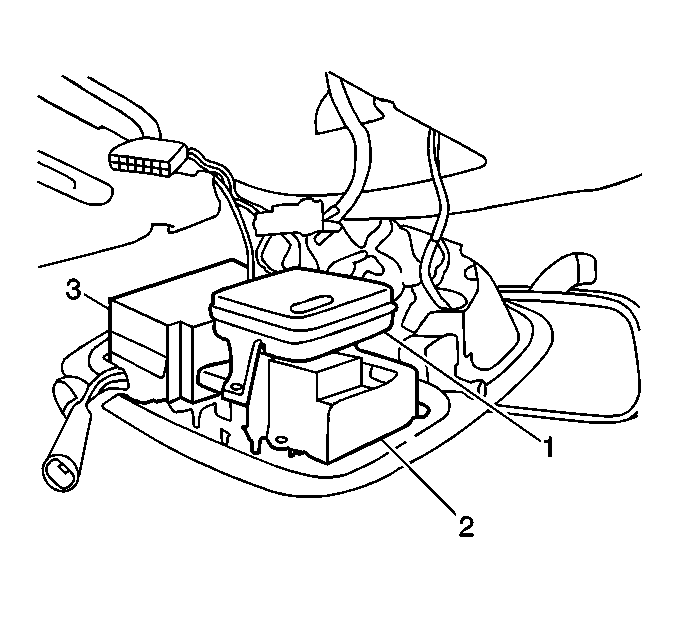
  6. Remove the fasteners from the HUD control switch (1) or the image adjuster switch at the overhead console.

Installation Procedure


    Object Number: 262602  Size: SH
  1. Install the fasteners to the HUD control switch (2) or the image adjuster switch at the overhead console.
  2. Connect the electrical connectors.

  3. Object Number: 262601  Size: SH
  4. Position the access door. Align the rear tabs (1) into the overhead console.
  5. Push upward on the engaging front tab.