GM Service Manual Online
For 1990-2009 cars only
Makes
🢒
Buick
🢒
2002
🢒
Park Avenue
🢒
Body and Accessories
🢒
Wipers/Washer Systems
🢒 Wiper/Washer Schematics
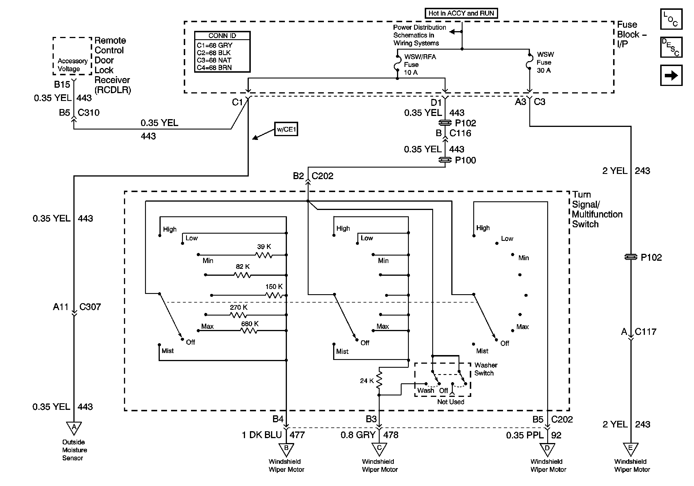
Figure
1:
Turn Signal/Multifunction Switch
Master Electrical Component List
Wiper/Washer System Description and Operation
Windshield Wiper Motor
IP Fuse Block- WSW/RFA and WSW Fuses
Windshield Wiper Motor
Windshield Wiper Motor
Windshield Wiper Motor
Windshield Wiper Motor
Windshield Wiper Motor
Figure
2:
Windshield Wiper Motor
Master Electrical Component List
Wiper/Washer System Description and Operation
Turn Signal/Multifunction Switch
Turn Signal/Multifunction Switch
Turn Signal/Multifunction Switch
Turn Signal/Multifunction Switch
Turn Signal/Multifunction Switch
Turn Signal/Multifunction Switch
Class 2 Serial Data Line
G400 (1 of 2)
G400 (1 of 2)
G104 and G106
G202 (1 of 4)