GM Service Manual Online
For 1990-2009 cars only
Makes
🢒
Buick
🢒
2002
🢒
Park Avenue
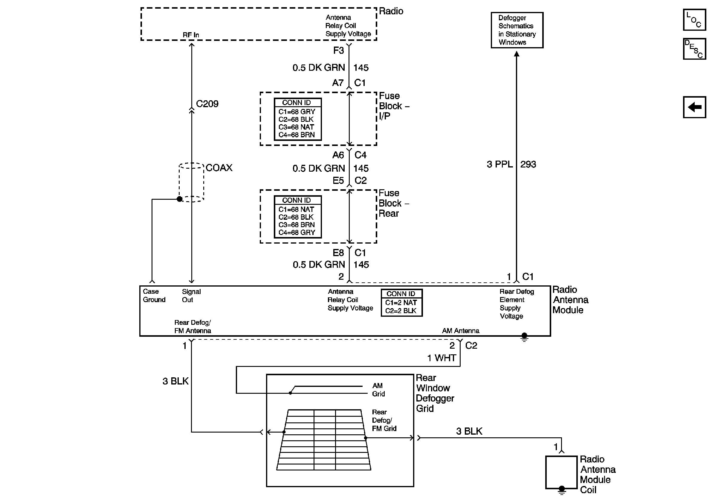
🢒 Antenna Module
Antenna Module
Antenna Module
Master Electrical Component List
Radio/Audio System Description and Operation
Amplifier Speaker Output (U99)
Defogger Schematics