GM Service Manual Online
For 1990-2009 cars only
Figure 1:

Memory/Personalization Function Switch


Object Number: 661158  Size: FS
Master Electrical Component List
Memory Seats Description and Operation
Driver Seat Adjuster Switch
Driver Door Module Inputs and Outputs
Class 2 Serial Data Line
G202 (4 of 4)
G202 (1 of 4)
Figure 2:

Driver Seat Adjuster Switch


Object Number: 880404  Size: FS
Master Electrical Component List
Memory Seats Description and Operation
Driver Seat Motors
Memory/Personalization Function Switch
Left Underhood Fuse Block- BAT 2 Fuse/ Rear Fuse Block- PWR SEAT Circuit Breaker, MEM/RFA Fuse
Left Underhood Fuse Block- BAT 2 Fuse/ Rear Fuse Block- PWR SEAT Circuit Breaker, MEM/RFA Fuse
Left Underhood Fuse Block- BAT 2 Fuse/ Rear Fuse Block- PWR SEAT Circuit Breaker, MEM/RFA Fuse
G201 (1 of 2)
G201 (1 of 2)
Figure 3:

Driver Seat Motors


Object Number: 661163  Size: FS
Master Electrical Component List
Memory Seats Description and Operation
Driver Seat Recline and Seat Belt Tower Motors
Driver Seat Adjuster Switch
Driver Seat Recline and Seat Belt Tower Motors
Driver Seat Recline and Seat Belt Tower Motors
w/ A45
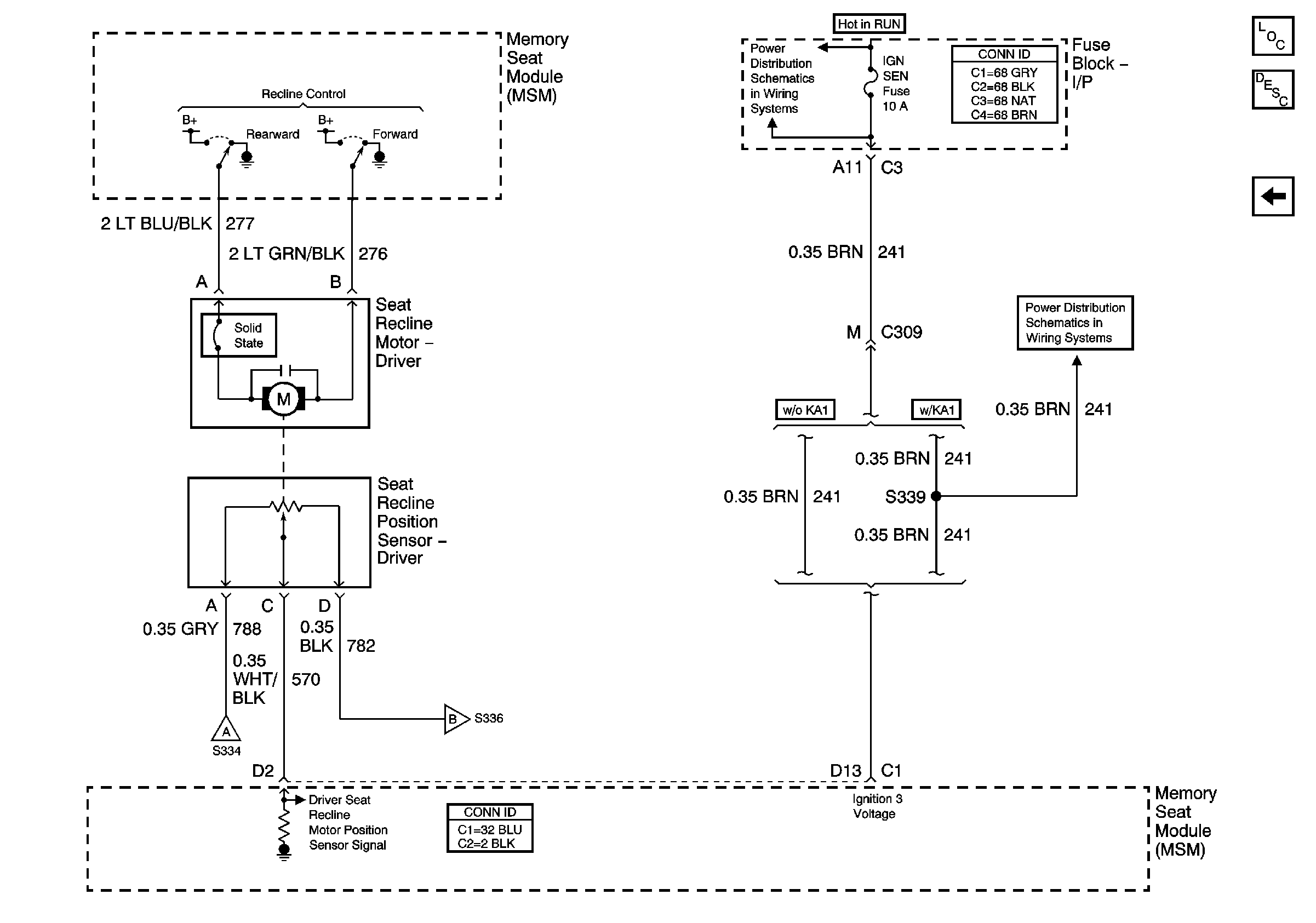
Figure 4:

Driver Seat Recline Motor and Position Sensor


Object Number: 880405  Size: FS
Master Electrical Component List
Memory Seats Description and Operation
Driver Seat Motors
/P Fuse Block- IGN SEN Fuse
/P Fuse Block- IGN SEN Fuse
Driver Seat Motors
Driver Seat Motors