GM Service Manual Online
For 1990-2009 cars only
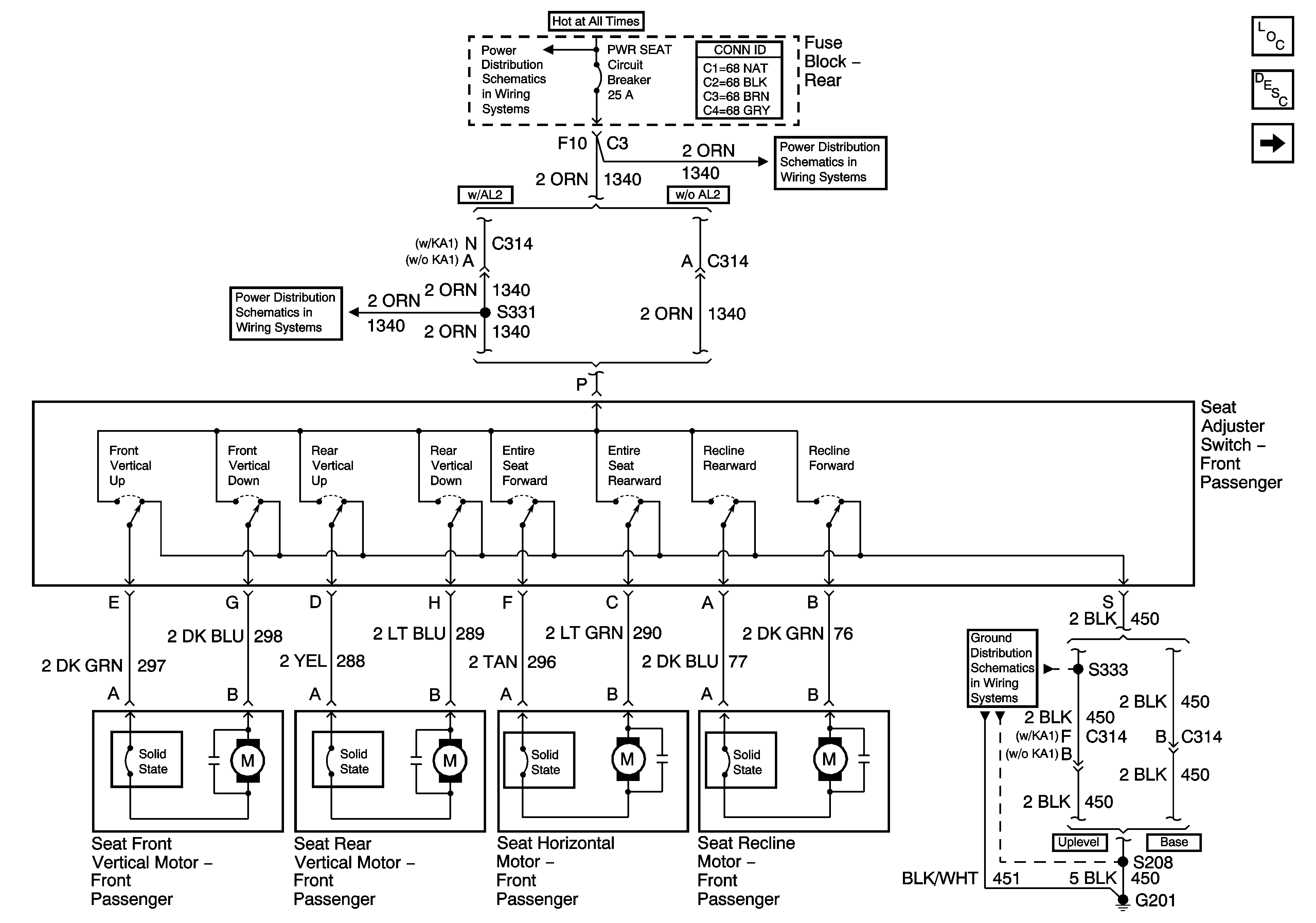
Figure 1:

Power Seat


Object Number: 1339242  Size: FS
Master Electrical Component List
Power Seats System Description and Operation
Power Lumbar Seat
PWR SEAT Circuit Breaker, MEM/RFA and BAT 2 Fuses
PWR SEAT Circuit Breaker, MEM/RFA and BAT 2 Fuses
PWR SEAT Circuit Breaker, MEM/RFA and BAT 2 Fuses
G201 - 1 of 2
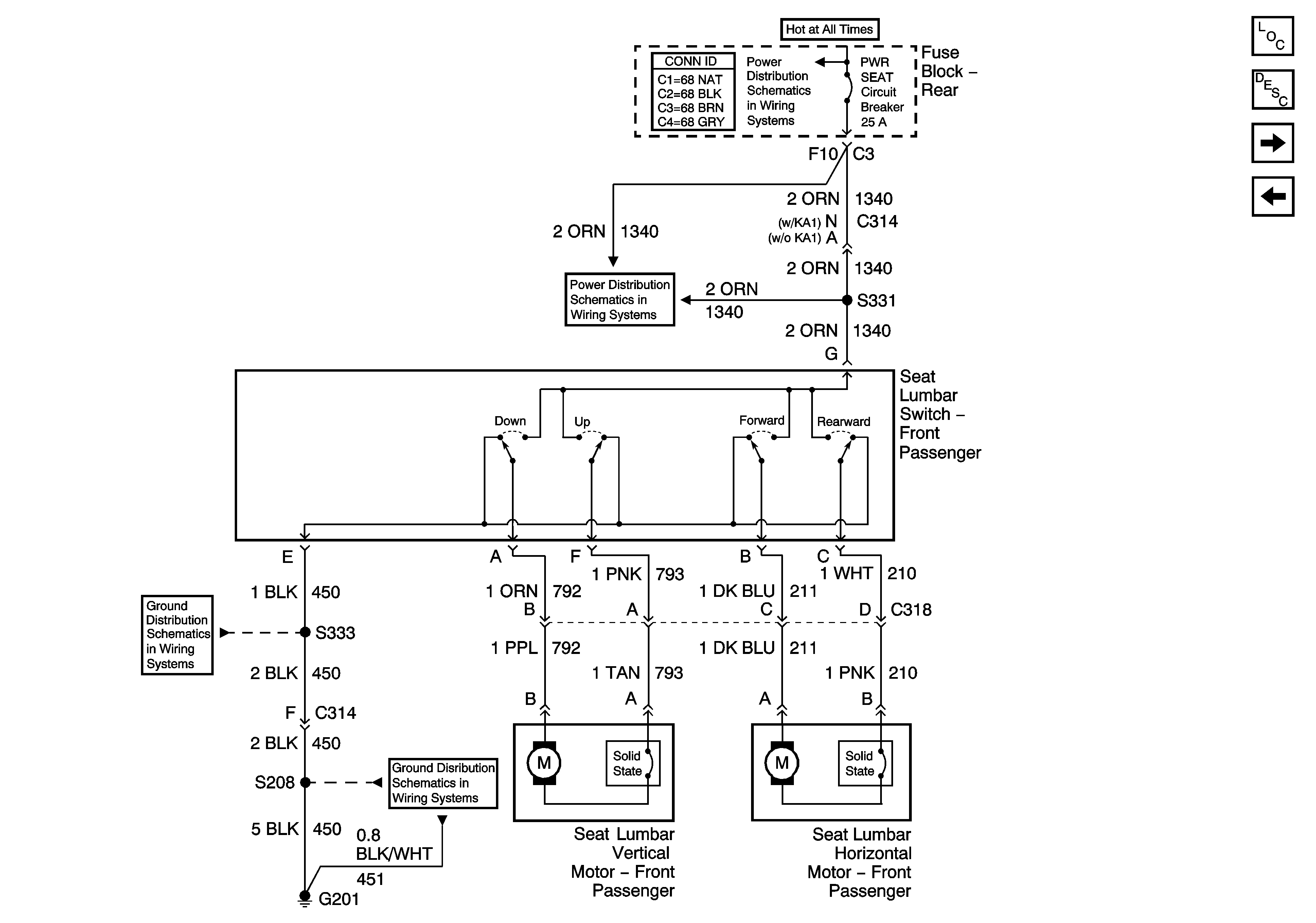
Figure 2:

Power Lumbar Seat


Object Number: 1339247  Size: FS
Master Electrical Component List
Lumbar Support Description and Operation w/o A45
Heated Seat
Power Seat
PWR SEAT Circuit Breaker, MEM/RFA and BAT 2 Fuses
PWR SEAT Circuit Breaker, MEM/RFA and BAT 2 Fuses
G201 - 1 of 2
G201 - 1 of 2
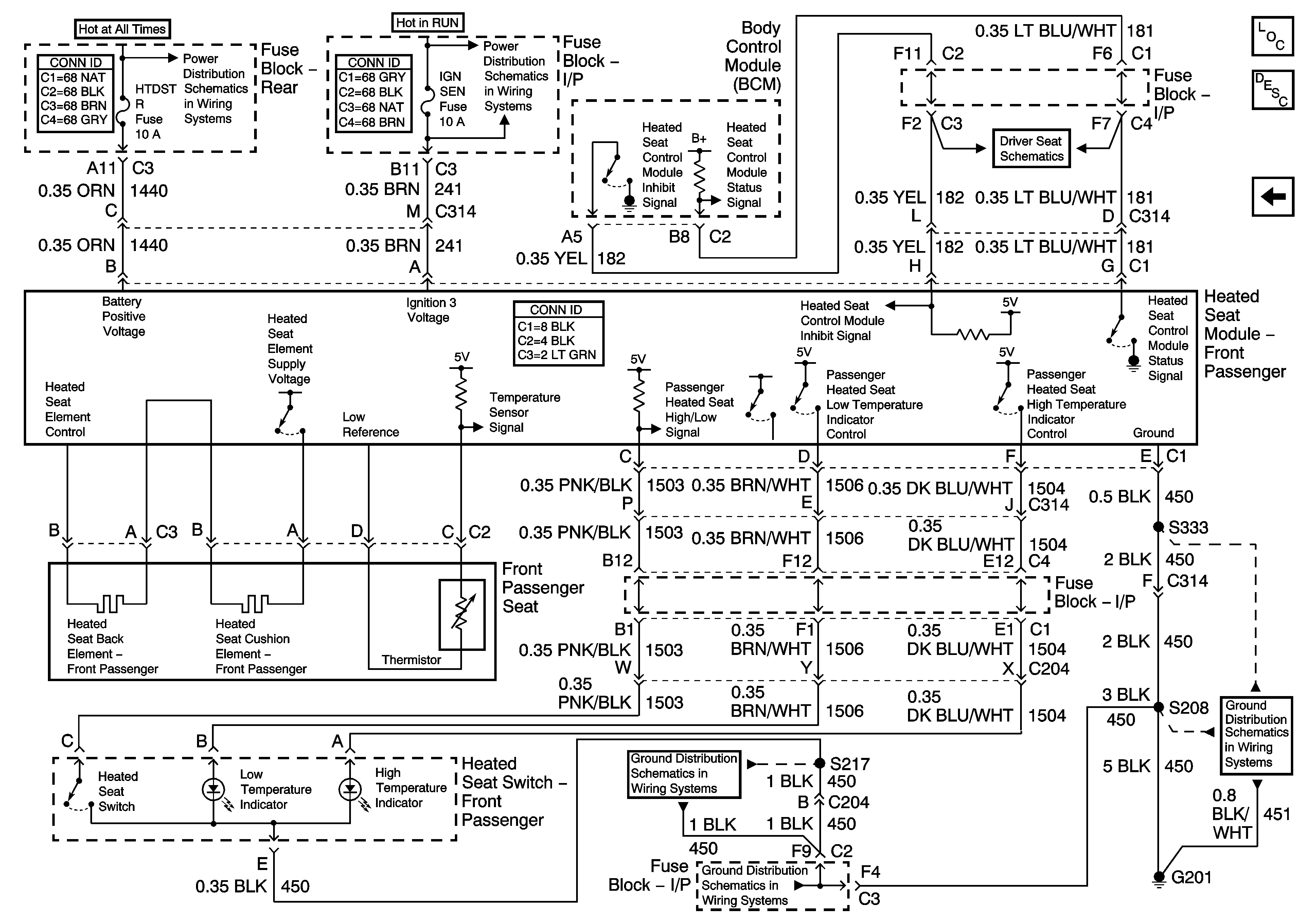
Figure 3:

Heated Seat


Object Number: 1339255  Size: FS
Master Electrical Component List
Heated Seats Description and Operation
Power Lumbar Seat
HTDST R, C/LTRL, C/LTRR Fuses and ELC Circuit Breaker
IGN SEN Fuse
Heated Seat
Heated Seat
G201 - 2 of 2
G201 - 1 of 2
G201 - 2 of 2