GM Service Manual Online
For 1990-2009 cars only
Makes
🢒
Buick
🢒
2005
🢒
Park Avenue
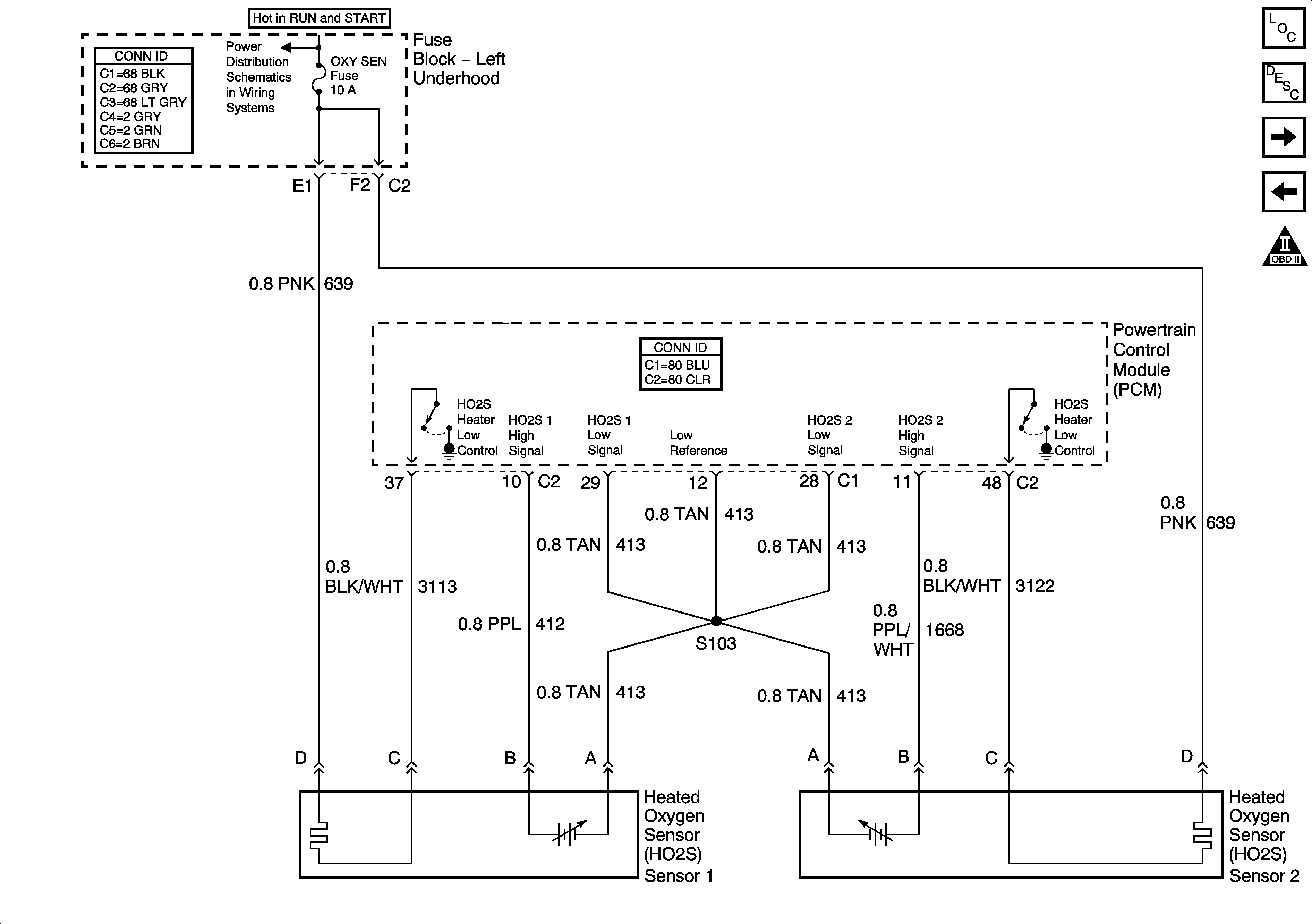
🢒 Engine Data Sensors- Heated Oxygen Sensors
Engine Data Sensors- Heated Oxygen Sensors
Engine Data Sensors- Heated Oxygen Sensors
Master Electrical Component List
Fuel System Description
Ignition Controls- Ignition System
Engine Data Sensors
OBD II Symbol Description Notice
Battery Voltage Supply to Underhood Fuse Blocks
G100, G101, G102 and G103