GM Service Manual Online
For 1990-2009 cars only
Makes
🢒
Buick
🢒
2006
🢒
Rainier
🢒
Engine
🢒
Engine Controls - 4.2L
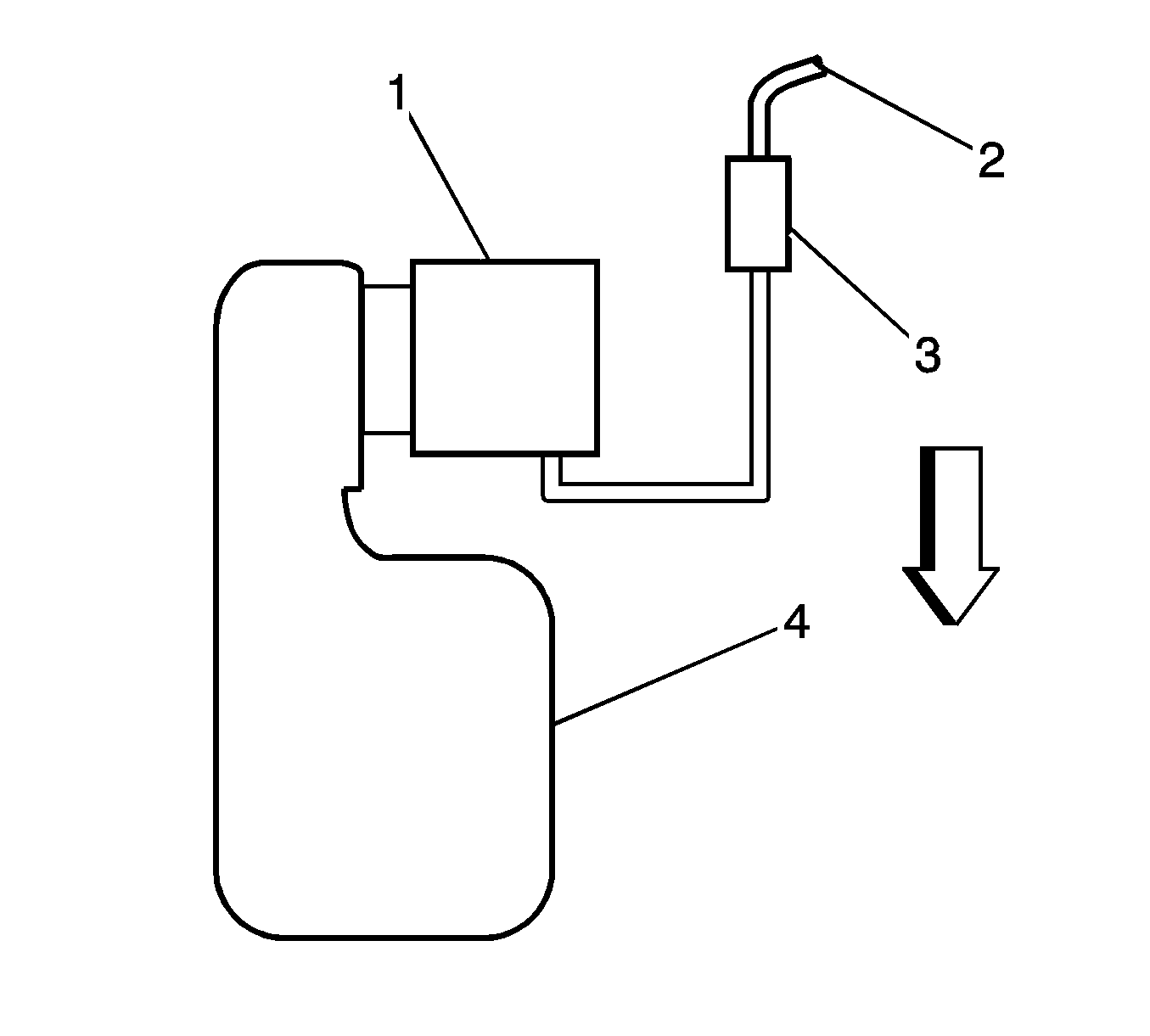
🢒 Emission Hose Routing Diagram
(1)
Throttle Body
(2)
To EVAP Canister
(3)
EVAP Canister Purge Valve
(4)
Preplenum Resonator