GM Service Manual Online
For 1990-2009 cars only
Makes
🢒
Buick
🢒
2007
🢒
Rainier
🢒 Engine Data Sensors - Throttle Actuator Controls
Engine Data Sensors - Throttle Actuator Controls
Engine Data Sensors - Throttle Actuator Controls
Master Electrical Component List
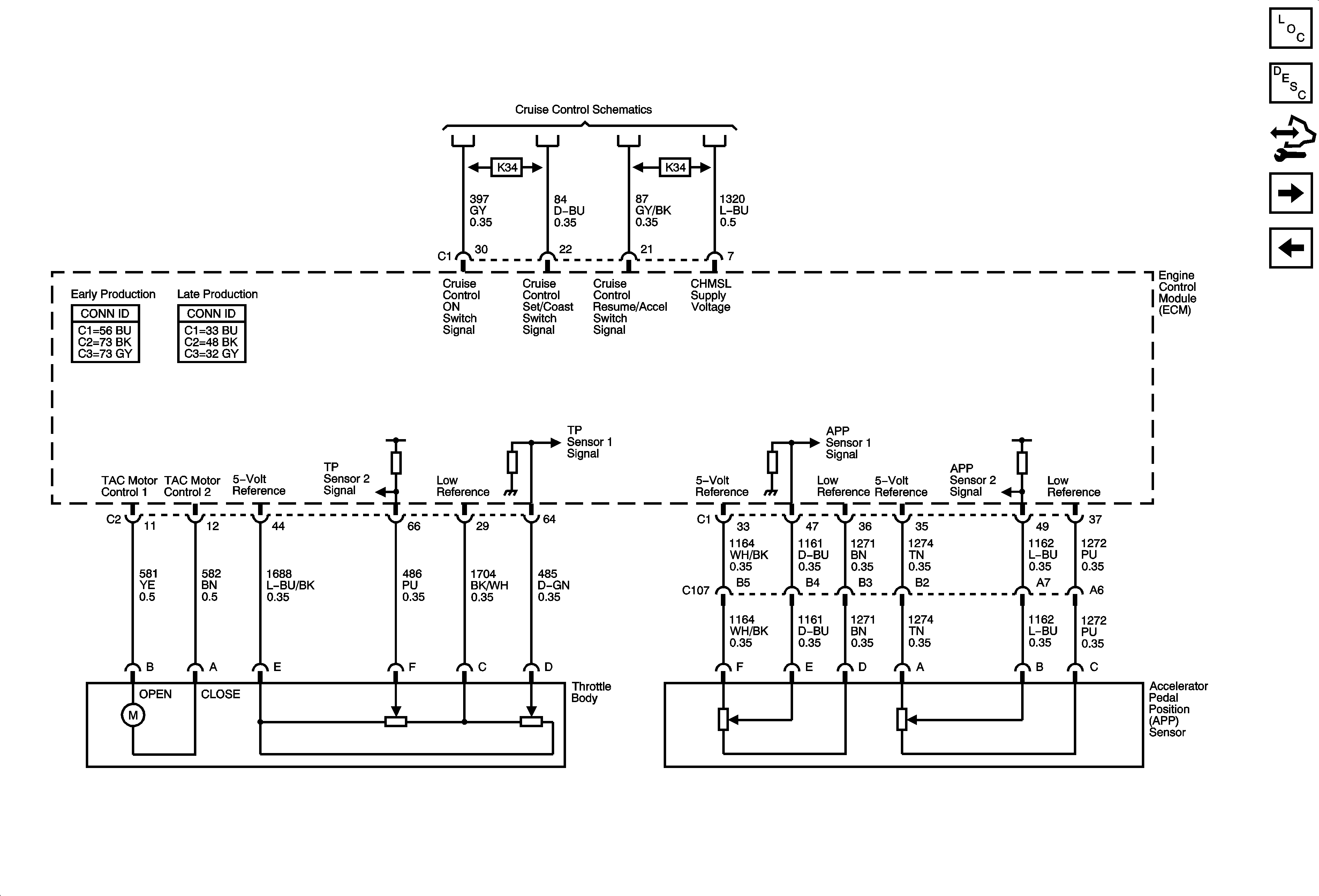
Throttle Actuator Control (TAC) System Description
Control Module References
Ignition Controls - Ignition Coils 1, 3, 5, and 7
Engine Data Sensors - Oxygen Sensors
5.3L/6.0L