GM Service Manual Online
For 1990-2009 cars only

Windshield Washer Solvent Container Replacement Envoy, TrailBlazer

Removal Procedure

  1. Remove the air cleaner element. Refer to Air Cleaner Element Replacement .
  2. Remove the air cleaner/washer container assembly. Refer to Air Cleaner Assembly Replacement .

  3. Object Number: 893797  Size: SH
  4. Remove the washer pumps from the container assembly. Refer to Headlamp Washer Pump Replacement , Windshield Washer Pump Replacement , and Rear Window Washer Pump Replacement .

Installation Procedure


    Object Number: 893797  Size: SH
  1. Install the washer pumps to the container assembly. Refer to Headlamp Washer Pump Replacement , Windshield Washer Pump Replacement and Rear Window Washer Pump Replacement .
  2. Install the air cleaner/washer container assembly. Refer to Air Cleaner Assembly Replacement .
  3. Install the air cleaner element. Refer to Air Cleaner Element Replacement .

Windshield Washer Solvent Container Replacement Rainier

Removal Procedure


    Object Number: 732055  Size: SH
  1. Remove the air cleaner cover (1) . Refer to Air Cleaner Element Replacement .
  2. Remove the nuts securing the washer container to the wheelhouse.
  3. Disconnect the electrical connectors from both washer pumps.

  4. Object Number: 1333184  Size: SH
  5. Disengage the electrical harness clips (1) for the level sensor switch harness.
  6. Disconnect the electrical connector from the level sensor switch.

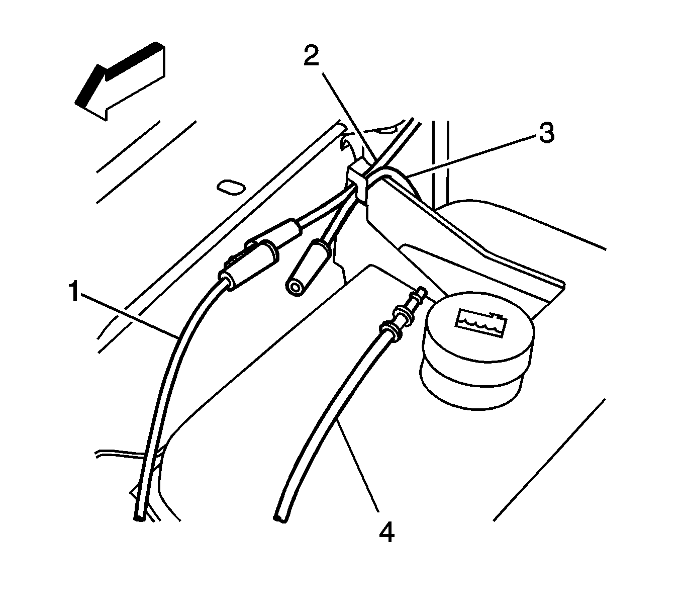
  7. Object Number: 1333186  Size: SH
  8. Disconnect the 2 washer hose connections (1, 4) above the coolant reservoir.
  9. Partially lift the washer container from the engine compartment and disengage the clip for the rear washer pump electrical harness.
  10. Remove the washer solvent container from the engine compartment wheelhouse studs.
  11. Drain the washer solvent into a suitable container.

  12. Object Number: 1333185  Size: SH
  13. Transfer the following parts as needed:
  14. • Round grommet (1)
    • Washer cap (2)
    • Upper air box clips (3)
    • Level sensor switch harness clips (4)
    • Lower oval mounting grommet (5)
    • Front windshield washer pump (6)
    • Rear washer pump (7)
    • Washer pump hoses (8)
    • Rear washer pump harness connector (9)
    • Level sensor switch

Installation Procedure

  1. Install the new washer pump grommets.
  2. Install a new level sensor switch grommet.
  3. Remove the steel spacer grommets from the wheelhouse studs.
  4. Install the spacers into the oval and round rubber grommets onto the washer solvent container.
  5. Position the electrical connectors away from the wheelhouse area.
  6. Lower the container into the wheelhouse.
  7. Connect the front and rear washer pump electrical connectors.
  8. Connect the level sensor electrical connector.
  9. Connect the rear pump electrical harness clip.
  10. Lower the container onto the wheelhouse studs.
  11. Ensure the container is firmly seated onto the studs.
  12. Notice: Refer to Fastener Notice in the Preface section.

  13. Install the nuts.
  14. Tighten
    Tighten the nuts to 15 N·m (11 lb ft).


    Object Number: 1333184  Size: SH
  15. Secure the level sensor electrical harness to the harness clips (1).

  16. Object Number: 1333186  Size: SH
  17. Connect the front washer pump hose (2) and the rear washer pump hose (3) to the washer pump hoses (1, 4).

  18. Object Number: 732055  Size: SH
  19. Install the air cleaner cover (1). Refer to Air Cleaner Element Replacement .
  20. Fill the washer solvent container with new washer solvent.
  21. Inspect for leaks.