GM Service Manual Online
For 1990-2009 cars only
Makes
🢒
Buick
🢒
2004
🢒
Rainier - 2WD
🢒
Accessories
🢒
Navigation Systems
🢒 Navigation System Schematics
Master Electrical Component List
Navigation System Description and Operation
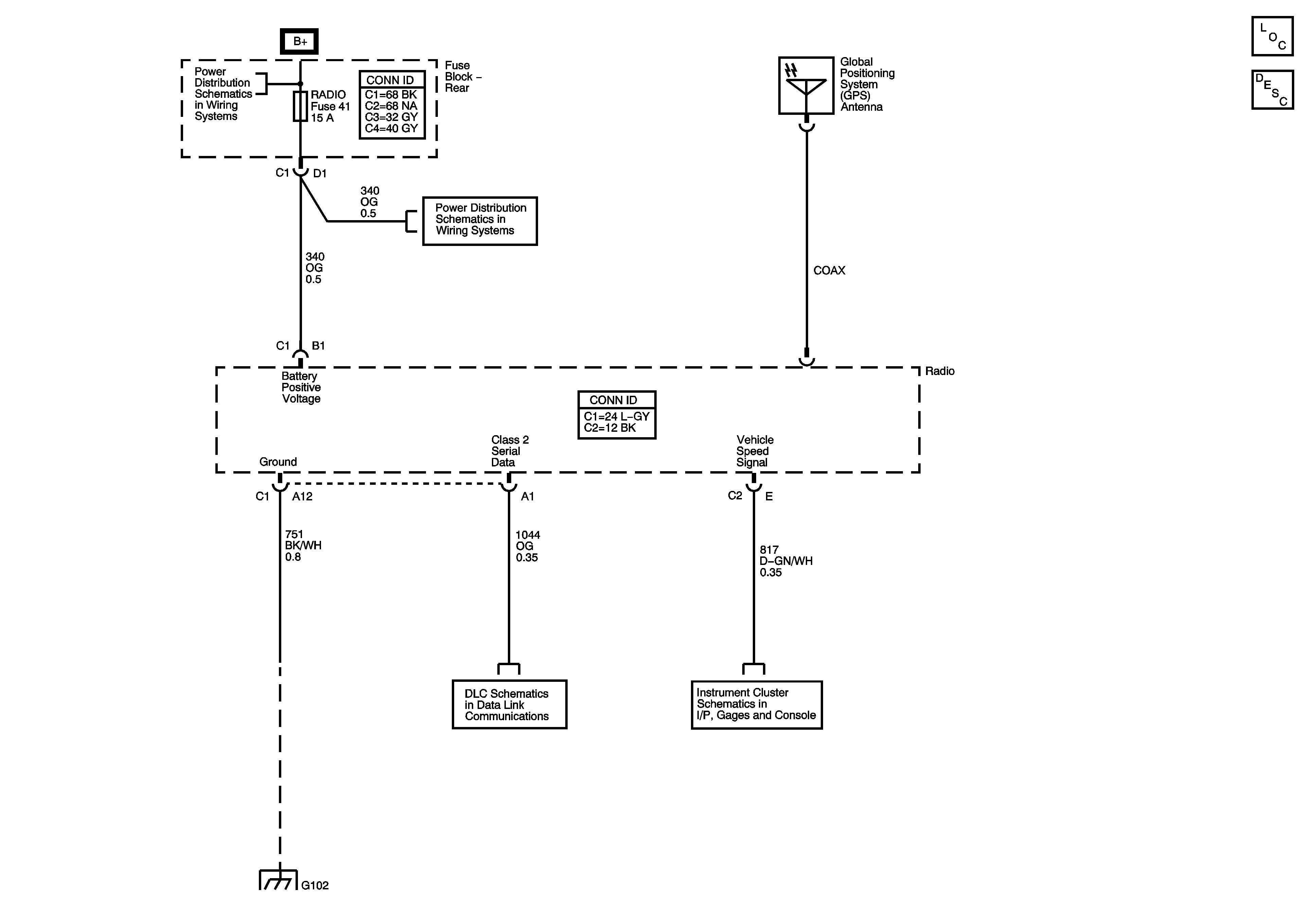
B+ Bus - Rear Fuse Block
LGM/DSM, OH BATT/ONSTAR, RADIO, and HVAC B Fuses
Power, Ground, Data Link Connector, and SP205
Gages
G102