GM Service Manual Online
For 1990-2009 cars only

Removal Procedure


    Object Number: 1366114  Size: SH

    Important: Clean the fuel/evaporative emissions (EVAP) pipe connections and surrounding areas before disconnecting the pipes in order to avoid possible contamination of the fuel/EVAP system.

  1. Relieve the fuel system pressure. Refer to Fuel Pressure Relief .
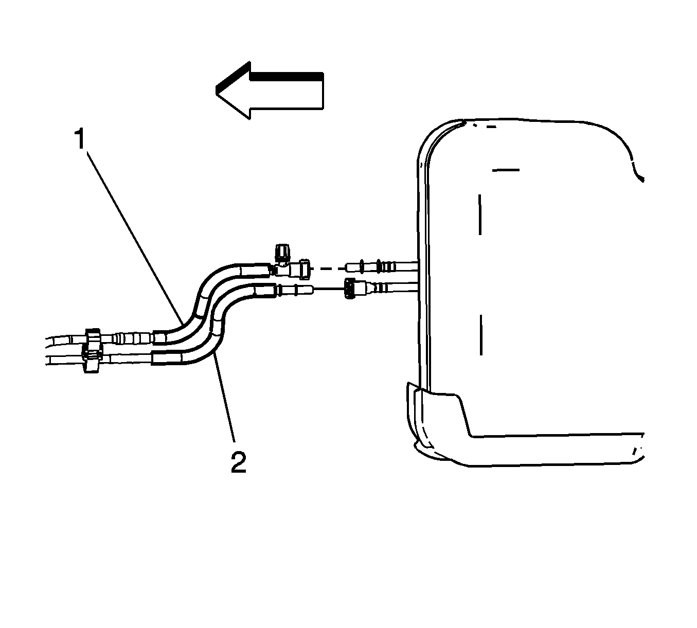
  2. Disconnect the fuel feed pipe (3) at the fuel rail (2). Refer to Metal Collar Quick Connect Fitting Service .
  3. Disconnect the EVAP canister purge pipe (1, 4). Refer to Plastic Collar Quick Connect Fitting Service .
  4. Cap the fuel rail and EVAP pipes in order to prevent possible contamination of the EVAP/fuel system.
  5. Raise and suitably support the vehicle. Refer to Lifting and Jacking the Vehicle .

  6. Object Number: 899634  Size: SH
  7. Remove the nuts securing the left catalytic converter to the exhaust manifold.

  8. Object Number: 899636  Size: SH
  9. Remove the nuts securing the right catalytic converter to the exhaust manifold.
  10. Lower the catalytic converter assembly until it rests on the vehicle frame.

  11. Object Number: 899733  Size: SH
  12. Use the following procedure if the vehicle is equipped with 2-wheel drive (2WD):
  13. 9.1. Support the transmission with a suitable transmission jack.
    9.2. Remove the transmission support. Refer to Transmission Support Replacement .
    9.3. Lower the transmission slightly.
    9.4. Remove the EVAP/fuel hose/pipe assembly from the retaining clips (1) on the transmission.

    Object Number: 899734  Size: SH
  14. Use the following procedure if the vehicle is equipped with 4-wheel drive (4WD):
  15. 10.1. Remove the front propeller shaft. Refer to Front Propeller Shaft Replacement .
    10.2. Remove the transfer case. Refer to Transfer Case Assembly Replacement .
    10.3. Support the transmission with a suitable transmission jack.
    10.4. Remove the transmission support. Refer to Transmission Support Replacement .
    10.5. Lower the transmission slightly.
    10.6. Remove the EVAP/fuel hose/pipe assembly from the retaining clips (1) on the transmission.

    Object Number: 1366114  Size: SH
  16. Remove the EVAP/fuel hose/pipe bracket nut (5).
  17. Remove the fuel hose/pipe bracket (6) from the bellhousing stud.

  18. Object Number: 1368522  Size: SH
  19. Disconnect the EVAP pipe (2) from the fuel tank. Refer to Plastic Collar Quick Connect Fitting Service .
  20. Disconnect the fuel feed pipe (1) from the fuel tank. Refer to Plastic Collar Quick Connect Fitting Service .
  21. Cap the fuel and EVAP pipes at the fuel tank.
  22. Remove the EVAP/fuel hose/pipe assembly from the vehicle.
  23. Important: Note the position of the EVAP/fuel hose/pipe assembly clips prior to disassembly.

  24. Remove the EVAP/fuel hose/pipe assembly retaining clips.
  25. Remove the fuel feed or return pipe to be replaced from the EVAP/fuel hose/pipe assembly.

Installation Procedure

  1. Install the fuel feed or return pipe to the EVAP/fuel hose/pipe assembly.
  2. Install the EVAP/fuel hose/pipe assembly retaining clips.

  3. Object Number: 1368522  Size: SH
  4. Install the EVAP/fuel hose/pipe assembly to the vehicle.
  5. Remove the caps from the fuel filter and pipes at the fuel tank.
  6. Connect the EVAP pipe (2) to the fuel tank. Refer to Plastic Collar Quick Connect Fitting Service .
  7. Connect the fuel feed pipe (1) to the fuel tank. Refer to Plastic Collar Quick Connect Fitting Service .

  8. Object Number: 1366114  Size: SH
  9. Install the EVAP/fuel hose/pipe bracket (6) to the bellhousing stud.
  10. Notice: Refer to Fastener Notice in the Preface section.

  11. Install the EVAP/fuel hose/pipe bracket nut (5).
  12. Tighten
    Tighten the nut to 10 N·m (89 lb in).


    Object Number: 899734  Size: SH
  13. Use the following procedure if the vehicle is equipped with 4WD:
  14. 9.1. Install the EVAP/fuel hose/pipe assembly to the retaining clips (1) on the transmission.
    9.2. Raise the transmission to the normal installed height.
    9.3. Install the transmission support. Refer to Transmission Support Replacement .
    9.4. Remove the transmission jack.
    9.5. Install the transfer case. Refer to Transfer Case Assembly Replacement .
    9.6. Install the front propeller shaft. Refer to Front Propeller Shaft Replacement .

    Object Number: 899733  Size: SH
  15. Use the following procedure if the vehicle is equipped with 2WD:
  16. 10.1. Install the EVAP/fuel hose/pipe assembly to the retaining clips (1) on the transmission.
    10.2. Raise the transmission to the normal installed height.
    10.3. Install the transmission support. Refer to Transmission Support Replacement .
    10.4. Remove the transmission jack.

    Object Number: 899636  Size: SH
  17. Install the nuts securing the right catalytic converter to the exhaust manifold.
  18. Tighten
    Tighten the nuts to 50 N·m (37 lb ft).


    Object Number: 899634  Size: SH
  19. Install the nuts securing the left catalytic converter to the exhaust manifold.
  20. Tighten
    Tighten the nuts to 50 N·m (37 lb ft).

  21. Lower the vehicle.

  22. Object Number: 1366114  Size: SH
  23. Remove the caps from the fuel rail and EVAP pipes.
  24. Connect the EVAP canister purge pipe (1, 4). Refer to Plastic Collar Quick Connect Fitting Service .
  25. Connect the fuel feed pipe (3) at the fuel rail (2). Refer to Metal Collar Quick Connect Fitting Service .
  26. Install the fuel fill cap.
  27. Connect the negative battery cable. Refer to Battery Negative Cable Disconnection and Connection .
  28. Use the following procedure to inspect for leaks:
  29. 19.1. Turn the ignition ON, with the engine OFF, for 2 seconds.
    19.2. Turn the ignition OFF for 10 seconds.
    19.3. Turn the ignition ON, with the engine OFF.
    19.4. Inspect for leaks.