GM Service Manual Online
For 1990-2009 cars only
Table 1: C100 (4.2L) I/P Harness to Engine Harness
Table 2: C101 Chassis Harness to I/P Harness
Table 3: C102 Forward Lamp Harness to the Left Headlamp
Table 4: C103 Forward Lamp Harness to the Right Headlamp
Table 5: C104 (4.2L) Engine Harness to Fuel Injector Harness
Table 6: C105 Forward Lamp Harness to I/P Harness
Table 7: C107 (5.3L) Engine Harness to I/P Harness
Table 8: C108 (5.3L) Engine Harness to Ignition Coil Harness
Table 9: C109 (5.3L) Engine Harness to Ignition Coil Harness
Table 10: C110 (5.3L) Engine Harness to Camshaft Position Sensor Jumper Harness
Table 11: C118 Forward Lamp Harness to Cooling Fan Tether Harness
Table 12: C175 Engine Harness to Automatic Transmission Harness
Table 13: C201 Steering Column Harness to I/P Harness
Table 14: C202 Body Harness to I/P Harness
Table 15: C203 Body Harness to I/P Harness (ASF)
Table 16: C220 Infotainment Jumper harness to Body Harness (U42)
Table 17: C221 Infotainment Jumper Harness to I/P Harness (U42/U2K)
Table 18: C225 I/P Harness to Electronic Adjustable Pedal Assembly Harness (JF4)
Table 19: C275 I/P Harness to Steering Column Harness
Table 20: C277 Steering Column Harness to Steering Wheel Harness
Table 21: C302 Traction Control Jumper Harness to Console Harness (W49 w/NW7)
Table 22: C303 I/P Harness to Center Console Harness (W49 w/NW7)
Table 23: C304 Body Harness to I/P Harness
Table 24: C305 Overhead Console Harness to Headliner Harness (Except XUV)
Table 25: C305 Overhead Console Harness to Headliner Harness (XUV)
Table 26: C306 Headliner Harness to Body Harness
Table 27: C307 Console Harness to I/P Harness
Table 28: C308 Headliner Harness to Sunroof Harness (CF5)
Table 29: C309 Body Harness to Console Harness (Long Wheel Base Except XUV)
Table 30: C310 Engine Harness to Chassis Harness (4WD)
Table 31: C311 Body Harness to Driver Seat Harness (A50)
Table 32: C311 Body Harness to Driver Seat Harness (AR9)
Table 33: C314 Body Harness to Passenger Seat harness
Table 34: C317 Body Harness to Left Seat Belt Harness
Table 35: C318 Body Harness to Right Seat Belt Harness
Table 36: C320 Body Harness to Midgate Harness (XUV)
Table 37: C321 Body Harness to Power Roof Harness (XUV)
Table 38: C322 Body Harness to Power Roof Harness (XUV)
Table 39: C401 Body Harness to Rear HVAC Module (Long Wheel Base Except XUV)
Table 40: C500 Left Front Door Harness to Body Harness
Table 41: C600 Right Front Door Harness to Body Harness
Table 42: C700 Body Harness to Left Rear Door Harness
Table 43: C800 Body Harness to Right Rear Door Harness
Table 44: C900 Body Harness to Liftgate Harness (Except XUV)
Table 45: C900 Body Harness to Endgate Harness (XUV)
Table 46: C901 Liftgate Harness to License Lamp Harness (Except XUV)
Table 47: C901 Endgate Harness to License Lamp Harness (XUV)
Table 48: C902 Body Harness to Liftgate Harness (Y92)
Table 49: C904 Rear Defogger Harness to Liftgate Harness (Except XUV w/C49)
Table 50: C905 Rear Defogger Harness to Liftgate Harness (Except XUV w/C49)

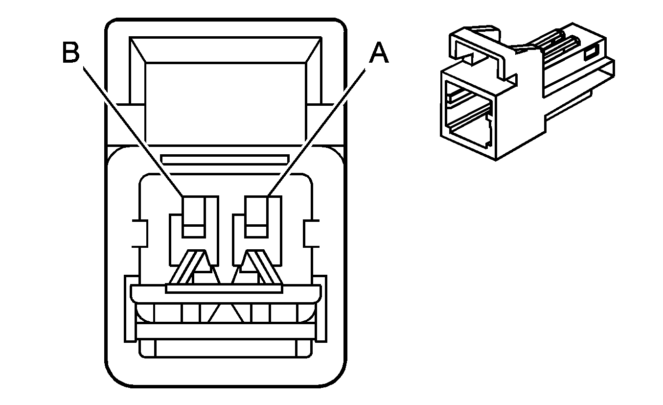
C100 (4.2L) I/P Harness to Engine Harness


Object Number: 632344  Size: CH

Object Number: 632342  Size: CH

Connector Part Information

    • 15326842
    • 10-Way F 150 Series Sealed (BK)

Connector Part Information

    • 15326847
    • 10-Way M 150 Series Sealed (BK)

Pin

Wire Color

Circuit No.

Function

Pin

Wire Color

Circuit No.

Function

A

--

--

Not Used

A

--

--

Not Used

B

RD/BK

380

A/C Refrigerant Pressure Sensor Signal

B

RD/BK

380

A/C Refrigerant Pressure Sensor Signal

C

GY

597

5-Volt Reference

C

GY

597

5-Volt Reference

D

PK

439

Ignition 1 Voltage

D

PK

439

Ignition 1 Voltage

E

BK

2751

Low Reference

E

BK

2751

Low Reference

F

GY

2700

5-Volt Reference

F

GY

2700

5-Volt Reference

G

L-GN

2278

A/C Compressor Status Signal

G

L-GN

2278

A/C Compressor Status Signal

H

TN

472

IAT Sensor Signal

H

TN

472

IAT Sensor Signal

J

BK

2760

Low Reference

J

BK

2760

Low Reference

K

--

--

Not Used

K

--

--

Not Used

C101 Chassis Harness to I/P Harness


Object Number: 646433  Size: CH

Object Number: 655777  Size: CH

Connector Part Information

    • 15336418
    • 38-Way F GT 150 280 Series Sealed 4.0 5.2 (BK)

Connector Part Information

    • 15317380
    • 38-Way M GT 150 280 Series Sealed 4.0 5.2 (BK)

Pin

Wire Color

Circuit No.

Function

Pin

Wire Color

Circuit No.

Function

A1

GY

605

5-Volt Reference (4WD)

A1

GY

605

5-Volt Reference (4WD)

A2

BN/WH

1555

Encoder Signal (4WD)

A2

BN/WH

1555

Encoder Signal (4WD)

A3

D-GN/WH

817

Vehicle Speed Signal (G67)

A3

D-GN/WH

817

Vehicle Speed Signal (G67)

A4

D-BU

47

Trailer Auxiliary Supply Voltage

A4

D-BU

47

Trailer Auxiliary Supply Voltage

A5

BK

1552

Motor Control A (4WD)

A5

BK

1552

Motor Control A (4WD)

A6

BN/WH

1571

Traction Control Switch Signal (NW7)

A6

BN/WH

1571

Traction Control Switch Signal (NW7)

A7

L-GN

24

Backup Lamp Supply Voltage (Z88)

A7

L-GN

24

Backup Lamp Supply Voltage (Z88)

A8

BK/WH

1554

Encoder Low Reference (4WD)

A8

BK/WH

1554

Encoder Low Reference (4WD)

B1

TN

1569

Lock Solenoid Control (NP8)

B1

TN

1569

Lock Solenoid Control (NP8)

B2

L-BU

1296

Axle Actuator - Control (NP8)

B2

L-BU

1296

Axle Actuator - Control (NP8)

B3

L-BU

2221

Signal High - Rear (4WD)

B3

L-BU

2221

Signal High - Rear (4WD)

B4

D-GN

2222

Signal Low - Rear (4WD)

B4

D-GN

2222

Signal Low - Rear (4WD)

B5

--

--

Not Used

B5

--

--

Not Used

B6

RD

1553

Motor Control B (4WD)

B6

RD

1553

Motor Control B (4WD)

B7

BN

436

AIR Pump Relay Control (4.2L w/K18)

B7

BN

436

AIR Pump Relay Control (4.2L w/K1)

B8

YE

400

Signal High - Front (4WD)

B8

YE

400

Signal High - Front (4WD)

B9

PU

401

Signal Low - Front (4WD)

B9

PU

401

Signal Low - Front (4WD)

B10-B11

--

--

Not Used

B10-B11

--

--

Not Used

B12

BN

2109

Trailer Park Lamps Supply Voltage

B12

BN

2109

Trailer Park Lamps Supply Voltage

C1

--

--

Not Used

C1

--

--

Not Used

C2

YE/BK

1827

Vehicle Speed Signal

C2

YE/BK

1827

Vehicle Speed Signal

C3

L-BU

1122

ABS/TCS Class 2 Serial Data

C3

L-BU

1122

ABS/TCS Class 2 Serial Data

C4

GY

349

Discriminating Sensor - Left - Signal

C4

GY

349

Discriminating Sensor - Left - Signal

C5

YE

354

Discriminating Sensor - Signal

C5

YE

354

Discriminating Sensor - Signal

C6

OG

1140

Battery Positive Voltage (BAE)

C6

OG

1140

Battery Positive Voltage (BAE)

C7

TN/BK

5168

Power Sounder Enable Signal (BAE)

C7

TN/BK

5168

Power Sounder Enable Signal (BAE)

C8

--

--

Not Used

C8

--

--

Not Used

C9

D-GN

890

Fuel Tank Pressure Sensor Signal

C9

D-GN

890

Fuel Tank Pressure Sensor Signal

C10

GY

2709

5-Volt Reference

C10

GY

2709

5-Volt Reference

C11

BK

2759

Low Reference

C11

BK

2759

Low Reference

C12

OG/BK

510

Low Reference (4.2L)

C12

OG/BK

510

Low Reference (4.2L)

D1

PU

1589

Fuel Level Sensor Signal - Primary

D1

PU

1589

Fuel Level Sensor Signal - Primary

D2

L-BU

832

Traction Control Active Signal (NW7)

D2

L-BU

832

Traction Control Active Signal (NW7 Except W49)

D3

WH

1808

Service Traction Control Signal (NW7)

D3

WH

1808

Service Traction Control Signal (NW7)

D4-D5

--

--

Not Used

D4-D5

--

--

Not Used

D6

YE

1834

Forward Discriminating Sensor Signal

D6

YE

1834

Forward Discriminating Sensor Signal

D7

D-GN

1409

Discriminating Sensor - Right - Signal

D7

D-GN

1409

Discriminating Sensor - Right - Signal

D8

--

--

Not Used

D8

--

--

Not Used

C102 Forward Lamp Harness to the Left Headlamp


Object Number: 697046  Size: CH

Object Number: 1471680  Size: CH

Connector Part Information

    • 12186568
    • 4-Way F Metri-Pack 150 Series (BK)

Connector Part Information

    • 12186271
    • 4-Way M Metri-Pack 150 Series Sealed (GY)

Pin

Wire Color

Circuit No.

Function

Pin

Wire Color

Circuit No.

Function

A

D-GN/WH

711

Left Headlamp High Beam Supply Voltage

A

YE

--

Left Headlamp High Beam Supply Voltage

B

YE

712

Left Headlamp Low Beam Supply Voltage

B

OG

--

Left Headlamp Low Beam Supply Voltage

C

BK

350

Ground

C

D-GN

--

Ground

D

BK

350

Ground

D

WH

--

Ground

C103 Forward Lamp Harness to the Right Headlamp


Object Number: 697046  Size: CH

Object Number: 1471680  Size: CH

Connector Part Information

    • 12186568
    • 4-Way F Metri-Pack 150 Series (BK)

Connector Part Information

    • 12186271
    • 4-Way M Metri-Pack 150 Series Sealed (GY)

Pin

Wire Color

Circuit No.

Function

Pin

Wire Color

Circuit No.

Function

A

L-GN/BK

311

Right Headlamp High Beam Supply Voltage

A

YE

--

Right Headlamp High Beam Supply Voltage

B

TN/WH

312

Right Headlamp Low Beam Supply Voltage

B

OG

--

Right Headlamp Low Beam Supply Voltage

C

BK

250

Ground

C

D-GN

--

Ground

D

BK

250

Ground

D

WH

--

Ground

C104 (4.2L) Engine Harness to Fuel Injector Harness


Object Number: 646400  Size: CH

Object Number: 684916  Size: CH

Connector Part Information

    • 15326835
    • 8-Way F 150 Series Sealed (BK)

Connector Part Information

    • 15326840
    • 8-Way M 150 Series Sealed (BK)

Pin

Wire Color

Circuit No.

Function

Pin

Wire Color

Circuit No.

Function

A

PK

439

Ignition 1 Voltage

A

PK

439

Ignition 1 Voltage

B

L-BU/BK

844

Fuel Injector 4 Control

B

L-BU/BK

844

Fuel Injector 4 Control

C

BK/WH

845

Fuel Injector 5 Control

C

BK/WH

845

Fuel Injector 5 Control

D

YE/BK

846

Fuel Injector 6 Control

D

YE/BK

846

Fuel Injector 6 Control

E

--

--

Not Used

E

--

--

Not Used

F

BK

1744

Fuel Injector 1 Control

F

BK

1744

Fuel Injector 1 Control

G

L-GN/BK

1745

Fuel Injector 2 Control

G

L-GN/BK

1745

Fuel Injector 2 Control

H

PK/BK

1746

Fuel Injector 3 Control

H

PK/BK

1746

Fuel Injector 3 Control

C105 Forward Lamp Harness to I/P Harness


Object Number: 632344  Size: CH

Object Number: 632342  Size: CH

Connector Part Information

    • 15326842
    • 10-Way F 150 Series Sealed (BK)

Connector Part Information

    • 15326847
    • 10-Way M 150 Series Sealed (BK)

Pin

Wire Color

Circuit No.

Function

Pin

Wire Color

Circuit No.

Function

A

GY

597

5-Volt Reference

A

GY

597

5-Volt Reference

B

D-BU

2364

Cooling Fan Speed Signal

B

D-BU

2364

Cooling Fan Speed Signal

C

GY

2365

Low Reference

C

GY

2365

Low Reference

D

BN

718

Low Reference

D

BN

718

Low Reference

E

L-GN/BK

735

Ambient Air Temperature Sensor Signal

E

L-GN/BK

735

Ambient Air Temperature Sensor Signal

F

GY/BK

1596

Coolant Bypass Solenoid Control (Long Wheel Base Except XUV)

F

GY/BK

1596

Coolant Bypass Solenoid Control (Long Wheel Base Except XUV)

G

OG

3040

Battery Positive Voltage (4.2L w/Long Wheel Base Except XUV)

G

OG

3040

Battery Positive Voltage (4.2L w/Long Wheel Base Except XUV)

H

D-BU

204

A/C Low Pressure Sensor Signal

H

D-BU

204

A/C Low Pressure Sensor Signal

J

BK/WH

174

Low Washer Fluid Indicator Signal (U68)

J

BK/WH

174

Low Washer Fluid Indicator Signal (U68)

K

PK/BK

109

Hood Ajar Switch Signal (UA2)

K

PK/BK

109

Hood Ajar Switch Signal (UA2)

BN

241

Ignition 3 Voltage (4.2L w/Long Wheel Base Except XUV)

BN

241

Ignition 3 Voltage (4.2L w/Long Wheel Base Except XUV)

C107 (5.3L) Engine Harness to I/P Harness


Object Number: 646433  Size: CH

Object Number: 655777  Size: CH

Connector Part Information

    • 15443822
    • 38-Way F GT 150 280 Series Sealed 4.0 5.2 (BK)

Connector Part Information

    • 15317380
    • 38-Way M GT 150 280 Series Sealed 4.0 5.2 (BK)

Pin

Wire Color

Circuit No.

Function

Pin

Wire Color

Circuit No.

Function

A1

--

--

Not Used

A1

--

--

Not Used

A2

GY

2365

Low Reference

A2

GY

2365

Low Reference

A3

GY

2709

5-Volt Reference

A3

GY

2709

5-Volt Reference

A4-A5

--

--

Not Used

A4-A5

--

--

Not Used

A6

PU

1272

Low Reference

A6

PU

1272

Low Reference

A7

L-BU

1162

APP Sensor 2 Signal

A7

L-BU

1162

APP Sensor 2 Signal

A8

D-GN

890

Fuel Tank Pressure Sensor Signal

A8

D-GN

890

Fuel Tank Pressure Sensor Signal

B1

GY

397

Cruise Control On Switch Signal

B1

GY

397

Cruise Control On Switch Signal

B2

TN

1274

5-Volt Reference

B2

TN

1274

5-Volt Reference

B3

BN

1271

Low Reference

B3

BN

1271

Low Reference

B4

D-BU

1161

APP Sensor 1 Signal

B4

D-BU

1161

APP Sensor 1 Signal

B5

WH/BK

1164

5-Volt Reference

B5

WH/BK

1164

5-Volt Reference

B6-B7

--

--

Not Used

B6-B7

--

--

Not Used

B8

YE

710

Class 2 Serial Data

B8

YE

710

Class 2 Serial Data

B9

L-BU

1320

Stop Lamp Supply Voltage

B9

L-BU

1320

Stop Lamp Supply Voltage

B10

D-BU

2364

Cooling Fan Speed Signal

B10

D-BU

2364

Cooling Fan Speed Signal

B11

YE/BK

1827

Vehicle Speed Signal

B11

YE/BK

1827

Vehicle Speed Signal

B12

GY/BK

87

Cruise Control Resume/Accel Switch Signal

B12

GY/BK

87

Cruise Control Resume/Accel Switch Signal

C1

WH

121

Engine Speed Signal

C1

WH

121

Engine Speed Signal

C2

L-BU

6106

High Speed GMLAN Serial Data (-)

C2

L-BU

6106

High Speed GMLAN Serial Data (-)

C3

BK

2759

Low Reference

C3

BK

2759

Low Reference

C4

PK

1020

Ignition 0 Voltage

C4

PK

1020

Ignition 0 Voltage

C5

BN/WH

419

MIL Control

C5

BN/WH

419

MIL Control

C6-C7

--

--

Not Used

C6-C7

--

--

Not Used

C8

PU

420

TCC Brake Switch/Cruise Control Release Signal

C8

PU

420

TCC Brake Switch/Cruise Control Release Signal

C9

D-BU

6105

High Speed GMLAN Serial Data (+)

C9

D-BU

6105

High Speed GMLAN Serial Data (+)

C10

PU

1589

Fuel Level Sensor Signal - Primary

C10

PU

1589

Fuel Level Sensor Signal - Primary

C11

D-GN

1049

ECM/PCM/VCM Class 2 Serial Data

C11

D-GN

1049

ECM/PCM/VCM Class 2 Serial Data

C12

D-GN/WH

817

Vehicle Speed Signal

C12

D-GN/WH

817

Vehicle Speed Signal

D1

D-BU

84

Cruise Control Set/Coast Switch Signal

D1

D-BU

84

Cruise Control Set/Coast Switch Signal

D2

L-GN

2278

A/C Compressor Status Signal

D2

L-GN

2278

A/C Compressor Status Signal

D3

GY

597

5-Volt Reference

D3

GY

597

5-Volt Reference

D4

--

--

Not Used

D4

--

--

Not Used

D5

--

--

Not Used

D5

--

--

Not Used

D6

OG/BK

1786

Ignition Lock Cylinder Control Actuator Signal

D6

OG/BK

1786

Ignition Lock Cylinder Control Actuator Signal

D7

GY/BK

1694

4WD Low Signal (NP8)

D7

GY/BK

1694

4WD Low Signal (NP8)

D8

YE

243

Accessory Voltage

D8

YE

243

Accessory Voltage

C108 (5.3L) Engine Harness to Ignition Coil Harness


Object Number: 684790  Size: CH

Object Number: 365940  Size: CH

Connector Part Information

    • 12047938
    • 8-Way F Metri-Pack 150 Series Sealed (L-GY)

Connector Part Information

    • 12047933
    • 8-Way M Metri-Pack 150 Series Sealed (L-GY)

Pin

Wire Color

Circuit No.

Function

Pin

Wire Color

Circuit No.

Function

A

BK

550

Ground

A

BK

151

Ground

B

RD/WH

2122

IC 2 Control

B

RD

2127

IC 2 Control

C

D-GN/WH

2124

IC 4 Control

C

D-GN

2125

IC 4 Control

D

--

--

Not Used

D

--

--

Not Used

E

BN/WH

2130

Low Reference

E

BN

2129

Low Reference

F

L-BU/WH

2126

IC 6 Control

F

L-BU

2123

IC 6 Control

G

PU/WH

2128

IC 8 Control

G

PU

2121

IC 8 Control

H

PK

1339

Ignition 1 Voltage

H

PK

39

Ignition 1 Voltage

C109 (5.3L) Engine Harness to Ignition Coil Harness


Object Number: 684790  Size: CH

Object Number: 365940  Size: CH

Connector Part Information

    • 12047938
    • 8-Way F Metri-Pack 150 Series Sealed (L-GY)

Connector Part Information

    • 12047933
    • 8-Way M Metri-Pack 150 Series Sealed (L-GY)

Pin

Wire Color

Circuit No.

Function

Pin

Wire Color

Circuit No.

Function

A

BK

550

Ground

A

BK

151

Ground

B

RD

2127

IC 7 Control

B

RD

2127

IC 7 Control

C

D-GN

2125

IC 5 Control

C

D-GN

2125

IC 5 Control

D

--

--

Not Used

D

--

--

Not Used

E

BN

2129

Low Reference

E

BN

2129

Low Reference

F

L-BU

2123

IC 3 Control

F

L-BU

2123

IC 3 Control

G

PU

2121

IC 1 Control

G

PU

2121

IC 1 Control

H

PK

1239

Ignition 1 Voltage

H

PK

39

Ignition 1 Voltage

C110 (5.3L) Engine Harness to Camshaft Position Sensor Jumper Harness


Object Number: 684807  Size: CH

Object Number: 655690  Size: CH

Connector Part Information

    • 12110293
    • 3-Way F Metri-Pack 150 Series Sealed (BK)

Connector Part Information

    • 12129615
    • 3-Way M Metri-Pack 150 Series Sealed (BK)

Pin

Wire Color

Circuit No.

Function

Pin

Wire Color

Circuit No.

Function

A

RD

631

12-Volt Reference

A

RD

--

12-Volt Reference

B

PK/BK

632

Low Reference

B

PK/BK

--

Low Reference

C

BN/WH

633

CMP Sensor Signal

C

BN/WH

--

CMP Sensor Signal

C118 Forward Lamp Harness to Cooling Fan Tether Harness


Object Number: 632357  Size: CH

Object Number: 646396  Size: CH

Connector Part Information

    • 15326829
    • 6-Way F Metri-Pack 150 Series (BK)

Connector Part Information

    • 15326833
    • 6-Way M Metri-Pack 150 Series (BK)

Pin

Wire Color

Circuit No.

Function

Pin

Wire Color

Circuit No.

Function

A

BK

250

Ground

A

BK

250

Ground

B

WH

2368

Cooling Fan Clutch Supply Voltage

B

WH

2368

Cooling Fan Clutch Supply Voltage

C

GY

2365

Low Reference

C

GY/WH

2365

Low Reference

D

D-BU

2364

Cooling Fan Speed Signal

D

D-BU

2364

Cooling Fan Speed Signal

E

GY

597

5-Volt Reference

E

GY

597

5-Volt Reference

F

--

--

Not Used

F

--

--

Not Used

C175 Engine Harness to Automatic Transmission Harness


Object Number: 684877  Size: CH

Object Number: 808696  Size: CH

Connector Part Information

    • 12191511
    • 20-Way F Micro-Pack 100W Series (GY)

Connector Part Information

    • 12160782
    • 20-Way M Micro-Pack 100W Series (GY)

Pin

Wire Color

Circuit No.

Function

Pin

Wire Color

Circuit No.

Function

A

L-GN

1222

1-2 Shift Solenoid Valve Control

A

L-GN

1222

1-2 Shift Solenoid Valve Control

B

YE/BK

1223

2-3 Shift Solenoid Valve Control

B

YE

1223

2-3 Shift Solenoid Valve Control

C

RD/BK

1228

PC Solenoid Valve High Control (Sol. A)

C

PU

1228

PC Solenoid Valve High Control (Sol. A)

D

L-BU/WH

1229

PC Solenoid Valve Low Control (Sol. A)

D

L-BU

1229

PC Solenoid Valve Low Control (Sol. A)

E

PK

1020

Ignition 0 Voltage (4.2L)

E

RD

839

Ignition 0 Voltage (4.2L)

PK

139

Ignition 1 Voltage (5.3L)

RD

839

Ignition 1 Voltage (5.3L)

F-K

--

--

Not Used

F-K

--

--

Not Used

L

YE/BK

1227

TFT Sensor Signal

L

BN

1227

TFT Sensor Signal

M

BK

2762

Low Reference

M

GY

452

Low Reference

N

PK

1224

Transmission Fluid Pressure Switch Signal A

N

PK

1224

Transmission Fluid Pressure Switch Signal A

P

RD

1226

Transmission Fluid Pressure Switch Signal C

P

OG

1226

Transmission Fluid Pressure Switch Signal C

R

D-BU

1225

Transmission Fluid Pressure Switch Signal B

R

D-BU

1225

Transmission Fluid Pressure Switch Signal B

S

WH

687

3-2 Shift Solenoid Valve Control

S

WH

687

3-2 Shift Solenoid Valve Control

T

TN/BK

422

TCC Solenoid Valve Control

T

BK

422

TCC Solenoid Valve Control

U

BN

418

TCC PWM Solenoid Valve Control

U

TN

418

TCC PWM Solenoid Valve Control

V-W

--

--

Not Used

V-W

--

--

Not Used

C201 Steering Column Harness to I/P Harness


Object Number: 794237  Size: CH

Object Number: 510556  Size: CH

Connector Part Information

    • 12047842
    • 17-Way F Metri-Pack 150 Series (BK)
    • 12084183
    • 18-Way F Metri-Pack 280, 630 Series (BK)
    • 12047840
    • 13-Way F Metri-Pack 280 Series (L-GY)

Connector Part Information

    • 12077822
    • 48-Way M Metri-Pack 150, 280, 630 Series (BK)

Pin

Wire Color

Circuit No.

Function

Pin

Wire Color

Circuit No.

Function

A1

OG

5286

Adjustable Pedals Relay Forward Control (JF4)

A1

PU

5286

Adjustable Pedals Relay Forward Control (JF4)

A2

PK

639

Ignition 1 Voltage

A2

PK

639

Ignition 1 Voltage

A3

BN

2309

Front Park Lamps Supply Voltage

A3

BN

2309

Front Park Lamps Supply Voltage

A4

L-GN

1427

Right Turn Signal Switch Signal

A4

L-GN

1427

Right Turn Signal Switch Signal

A5

D-GN

1428

Left Turn Signal Switch Signal

A5

D-GN

1428

Left Turn Signal Switch Signal

A6

BK

58

Right Cornering Lamp Supply Voltage (T87)

A6

BK

58

Right Cornering Lamp Supply Voltage (T87)

A7

OG

57

Left Cornering Lamp Supply Voltage (T87)

A7

OG

57

Left Cornering Lamp Supply Voltage (T87)

A8

PK

5285

Adjustable Pedals Relay Forward Control (JF4)

A8

OG/BK

5285

Adjustable Pedals Relay Forward Control (JF4)

A9

OG/BK

1816

DIC Set/Reset Switch Signal (STW)

A9

OG

1816

DIC Set/Reset Switch Signal (STW)

A10

PU

1358

DIC Switch Signal (STW)

A10

D-GN/WH

1358

DIC Switch Signal (STW)

A11

WH

111

Hazard Switch Signal

A11

WH

111

Hazard Switch Signal

A12

L-GN

1011

Remote Radio Control Signal (STW)

A12

L-GN

1011

Remote Radio Control Signal (STW)

A13

D-BU

894

DIC Toggle Switch Signal (STW)

A13

D-BU

894

DIC Toggle Switch Signal (STW)

A14

YE

1327

DIC Fuel Signal (STW)

A14

YE

1327

DIC Fuel Signal (STW)

A15

BN/WH

230

Instrument Panel Lamps Dimming Control (STW)

A15

BN/WH

230

Instrument Panel Lamps Dimming Control (STW)

A16

BK

2250

Ground

A16

BK

2250

Ground

A17

OG

3240

Battery Positive Voltage (JF4)

A17

BK

3240

Battery Positive Voltage (JF4)

B1-B2

--

--

Not Used

B1-B2

--

--

Not Used

B3

PK

2283

12-Volt Reference (STW)

B3

WH

2283

12-Volt Reference (STW)

WH

2283

12-Volt Reference (STW/CD6)

B4

--

--

Not Used

B4

--

--

Not Used

B5

RD

142

Battery Positive Voltage

B5

RD

142

Battery Positive Voltage

B6

BN

4

Accessory Voltage

B6

BN

4

Accessory Voltage

C1

YE

5

Crank Voltage

C1

YE

5

Crank Voltage

C2

RD/WH

812

12-Volt Reference (Domestic)

C2

RD/WH

812

12-Volt Reference (Domestic)

WH

1132

DLC Class 2 Serial Data (BAE)

PU

1132

DLC Class 2 Serial Data (BAE)

C3

WH

710

Class 2 Serial Data (BAE)

C3

YE

710

Class 2 Serial Data (BAE)

C4

OG/BK

1835

Security System Sensor Low Reference (Domestic)

C4

BK

1835

Security System Sensor Low Reference (Domestic)

PK

1020

Ignition 0 Voltage (BAE)

PK

1020

Ignition 0 Voltage (BAE)

C5

WH

1390

Off/Run/Crank Voltage

C5

WH

1390

Off/Run/Crank Voltage

C6

PK

3

Ignition 1 Voltage

C6

PK

3

Ignition 1 Voltage

D1

OG

300

Ignition 3 Voltage

D1

OG

300

Ignition 3 Voltage

D2

RD/WH

342

Battery Positive Voltage

D2

RD

342

Battery Positive Voltage

D3

OG

1140

Battery Positive Voltage (BAE)

D3

OG

1140

Battery Positive Voltage (BAE)

YE

1836

Security System Sensor Signal (Domestic)

YE

1836

Security System Sensor Signal (Domestic)

D4

BK/YE

28

Horn Relay Control

D4

BK

28

Horn Relay Control

BK

28

Horn Relay Control

D5-D6

--

--

Not Used

D5-D6

--

--

Not Used

E1

--

--

Not Used

E1

--

--

Not Used

E2

TN

751

Ground

E2

BK/WH

751

Ground

E3

GY/BK

87

Cruise Control Resume/Accel Switch Signal

E3

GY/BK

87

Cruise Control Resume/Accel Switch Signal

E4

PK

94

Windshield Wiper Switch Signal 1

E4

PK

94

Windshield Wiper Switch Signal 1

E5

D-BU/WH

477

Windshield Wiper Switch High Signal

E5

D-BU

477

Windshield Wiper Switch High Signal

E6

L-GN

80

Key In Ignition Switch Signal

E6

L-GN

80

Key In Ignition Switch Signal

E7

YE

1996

Ignition Lock Cylinder Control Actuator Signal

E7

YE

1996

Ignition Lock Cylinder Control Actuator Signal

E8

GY

478

Windshield Wiper Switch Supply Voltage

E8

GY

478

Windshield Wiper Switch Supply Voltage

E9

GY/WH

397

Cruise Control ON Switch Signal

E9

GY

397

Cruise Control ON Switch Signal

E10

D-BU

84

Cruise Control Set/Coast Switch Signal

E10

D-BU

84

Cruise Control Set/Coast Switch Signal

E11

YE/BK

307

Headlamp Switch Flash to Pass Signal

E11

YE

307

Headlamp Switch Flash to Pass Signal

E12

L-GN

11

Headlamp High Beam Supply Voltage

E12

L-GN

11

Headlamp High Beam Supply Voltage

E13

BN

341

Ignition 3 Voltage

E13

BN

341

Ignition 3 Voltage

C202 Body Harness to I/P Harness


Object Number: 646420  Size: CH

Object Number: 744044  Size: CH

Connector Part Information

    • 15332134
    • 4-Way F GT 150 Series (BK)

Connector Part Information

    • 15332136
    • 4-Way M GT 150 Series (BK)

Pin

Wire Color

Circuit No.

Function

Pin

Wire Color

Circuit No.

Function

A

OG/BK

2119

Seat Belt Pretensioner - Left - Low Control

A

OG/BK

2119

Seat Belt Pretensioner - Left - Low Control

B

BK/WH

2118

Seat Belt Pretensioner - Left - Low Control

B

BK/WH

2118

Seat Belt Pretensioner - Left - Low Control

C

L-GN

2116

Seat Belt Pretensioner - Right - High Control

C

L-GN

2116

Seat Belt Pretensioner - Right - High Control

D

OG

2117

Seat Belt Pretensioner - Right - Low Control

D

OG

2117

Seat Belt Pretensioner - Right - Low Control

C203 Body Harness to I/P Harness (ASF)


Object Number: 594473  Size: CH

Object Number: 684931  Size: CH

Connector Part Information

    • 15336479
    • 4-Way F Metri-Pack 280 Series (YE)

Connector Part Information

    • 15336476
    • 4-Way M Metri-Pack 280 Series (YE)

Pin

Wire Color

Circuit No.

Function

Pin

Wire Color

Circuit No.

Function

A1

D-GN

2105

Side Impact Module - Left - High Control

A1

D-GN

2105

Side Impact Module - Left - High Control

A2

BN

2106

Side Impact Module - Left - Low Control

A2

BN

2106

Side Impact Module - Left - Low Control

B1

GY

2103

Side Impact Module - Right - High Control

B1

GY

2103

Side Impact Module - Right - High Control

B2

D-BU

2104

Side Impact Module - Right - Low Control

B2

D-BU

2104

Side Impact Module - Right - Low Control

C220 Infotainment Jumper harness to Body Harness (U42)


Object Number: 831380  Size: CH

Object Number: 831380  Size: CH

Connector Part Information

    • 15332141
    • 6-Way F GT 150, 280 Series Sealed (BK)

Connector Part Information

    • 15332142
    • 6-Way M GT 150 Series (BK)

Pin

Wire Color

Circuit No.

Function

Pin

Wire Color

Circuit No.

Function

A

BK/WH

372

Audio Common

A

BK/WH

372

Audio Common

B

D-GN/WH

368

Right Audio Signal (+)

B

D-GN/WH

368

Right Audio Signal (+)

C

BN/WH

367

Left Audio Signal (+)

C

BN/WH

367

Left Audio Signal (+)

D

BARE

1573

Drain Wire

D

BARE

1573

Drain Wire

E-F

--

--

Not Used

E-F

--

--

Not Used

C221 Infotainment Jumper Harness to I/P Harness (U42/U2K)


Object Number: 556473  Size: CH

Object Number: 542307  Size: CH

Connector Part Information

    • 15326924
    • 8-Way F GT 280 Series (BK)

Connector Part Information

    • 15326928
    • 8-Way M GT 280 Series (BK)

Pin

Wire Color

Circuit No.

Function

Pin

Wire Color

Circuit No.

Function

A

BK/WH

372

Audio Common (U42/U2K)

A

BK/WH

372

Audio Common (U42/U2K)

BK/WH

372

Audio Common (U42 w/U2K)

B

D-GN/WH

368

Right Audio Signal (+) (U42/U2K)

B

D-GN/WH

368

Right Audio Signal (+) (U42/U2K)

D-GN/WH

368

Right Audio Signal (+) (U42 w/U2K)

C

BN/WH

367

Left Audio Signal (+) (U42/U2K)

C

BN/WH

367

Left Audio Signal (+) (U42/U2K)

BN/WH

367

Left Audio Signal (+) (U42 w/U2K)

D

BARE

1573

Drain Wire(U42/U2K)

D

BARE

1573

Drain Wire (U42/U2K)

E

--

--

Not Used

E

--

--

Not Used

F

OG

340

Battery Positive Voltage (U2K)

F

OG

340

Battery Positive Voltage (U2K)

G

YE

5679

Class 2 Serial Data (U2K)

G

YE

5679

Class 2 Serial Data (U2K)

H

BK/WH

751

Ground (U2K)

H

BK/WH

751

Ground (U2K)

C225 I/P Harness to Electronic Adjustable Pedal Assembly Harness (JF4)


Object Number: 646384  Size: CH

Object Number: 646388  Size: CH

Connector Part Information

    • 15332153
    • 10-Way F GT 150 Series (BK)

Connector Part Information

    • 15332158
    • 10-Way M GT 150 Series (BK)

Pin

Wire Color

Circuit No.

Function

Pin

Wire Color

Circuit No.

Function

A

--

--

Not Used

A

--

--

Not Used

B

PK

5289

Adjustable Pedals Position Sensor Signal

B

PK

--

Adjustable Pedals Position Sensor Signal

C

OG/BK

5285

Adjustable Pedals Relay Rearward Control

C

OG/BK

--

Adjustable Pedals Relay Rearward Control

D

OG

3040

Battery Positive Voltage

D

OG

--

Battery Positive Voltage

E

PU

5286

Adjustable Pedals Relay Forward Control

E

PU

--

Adjustable Pedals Relay Forward Control

F

WH

5287

5-Volt Reference

F

WH

--

5-Volt Reference

G

BN/WH

5288

Low Reference

G

BN/WH

--

Low Reference

H

D-GN

5604

Adjustable Pedal Relay Rearward Control

H

D-GN

--

Adjustable Pedal Relay Rearward Control

J

BK

2250

Ground

J

BK

--

Ground

K

TN

5603

Adjustable Pedal Relay Forward Control

K

TN

--

Adjustable Pedal Relay Forward Control

C275 I/P Harness to Steering Column Harness


Object Number: 594473  Size: CH

Object Number: 684931  Size: CH

Connector Part Information

    • 15336479
    • 4-Way F Metri-Pack 280 Series (YE)

Connector Part Information

    • 15336476
    • 4-Way M Metri-Pack 280 Series (YE)

Pin

Wire Color

Circuit No.

Function

Pin

Wire Color

Circuit No.

Function

A1

TN

3021

Steering Wheel Module - Stage 1 - High Control

A1

TN

3021

Steering Wheel Module - Stage 1 - High Control

A2

BN

3020

Steering Wheel Module - Stage 1 - Low Control

A2

BN

3020

Steering Wheel Module - Stage 1 - Low Control

B1

WH

3023

Steering Wheel Module - Stage 2 - High Control

B1

WH

3023

Steering Wheel Module - Stage 2 - High Control

B2

PK

3022

Steering Wheel Module - Stage 2 - Low Control

B2

PK

3022

Steering Wheel Module - Stage 2 - Low Control

C277 Steering Column Harness to Steering Wheel Harness


Object Number: 62439  Size: CH

Object Number: 62434  Size: CH

Connector Part Information

    • 12047886
    • 8-Way F Metri-Pack 150 Series (BK)

Connector Part Information

    • 12045688
    • 8-Way M Metri-Pack 150 Series (BK)

Pin

Wire Color

Circuit No.

Function

Pin

Wire Color

Circuit No.

Function

A

YE

1327

DIC Fuel Signal (STW)

A

YE

1327

DIC Fuel Signal (STW)

B

D-BU

894

DIC Toggle Switch Signal (STW)

B

D-BU

894

DIC Toggle Switch Signal (STW)

C

PU

1358

DIC Switch Signal (STW)

C

D-GN

1358

DIC Switch Signal (STW)

D

OG/BK

1816

DIC Set/Reset Switch Signal (STW)

D

OG

1816

DIC Set/Reset Switch Signal (STW)

E

PK

2283

12-Volt Reference (STW)

E

WH

2283

12-Volt Reference (STW)

F

BN/WH

230

Instrument Panel Lamps Dimming Control (STW)

F

BN/WH

230

Instrument Panel Lamps Dimming Control (STW)

G

L-GN

1011

Remote Radio Control Signal (STW)

G

L-GN

1011

Remote Radio Control Signal (STW)

L-GN

1011

Remote Radio Control Signal (STW)

H

BK

2250

Ground (STW)

H

BK

2250

Ground (STW)

C302 Traction Control Jumper Harness to Console Harness (W49 w/NW7)


Object Number: 40422  Size: CH

Object Number: 40425  Size: CH

Connector Part Information

    • 12064762
    • 6-Way F Metri-Pack 150 Series (GY)

Connector Part Information

    • 12089892
    • 6-Way M Metri-Pack 150 Series (GY)

Pin

Wire Color

Circuit No.

Function

Pin

Wire Color

Circuit No.

Function

A

BN/WH

230

Instrument Panel Lamps Dimming Control

A

BN/WH

230

Instrument Panel Lamps Dimming Control

B

BN

341

Ignition 3 Voltage

B

BN

341

Ignition 3 Voltage

C

PU/WH

1382

LED Dimming Signal

C

PU/WH

1382

LED Dimming Signal

D

BN/WH

1571

Traction Control Switch Signal

D

BN/WH

1571

Traction Control Switch Signal

E

PU

1681

Traction Control System Passive Indicator Control

E

PU

1681

Traction Control System Passive Indicator Control

F

BK

2250

Ground

F

BK

2250

Ground

C303 I/P Harness to Center Console Harness (W49 w/NW7)


Object Number: 831380  Size: CH

Object Number: 1464340  Size: CH

Connector Part Information

    • 15332141
    • 6-Way F GT 150 Series Sealed (BK)

Connector Part Information

    • 15332142
    • 6-Way M GT 150 Series Sealed (BK)

Pin

Wire Color

Circuit No.

Function

Pin

Wire Color

Circuit No.

Function

A

BN/WH

230

Instrument Panel Lamps Dimming Control

A

BN/WH

230

Instrument Panel Lamps Dimming Control

B

PU/WH

1382

LED Dimming Signal/LED Dimming Supply

B

PU/WH

1382

LED Dimming Signal/LED Dimming Supply

C

BN/WH

1571

Traction Control Switch Signal (NW7)

C

BN/WH

1571

Traction Control Switch Signal (NW&

D

WH

1808

Service Traction Control Signal (NW7)

D

WH

1808

Service Traction Control Signal (NW7)

E

PK

639

Ignition 1 Voltage

E

PK

639

Ignition 1 Voltage

F

--

--

Not Used

F

--

--

Not Used

C304 Body Harness to I/P Harness


Object Number: 872523  Size: CH

Object Number: 872524  Size: CH

Connector Part Information

    • 15392711
    • 40-Way F GT Mixed (BU)

Connector Part Information

    • 15392709
    • 40-Way GT Mixed (BU)

Pin

Wire Color

Circuit No.

Function

Pin

Wire Color

Circuit No.

Function

A1

TN

5458

Midgate Overhead Console Switch Up Signal (XUV)

A1

TN

5458

Midgate Overhead Console Switch Up Signal (XUV)

PK

5068

Intrusion Sensor Switch Disable Signal (BAE)

PK

5068

Intrusion Sensor Switch Disable Signal (BAE)

A2

L-GN/WH

2638

Driver Seat Position Sensor - High

A2

L-GN/WH

2638

Driver Seat Position Sensor - High

A3

D-GN

2164

Side Impact Sensor - Right - Signal (ASF)

A3

D-GN

2164

Side Impact Sensor - Right - Signal (ASF)

A4

PU

493

Rear Seat Audio Enable Signal (UQA)

A4

PU

493

Rear Seat Audio Enable Signal (UQA)

A5

GY/BK

2334

Remote Amplifier Sense Line Signal (UQA)

A5

GY/BK

2334

Remote Amplifier Sense Line Signal (UQA)

A6

BN

718

Low Reference (CJ2)

A6

BN

718

Low Reference (CJ2)

A7

YE

1139

Ignition 1 Voltage

A7

YE

1139

Ignition 1 Voltage

A8

BK

751

Ground

A8

BK/WH

751

Ground

B1

D-BU

6252

Midgate Ajar Indicator Signal (XUV)

B1

D-BU

6252

Midgate Ajar Indicator Signal (XUV)

BN

5204

Intrusion Sensor Data Signal (BAE)

BN

5204

Intrusion Sensor Data Signal (BAE)

B2

PK

5289

Adjustable Pedals Position Sensor Signal (JF4)

B2

PK

5289

Adjustable Pedals Position Sensor Signal (JF4)

B3

D-BU

1857

Left Front Midrange Speaker Output (+) (UQA)

B3

D-BU

1857

Left Front Midrange Speaker Output (+) (UQA)

B4

OG/BK

2061

Navigation Mono Audio Signal (-) (UE1)

B4

OG/BK

2061

Navigation Mono Audio Signal (-) (UE1)

PK

5363

Inclination Sensor Low Reference (BAE)

PK

5363

Inclination Sensor Low Reference (BAE)

B5

PK/BK

2062

Navigation Mono Audio Signal (+) (UE1)

B5

PK/BK

2062

Navigation Mono Audio Signal (+) (UE1)

L-BU

5362

Inclination Sensor Signal (BAE)

L-BU

5362

Inclination Sensor Signal (BAE)

B6

BN/WH

5288

Low Reference (JF4)

B6

BN/WH

5288

Low Reference (JF4)

B7

PK

314

Radio On Signal (UQA)

B7

PK

314

Radio On Signal (UQA)

B8

WH/BK

1236

Inside Air Temperature Sensor Assembly Control (CJ2)

B8

WH/BK

1236

Inside Air Temperature Sensor Assembly Control (CJ2)

B9

RD

2484

Seat Belt Switch Signal - Passenger - Solenoid Reset

B9

RD

2484

Seat Belt Switch Signal - Passenger - Solenoid Reset

B10

D-GN

1953

Right Front Midrange Speaker Output (-) (UQA)

B10

D-GN

1953

Right Front Midrange Speaker Output (-) (UQA)

B11

D-GN

1947

Left Front Low Level Audio Signal (-) (UQA)

B11

D-GN

1947

Left Front Low Level Audio Signal (-) (UQA)

GY

118

Left Front Speaker Output (-) (w/o UQA)

GY

118

Left Front Speaker Output (-) (w/o UQA)

B12

TN

511

Left Front Low Level Audio Signal (+) (UQA)

B12

TN

511

Left Front Low Level Audio Signal (+) (UQA)

TN

201

Left Front Speaker Output (+) (w/o UQA)

TN

201

Left Front Speaker Output (+) (w/o UQA)

C1

L-BU

2645

Passenger Seat Position - High

C1

L-BU

2645

Passenger Seat Position - High

C2

D-BU/WH

2218

Serial Communications Circuit

C2

D-BU/WH

2218

Serial Communications Circuit

C3

L-BU

1957

Left Front Midrange Speaker Output (-) (UQA)

C3

L-BU

1957

Left Front Midrange Speaker Output (-) (UQA)

C4

BK/WH

2644

Seat Position Sensor Return

C4

BK/WH

2644

Seat Position Sensor Return

C5

D-GN

734

Inside Air Temperature Sensor Signal (CJ2)

C5

D-GN

734

Inside Air Temperature Sensor Signal (CJ2)

C6

WH

5287

5-Volt Reference (JF4)

C6

WH

5287

5-Volt Reference (JF4)

C7

OG

1853

Right Front Midrange Speaker Output (+) (UQA)

C7

OG

1853

Right Front Midrange Speaker Output (+) (UQA)

C8

TN

2163

Side Impact Sensor - Right - Voltage (ASF)

C8

TN

2163

Side Impact Sensor - Right - Voltage (ASF)

C9

D-GN

5604

Adjustable Pedal Relay Rearward Control (JF4)

C9

D-GN

5604

Adjustable Pedal Relay Rearward Control (JF4)

C10

PK

2306

Occupant Sensor - Serial Data Link

C10

PK

2306

Occupant Sensor - Serial Data Link

C11

WH

2162

Side Impact Sensor - Left - Signal (ASF)

C11

WH

2162

Side Impact Sensor - Left - Signal (ASF)

C12

D-BU

546

Right Rear Low Level Audio Signal (+) (UQA)

C12

D-BU

546

Right Rear Low Level Audio Signal (+) (UQA)

D-BU

46

Right Rear Speaker Output (+) (w/o UQA)

D-BU

46

Right Rear Speaker Output (+) (w/o UQA)

D1

OG/BK

1546

Right Front Low Level Audio Signal (-) (UQA)

D1

OG/BK

1546

Right Front Low Level Audio Signal (-) (UQA)

D-GN

117

Right Front Speaker Output (-) (w/o UQA)

D-GN

117

Right Front Speaker Output (-) (w/o UQA)

D2

TN

5603

Adjustable Pedal Relay Forward Control (JF4)

D2

TN

5603

Adjustable Pedal Relay Forward Control (JF4)

D3

D-GN/WH

1547

Rear Low Level Audio Signal (-) (UQA)

D3

D-GN/WH

1547

Rear Low Level Audio Signal (-) (UQA)

YE

116

Left Rear Speaker Output (-) (w/o UQA)

YE

116

Left Rear Speaker Output (-) (w/o UQA)

D4

BK/WH

238

Seat Belt Switch - Left

D4

BK/WH

238

Seat Belt Switch - Left

D5

L-GN

512

Right Front Low Level Audio Signal (+) (UQA)

D5

L-GN

512

Right Front Low Level Audio Signal (+) (UQA)

L-GN

200

Right Front Speaker Output (+) (w/o UQA)

L-GN

200

Right Front Speaker Output (+) (w/o UQA)

D6

BN

599

Left Rear Low Level Audio Signal (+) (UQA)

D6

BN

599

Left Rear Low Level Audio Signal (+) (UQA)

BN

199

Left Rear Speaker Output (+) (w/o UQA)

BN

199

Left Rear Speaker Output (+) (w/o UQA)

D7

BK

1946

Right Rear Low Level Audio Signal (-) (UQA)

D7

BK

1946

Right Rear Low Level Audio Signal (-) (UQA)

L-BU

115

Right Rear Speaker Output (-) (w/o UQA)

L-BU

115

Right Rear Speaker Output (-) (w/o UQA)

D8

YE

2161

Side Impact Sensor - Left - Voltage (ASF)

D8

YE

2161

Side Impact Sensor - Left - Voltage (ASF)

C305 Overhead Console Harness to Headliner Harness (Except XUV)


Object Number: 800518  Size: CH

Object Number: 646377  Size: CH

Connector Part Information

    • 15332177
    • 16-Way F GT 150 Series (BK)

Connector Part Information

    • 15332182
    • 16-Way M GT 150 Series (BK)

Pin

Wire Color

Circuit No.

Function

Pin

Wire Color

Circuit No.

Function

A

D-BU

2575

Power Window Motor Feed - Right Rear Vent - Close (A34)

A

D-BU

2575

Power Window Motor Feed - Right Rear Vent - Close (A34)

B

D-GN

801

RAP Fuse Supply Voltage (A34)

B

D-GN

801

RAP Fuse Supply Voltage (A34)

C

PU

2574

Power Window Motor Feed - Left Rear Vent - Open (A34)

C

PU

2574

Power Window Motor Feed - Left Rear Vent - Open (A34)

D

OG

3140

Battery Positive Voltage

D

OG

3140

Battery Positive Voltage

E

BN/WH

230

Instrument Panel Lamps Dimming Control

E

BN/WH

230

Instrument Panel Lamps Dimming Control

F

BK

1350

Ground

F

BK

1350

Ground

G

D-BU

2573

Power Window Motor Feed - Left Rear Vent - Close (A34)

G

D-BU

2573

Power Window Motor Feed - Left Rear Vent - Close (A34)

H

OG

110

Sunroof Switch Close Signal (CF5)

H

OG

110

Sunroof Switch Close Signal (CF5)

J

D-BU

128

Sunroof Switch Low Reference (CF5)

J

D-BU

128

Sunroof Switch Low Reference (CF5)

K

BK

1150

Ground (A34)

K

BK

1150

Ground (A34)

L

BN

100

Sunroof Switch Open Signal (CF5)

L

BN

100

Sunroof Switch Open Signal (CF5)

M

GY/BK

690

Courtesy Lamp Supply Voltage (DK7)

M

GY/BK

690

Courtesy Lamp Supply Voltage (DK7)

N

OG

1732

Inadvertent Power Courtesy Lamp Supply Voltage (DK7)

N

OG

1732

Inadvertent Power Courtesy Lamp Supply Voltage (DK7)

P

D-GN

654

Cellular Microphone Signal (DK7)

P

D-GN

654

Cellular Microphone Signal (DK7)

R

GY

655

Cellular Microphone Low Reference (DK7)

R

GY

655

Cellular Microphone Low Reference (DK7)

S

PU

2576

Power Window Motor Feed - Right Rear Vent - Open (A34)

S

PU

2576

Power Window Motor Feed - Right Rear Vent - Open (A34)

C305 Overhead Console Harness to Headliner Harness (XUV)


Object Number: 646384  Size: CH

Object Number: 646388  Size: CH

Connector Part Information

    • 15332153
    • 10-Way F GT 150 Series (BK)

Connector Part Information

    • 15332158
    • 10-Way M GT 150 Series (BK)

Pin

Wire Color

Circuit No.

Function

Pin

Wire Color

Circuit No.

Function

A

BK

1350

Ground

A

BK

1350

Ground

B

BN/WH

230

Instrument Panel Lamps Dimming Control

B

BN/WH

230

Instrument Panel Lamps Dimming Control

C

--

--

Not Used

C

--

--

Not Used

D

OG

3140

Battery Positive Voltage

D

OG

3140

Battery Positive Voltage

E-F

--

--

Not Used

E-F

--

--

Not Used

G

D-GN

654

Cellular Microphone Low Reference

G

D-GN

654

Cellular Microphone Low Reference

H

GY

655

Cellular Microphone Signal

H

GY

655

Cellular Microphone Signal

J

GY/BK

690

Courtesy Lamp Supply Voltage (DK7)

J

GY/BK

690

Courtesy Lamp Supply Voltage (DK7)

K

OG

1732

Inadvertent Power Courtesy Lamp Supply Voltage (DK7)

K

OG

1732

Inadvertent Power Courtesy Lamp Supply Voltage (DK7)

C306 Headliner Harness to Body Harness


Object Number: 646383  Size: CH

Object Number: 632345  Size: CH

Connector Part Information

    • 15326863
    • 16-Way F GT 150 Series Sealed 4.0 (BK)

Connector Part Information

    • 15326868
    • 16-Way M 150 Series Sealed (BK)

Pin

Wire Color

Circuit No.

Function

Pin

Wire Color

Circuit No.

Function

A

BN/WH

2517

Keypad Red LED Signal (UE1)

A

BN/WH

2517

Keypad Red LED Signal (UE1)

B

YE/BK

2516

Keypad Green LED Signal (UE1)

B

YE/BK

2516

Keypad Green LED Signal (UE1)

C

D-GN/WH

2514

Keypad Signal (UE1)

C

D-GN/WH

2514

Keypad Signal (UE1)

D

L-GN/BK

2515

Keypad Supply Voltage (UE1)

D

L-GN/BK

2515

Keypad Supply Voltage (UE1)

E

GY

655

Cellular Microphone Signal (XUV w/UE1)

E

GY

655

Cellular Microphone Signal (XUV w/UE1)

D-GN

654

Cellular Microphone Signal (Except XUV w/UE1)

D-GN

654

Cellular Microphone Signal (Except XUV w/UE1)

F

D-GN

654

Cellular Microphone Low Reference (XUV w/UE1)

F

D-GN

654

Cellular Microphone Low Reference (XUV w/UE1)

GY

655

Cellular Microphone Low Reference (Except XUV w/UE1)

GY

655

Cellular Microphone Low Reference (Except XUV w/UE1)

G

BK/WH

372

Audio Common (U42)

G

BK/WH

372

Audio Common (U42)

D-GN

5437

Audio Common (XUV w/U42)

H

L-GN

5438

Endgate Overhead Console Switch Down Signal (XUV)

H

L-GN

5438

Endgate Overhead Console Switch Down Signal (XUV)

D-GN/WH

368

Right Audio Signal (+) (U42)

D-GN/WH

368

Right Audio Signal (+) (U42)

J

YE

5439

Endgate Overhead Console Switch Up Signal (XUV)

J

YE

5439

Endgate Overhead Console Switch Up Signal (XUV)

BN/WH

367

Left Audio Signal (+) (U42)

BN/WH

367

Left Audio Signal (+) (U42)

K

WH

5457

Midgate Overhead Console Switch Down Signal (XUV)

K

WH

5457

Midgate Overhead Console Switch Down Signal (XUV)

YE/BK

5485

Class 2 Serial Data (Except XUV w/U42)

YE/BK

5485

Class 2 Serial Data (Except XUV)

L

TN

5458

Midgate Overhead Console Switch Up Signal (XUV)

L

TN

5458

Midgate Overhead Console Switch Up Signal (XUV)

BN/WH

2609

Park Lamps Supply Voltage (Y92)

BN/WH

2609

Park Lamps Supply Voltage (Y92)

M

D-BU

5435

Rear Movable Roof Switch Open Signal (XUV)

M

D-BU

5435

Rear Movable Roof Switch Open Signal (XUV)

GY/BK

690

Courtesy Lamp Supply Voltage (Y92)

GY/BK

690

Courtesy Lamp Supply Voltage (Y92)

N

L-BU

5436

Rear Movable Roof Switch Close Signal (XUV)

N

L-BU

5436

Rear Movable Roof Switch Close Signal (XUV)

OG

1732

Courtesy Lamps Supply Voltage (Y92)

OG

1732

Courtesy Lamps Supply Voltage (Y92)

P

GY/BK

690

Courtesy Lamps Supply Voltage (XUV)

P

GY/BK

690

Courtesy Lamps Supply Voltage (XUV)

R

GY/BK

1798

Ground (XUV)

R

GY/BK

1798

Ground (XUV)

S

OG

3440

Battery Positive Voltage (XUV)

S

OG

3440

Battery Positive Voltage (XUV)

C307 Console Harness to I/P Harness


Object Number: 646392  Size: CH

Object Number: 808884  Size: CH

Connector Part Information

    • 15304690
    • 18-Way F GT 150 280 Series (GY)

Connector Part Information

    • 15336467
    • 18-Way M GT (GY)

Pin

Wire Color

Circuit No.

Function

Pin

Wire Color

Circuit No.

Function

A1

BK

1946

Right Rear Low Level Audio Signal (-) (UK6)

A1

BK

1946

Right Rear Low Level Audio Signal (-)

A2

YE

2277

Auxiliary HVAC Enable Control (CJ3)

A2

YE

2277

Auxiliary HVAC Enable Control (CJ3)

A3

BN/WH

230

Instrument Panel Lamps Dimming Control

A3

BN/WH

230

Instrument Panel Lamps Dimming Control

A4

BN

341

Ignition 3 Voltage (W49 w/NW7)

A4

BN

341

Ignition 3 Voltage

BN

341

Ignition 3 Voltage (Short Wheel Base/XUV)

BN

341

Ignition 3 Voltage (Short Wheel Base w/CJ3)

A5

OG

1040

Battery Positive Voltage

A5

OG

1040

Battery Positive Voltage

A6

BK

2250

Ground

A6

BK

2250

Ground

A7

GY

2289

Rear HVAC/Audio Class 2 Serial Data

A7

GY

2289

Rear HVAC/Audio Class 2 Serial Data

A8

BN

599

Left Rear Low Level Audio Signal (+) (UK6)

A8

BN/WH

599

Left Rear Low Level Audio Signal (+) (UK6)

A9

D-BU

546

Right Rear Low Level Audio Signal (+) (UK6)

A9

D-BU

546

Right Rear Low Level Audio Signal (+)

B1

BN

199

Left Rear Speaker Output (+) (UK6)

B1

BN

199

Left Rear Speaker Output (+)

B2

D-BU

46

Right Rear Speaker Output (+) (UK6)

B2

D-BU

46

Right Rear Speaker Output (+)

B3

BN

1547

Left Rear Low Level Audio Signal (-) (UK6)

B3

D-GN/WH

1547

Left Rear Low Level Audio Signal (-) (UK6)

B4

OG

4340

Battery Positive Voltage (Except Short Wheel Base w/CJ3)

B4

OG

4340

Battery Positive Voltage (Except Short Wheel Base w/CJ3)

B5

YE

116

Left Rear Speaker Output (-) (UK6)

B5

YE

116

Left Rear Speaker Output (-)

B6

L-BU

115

Right Rear Speaker Output (-) (UK6)

B6

L-BU

115

Right Rear Speaker Output (-)

B7

D-GN

2347

Auxiliary Blower Motor High Speed Control (CJ2)

B7

D-GN

2347

Auxiliary Blower Motor High Speed Control (CJ2)

B8

--

--

Not Used

B8

--

--

Not Used

B9

D-BU

2348

Auxiliary Blower Motor Medium Speed Control (CJ2)

B9

D-BU

2348

Auxiliary Blower Motor Medium Speed Control (CJ2)

C308 Headliner Harness to Sunroof Harness (CF5)


Object Number: 646380  Size: CH

Object Number: 814091  Size: CH

Connector Part Information

    • 15326900
    • 6-Way F GT 280 Series Unsealed (BK)

Connector Part Information

    • 15336904
    • 6-Way M GT 280 Series Unsealed (BK)

Pin

Wire Color

Circuit No.

Function

Pin

Wire Color

Circuit No.

Function

A

BK

1150

Ground

A

BK/PU

1150

Ground

B

OG

1840

Battery Positive Voltage (XUV w/CF5)

B

YE/RD

1840

Battery Positive Voltage (CF5)

OG

1740

Battery Positive Voltage (Except XUV w/CF5)

C

D-BU

128

Sunroof Switch Low Reference

C

BN

128

Sunroof Switch Low Reference

D

BN

100

Sunroof Switch Open Signal

D

WH

100

Sunroof Switch Open Signal

E

OG

110

Sunroof Switch Close Signal

E

L-BU

110

Sunroof Switch Close Signal

F

D-BU

1353

RAP Supply Voltage (Short Wheel Base/XUV)

F

PU

1353

RAP Supply Voltage

D-GN

801

RAP Supply Voltage (Long Wheel Base Except XUV)

C309 Body Harness to Console Harness (Long Wheel Base Except XUV)


Object Number: 646384  Size: CH

Object Number: 646388  Size: CH

Connector Part Information

    • 15332153
    • 10-Way F GT 150 Series Unsealed (BK)

Connector Part Information

    • 15332158
    • 10-Way M GT 150 Series Unsealed (BK)

Pin

Wire Color

Circuit No.

Function

Pin

Wire Color

Circuit No.

Function

A

GY

2598

Low Reference

A

GY

2598

Low Reference

B

D-BU

1199

Auxiliary Air Temp Door Position Signal

B

D-BU

1199

Auxiliary Air Temp Door Position Signal

C

YE

2214

Auxiliary Air Temp Door Control

C

YE

2214

Auxiliary Air Temp Door Control

D

GY

2599

Auxiliary Mode Door Control

D

GY

2599

Auxiliary Mode Door Control

E

RD

2600

Auxiliary Actuator Door Control

E

RD

2600

Auxiliary Actuator Door Control

F

BN/WH

2601

Auxiliary Mode Door Position Signal

F

BN/WH

2601

Auxiliary Mode Door Position Signal

G

GY

598

5-Volt Reference

G

GY

598

5-Volt Reference

H

--

--

Not Used

H

GY

2603

TXV Solenoid Control - Not Equipped

J

--

--

Not Used

J

--

--

Not Used

K

GY

2604

Auxiliary Blower Motor Speed Control

K

GY

2604

Auxiliary Blower Motor Speed Control

C310 Engine Harness to Chassis Harness (4WD)


Object Number: 900247  Size: CH

Object Number: 697014  Size: CH

Connector Part Information

    • 15449028
    • 2-Way F GT 150 Series Sealed (BK)

Connector Part Information

    • 15355466
    • 2-Way M GT 150 Series Sealed (BK)

Pin

Wire Color

Circuit No.

Function

Pin

Wire Color

Circuit No.

Function

A

L-GN/BK

822

VSS Low Signal

A

L-GN/BK

822

VSS Low Signal

B

PU/WH

821

VSS High Signal

B

PU/WH

821

VSS High Signal

C311 Body Harness to Driver Seat Harness (A50)


Object Number: 698669  Size: CH

Object Number: 698671  Size: CH

Connector Part Information

    • 15326886
    • 4-Way F GT 280 Series (BK)

Connector Part Information

    • 15326890
    • 4-Way M GT 280 Series (BK)

Pin

Wire Color

Circuit No.

Function

Pin

Wire Color

Circuit No.

Function

A

BK/WH

2644

Seat Position Sensor Return

A

BK/WH

2644

Seat Position Sensor Return

B

--

--

Not Used

B

--

--

Not Used

C

L-GN/WH

2638

Driver Seat Position Sensor - High

C

L-GN/WH

2638

Driver Seat Position Sensor - High

D

BK/WH

238

Seat Belt Switch - Left

D

BK/WH

238

Seat Belt Switch - Left

C311 Body Harness to Driver Seat Harness (AR9)


Object Number: 808699  Size: CH

Object Number: 655857  Size: CH

Connector Part Information

    • 15304692
    • 18-Way F GT Series (BK)

Connector Part Information

    • 15336468
    • 18-Way M GT 150 280 Series (BK)

Pin

Wire Color

Circuit No.

Function

Pin

Wire Color

Circuit No.

Function

A1

TN

2481

Passenger Heated Seat Back Element Supply Voltage (KA1)

A1

TN

2481

Passenger Heated Seat Back Element Supply Voltage (KA1)

A2

PK

2480

Passenger Heated Seat Element Control (KA1)

A2

PK

2480

Passenger Heated Seat Element Control (KA1)

A3

D-BU

2479

Passenger Heated Seat Element Supply Voltage (KA1)

A3

BK

2479

Passenger Heated Seat Element Supply Voltage (KA1)

A4

BK

1350

Ground

A4

BK

1350

Ground

A5

--

--

Not Used

A5

--

--

Not Used

A6

OG

3450

Battery Positive Voltage (AR9)

A6

OG

3450

Battery Positive Voltage (AR9)

A7

L-BU

5476

Passenger Heated Seat Back Low Reference (KA1)

A7

D-GN

5476

Passenger Heated Seat Back Low Reference (KA1)

A8

BK/WH

2644

Seat Position Sensor Return

A8

BK

2644

Seat Position Sensor Return

A9

D-BU

5475

Passenger Heated Seat Back Temperature Sensor Signal (KA1)

A9

D-BU

5475

Passenger Heated Seat Back Temperature Sensor Signal (KA1)

B1

BK/WH

238

Seat Belt Switch - Left

B1

BK/WH

238

Seat Belt Switch - Left

B2

L-GN/WH

2638

Driver Seat Position Sensor - High

B2

BK

2638

Driver Seat Position Sensor - High

B3

BN/WH

5288

Low Reference (JF4)

B3

BK

5288

Low Reference (JF4)

B4

WH

5287

5-Volt Reference (JF4)

B4

OG

5287

5-Volt Reference (JF4)

B5

D-GN

5604

Adjustable Pedal Relay Rearward Control (JF4)

B5

TN

5604

Adjustable Pedal Relay Rearward Control (JF4)

B6

TN

5603

Adjustable Pedal Relay Forward Control (JF4)

B6

YE

5603

Adjustable Pedal Relay Forward Control (JF4)

B7

PK

5289

Adjustable Pedals Position Sensor Signal (JF4)

B7

BK

5289

Adjustable Pedals Position Sensor Signal (JF4)

B8

OG

2740

Battery Positive Voltage (AR9)

B8

OG

2740

Battery Positive Voltage (AR9)

B9

BN/WH

1048

SCM (Seat) Class 2 Serial Data (AAB)

B9

BK

1048

SCM (Seat) Class 2 Serial Data (AAB)

C314 Body Harness to Passenger Seat harness


Object Number: 823321  Size: CH

Object Number: 823318  Size: CH

Connector Part Information

    • 15326952
    • 16-Way F 280 Series (BK)

Connector Part Information

    • 15326956
    • 16-Way M 280 Series (BK)

Pin

Wire Color

Circuit No.

Function

Pin

Wire Color

Circuit No.

Function

A

BK

1450

Ground (V40)

A

BK

1450

Ground (V40)

B

L-BU

5476

Passenger Heated Seat Back Low Reference (KA1)

B

GY

5476

Passenger Heated Seat Back Low Reference (KA1)

C

PK

2480

Passenger Heated Seat Element Control (KA1)

C

BK

2480

Passenger Heated Seat Element Control (KA1)

D

D-BU

5475

Passenger Heated Seat Back Temperature Sensor Signal (KA1)

D

BN

5475

Passenger Heated Seat Back Temperature Sensor Signal (KA1)

E

TN

2481

Passenger Heated Seat Back Element Supply Voltage (KA1)

E

TN

2481

Passenger Heated Seat Back Element Supply Voltage (KA1)

F

OG

3450

Battery Positive Voltage (V40)

F

OG

3450

Battery Positive Voltage (V40)

G

D-BU

2479

Passenger Heated Seat Element Supply Voltage (KA1)

G

BK

2479

Passenger Heated Seat Element Supply Voltage (KA1)

H

BK/WH

2644

Seat Position Sensor Return

H

BK

2644

Seat Position Sensor Return

J

L-BU

2645

Passenger Seat Position - High

J

BK

2645

Passenger Seat Position - High

K

RD

2484

Seat Belt Switch Signal - Passenger - Solenoid Reset

K

BK

2484

Seat Belt Switch Signal - Passenger - Solenoid Reset

L

D-BU

2307

Passenger Air Bag On Indicator Control (AL0)

L

D-BU

2307

Passenger Air Bag On Indicator Control (AL0)

M

YE

1139

Ignition 1 Voltage

M

YE

1139

Ignition 1 Voltage

N

D-GN

2308

Passenger Air Bag Off Indicator Control (AL0)

N

D-GN

2308

Passenger Air Bag Off Indicator Control (AL0)

P

PK

2306

Occupant Sensor - Serial Data Link

P

PK

2306

Occupant Sensor - Serial Data Link

R

BK

751

Ground

R

BK/WH

751

Ground

S

--

--

Not Used

S

--

--

Not Used

C317 Body Harness to Left Seat Belt Harness


Object Number: 295469  Size: CH

Object Number: 827070  Size: CH

Connector Part Information

    • 12110505
    • 2-Way F Metri-Pack 150 Series (YE)

Connector Part Information

    • 12110500
    • 2-Way M Metri-Pack 150 Series (YE)

Pin

Wire Color

Circuit No.

Function

Pin

Wire Color

Circuit No.

Function

A

OG/BK

2119

Seat Belt Pretensioner - Left - Low Control

A

OG/BK

2119

Seat Belt Pretensioner - Left - Low Control

B

BK/WH

2118

Seat Belt Pretensioner - Left - High Control

B

BK/WH

2118

Seat Belt Pretensioner - Left - High Control

C318 Body Harness to Right Seat Belt Harness


Object Number: 295469  Size: CH

Object Number: 827070  Size: CH

Connector Part Information

    • 12110505
    • 2-Way F Metri-Pack 150 Series (YE)

Connector Part Information

    • 12110500
    • 2-Way M Metri-Pack 150 Series (YE)

Pin

Wire Color

Circuit No.

Function

Pin

Wire Color

Circuit No.

Function

A

OG

2117

Seat Belt Pretensioner - Right - Low Control

A

OG

2117

Seat Belt Pretensioner - Right - Low Control

B

L-GN

2116

Seat Belt Pretensioner - Right - High Control

B

L-GN

2116

Seat Belt Pretensioner - Right - High Control

C320 Body Harness to Midgate Harness (XUV)


Object Number: 646372  Size: CH

Object Number: 847234  Size: CH

Connector Part Information

    • 15326654
    • 8-Way F GT 280 Series Sealed 5.8 (BK)

Connector Part Information

    • 15326655
    • 8-Way M GT 280 Series Sealed 5.8 (BK)

Pin

Wire Color

Circuit No.

Function

Pin

Wire Color

Circuit No.

Function

A

OG

3440

Battery Positive Voltage

A

OG

3440

Battery Positive Voltage

B

BK

1150

Ground

B

BK

1150

Ground

C

WH/BK

5457

Midgate Overhead Console Switch Down Signal

C

WH/BK

5457

Midgate Overhead Console Switch Down Signal

D

TN

5458

Midgate Overhead Console Switch Up Signal

D

TN

5458

Midgate Overhead Console Switch Up Signal

E

OG

2440

Battery Positive Voltage

E

OG

2440

Battery Positive Voltage

F

D-BU

5601

Midgate Relay Coil Control

F

D-BU

5601

Midgate Relay Coil Control

G

D-BU

6252

Midgate Ajar Indicator Signal

G

D-BU

6252

Midgate Ajar Indicator Signal

H

--

--

Not Used

H

--

--

Not Used

C321 Body Harness to Power Roof Harness (XUV)


Object Number: 632344  Size: CH

Object Number: 632342  Size: CH

Connector Part Information

    • 15326842
    • 10-Way F 150 Series Sealed (BK)

Connector Part Information

    • 15326847
    • 10-Way M 150 Series Sealed (BK)

Pin

Wire Color

Circuit No.

Function

Pin

Wire Color

Circuit No.

Function

A

GY

2537

Cargo Release Switch Signal

A

BU

2537

Cargo Release Switch Signal

B

D-GN

5437

Audio Common

B

GN

5437

Audio Common

C

L-GN

5438

Endgate Overhead Console Switch Down Signal

C

L-GN

5438

Endgate Overhead Console Switch Down Signal

D

YE

5439

Endgate Overhead Console Switch Up Signal

D

YE

5439

Endgate Overhead Console Switch Up Signal

E

OG

3340

Battery Positive Voltage

E

GY

3340

Battery Positive Voltage

F

PU

5513

Class 2 Serial Data

F

OG

932

Class 2 Serial Data

G

D-BU

5435

Rear Movable Roof Switch Open Signal

G

PU

5435

Rear Movable Roof Switch Open Signal

H

L-BU

5436

Rear Movable Roof Switch Close Signal

H

RD

5436

Rear Movable Roof Switch Close Signal

J

GY/BK

1798

Low Reference

J

YE

1798

Low Reference

K

--

--

Not Used

K

--

--

Not Used

C322 Body Harness to Power Roof Harness (XUV)


Object Number: 684799  Size: CH

Object Number: 879383  Size: CH

Connector Part Information

    • 12077900
    • 2-Way F Metri-Pack 280 Series Sealed (BK)

Connector Part Information

    • 15317807
    • 2-Way M Metri-Pack 280 Series (BK)

Pin

Wire Color

Circuit No.

Function

Pin

Wire Color

Circuit No.

Function

A

OG

2640

Battery Positive Voltage

A

GN

2640

Battery Positive Voltage

B

BK

1150

Ground

B

BK

1150

Ground

C401 Body Harness to Rear HVAC Module (Long Wheel Base Except XUV)


Object Number: 476149  Size: CH

Object Number: 847281  Size: CH

Connector Part Information

    • 15326110
    • 12-Way F GT 280 Series (BK)

Connector Part Information

    • 15326942
    • 12-Way M GT 280 Series (BK)

Pin

Wire Color

Circuit No.

Function

Pin

Wire Color

Circuit No.

Function

A

RD

2600

Auxiliary Actuator Door Control

A

RD

2600

Auxiliary Actuator Door Control

RD

2600

Auxiliary Actuator Door Control

B

YE

2214

Auxiliary Air Temperature Door Control

B

YE

2214

Auxiliary Air Temperature Door Control

C

--

--

Not Used

C

--

--

Not Used

D

BK

1650

Ground

D

BK

1650

Ground

E

OG

840

Battery Positive Voltage

E

OG

840

Battery Positive Voltage

F

GY

598

5-Volt Reference

F

GY/BK

598

5-Volt Reference

GY/BK

598

5-Volt Reference

G

GY

2604

Auxiliary Blower Motor Speed Control

G

GY

2604

Auxiliary Blower Motor Speed Control

H

BN/WH

2601

Auxiliary Mode Door Position Signal

H

BN/WH

2601

Auxiliary Mode Door Position Signal

J

D-BU

1199

Auxiliary Air Temperature Door Position Signal

J

D-BU

1199

Auxiliary Air Temperature Door Position Signal

K

GY

2599

Auxiliary Mode Door Control

K

GY/WH

2599

Auxiliary Mode Door Control

L

GY

2598

Low Reference

L

GY/RD

2598

Low Reference

GY/RD

2598

Low Reference

M

--

--

Not Used

M

--

--

Not Used

C500 Left Front Door Harness to Body Harness


Object Number: 726828  Size: CH

Object Number: 726827  Size: CH

Connector Part Information

    • 15373479
    • 12-Way F GT 150 280 Series Sealed 4.0 5.8 (BK)

Connector Part Information

    • 15373478
    • 12-Way M GT 150 280 Series Sealed 4.0 5.8 (BK)

Pin

Wire Color

Circuit No.

Function

Pin

Wire Color

Circuit No.

Function

A

GY

118

Left Front Speaker Output (-)

A

GY

118

Left Front Speaker Output (-)

B

--

--

Not Used

B

--

--

Not Used

C

L-BU

2114

Left Turn Signal Lamps Supply Voltage

C

L-BU

2114

Left Turn Signal Lamps Supply Voltage

D

YE

2161

Side Impact Sensor - Left - Voltage (ASF)

D

YE

2161

Side Impact Sensor - Left - Voltage (ASF)

E

WH

2162

Side Impact Sensor - Left - Signal (ASF)

E

WH

2162

Side Impact Sensor - Left - Signal (ASF)

F

OG

1240

Battery Positive Voltage

F

OG

1240

Battery Positive Voltage

G

TN

201

Left Front Speaker Output (+)

G

TN

201

Left Front Speaker Output (+)

H

BN

1046

DDM Class 2 Serial Data

H

BN

1046

DDM Class 2 Serial Data

J-K

--

--

Not Used

J-K

--

--

Not Used

L

OG

4140

Battery Positive Voltage

L

OG

4140

Battery Positive Voltage

M

BK

1350

Ground

M

BK

1350

Ground

C600 Right Front Door Harness to Body Harness


Object Number: 726828  Size: CH

Object Number: 726827  Size: CH

Connector Part Information

    • 15373479
    • 12-Way F GT 150 280 Series Sealed 4.0 5.8 (BK)

Connector Part Information

    • 15373478
    • 12-Way M GT 150 280 Series Sealed 4.0 5.8 (BK)

Pin

Wire Color

Circuit No.

Function

Pin

Wire Color

Circuit No.

Function

A

OG

1340

Battery Positive Voltage

A

OG

1340

Battery Positive Voltage

B

--

--

Not Used

B

--

--

Not Used

C

D-BU

2115

Right Turn Signal Lamps Supply Voltage

C

D-BU

2115

Right Turn Signal Lamps Supply Voltage

D

TN

2163

Side Impact Sensor - Right - Voltage (ASF)

D

TN

2163

Side Impact Sensor - Right - Voltage (ASF)

E

D-GN

2164

Side Impact Sensor - Right - Signal (ASF)

E

D-GN

2164

Side Impact Sensor - Right - Signal (ASF)

F

L-GN

200

Right Front Speaker Output (+)

F

L-GN

200

Right Front Speaker Output (+)

G

BK

1450

Ground

G

BK

1450

Ground

H

TN

1047

PDM Class 2 Serial Data

H

TN

1047

PDM Class 2 Serial Data

J-K

--

--

Not Used

J-K

--

--

Not Used

L

OG

4240

Battery Positive Voltage

L

OG

4240

Battery Positive Voltage

M

D-GN

117

Right Front Speaker Output (-)

M

D-GN

117

Right Front Speaker Output (-)

C700 Body Harness to Left Rear Door Harness


Object Number: 794439  Size: CH

Object Number: 655695  Size: CH

Connector Part Information

    • 12177259
    • 10-Way F Metri-Pack 280 Series (BK)
    • 12177260
    • 7-Way F Metri-Pack 280 Series GT 150 (BK)

Connector Part Information

    • 15358897
    • 17-Way M Metri-Pack 280 Series (WH)

Pin

Wire Color

Circuit No.

Function

Pin

Wire Color

Circuit No.

Function

A

L-BU/BK

747

Left Rear Door Ajar Switch Signal

A

L-BU/BK

747

Left Rear Door Ajar Switch Signal

B

WH

1185

Power Window Switch Left Rear Up Signal

B

WH

1185

Power Window Switch Left Rear Up Signal

C

YE

1187

Power Window Switch Left Rear Down Signal

C

YE

1187

Power Window Switch Left Rear Down Signal

D

--

--

Not Used

D

--

--

Not Used

E

OG

1240

Battery Positive Voltage

E

OG

1240

Battery Positive Voltage

F

--

--

Not Used

F

--

--

Not Used

G

BK

1350

Ground

G

BK

1350

Ground

H

L-BU

2265

Power Window Lockout Left Rear Control

H

L-BU

2265

Power Window Lockout Left Rear Control

J

--

--

Not Used

J

--

--

Not Used

K

BN/WH

230

Instrument Panel Lamps Dimming Control

K

BN/WH

230

Instrument Panel Lamps Dimming Control

L

BK

1350

Ground

L

BK

1350

Ground

M-N

--

--

Not Used

M-N

--

--

Not Used

P

TN

294

Door Lock Actuator Unlock Control

P

TN

294

Door Lock Actuator Unlock Control

R

GY

295

Door Lock Actuator Lock Control

R

GY

295

Door Lock Actuator Lock Control

S

YE

116

Left Rear Speaker Output (-)

S

YE

116

Left Rear Speaker Output (-)

T

BN

199

Left Rear Speaker Output (+)

T

BN

199

Left Rear Speaker Output (+)

C800 Body Harness to Right Rear Door Harness


Object Number: 794439  Size: CH

Object Number: 655695  Size: CH

Connector Part Information

    • 12177259
    • 10-Way F Metri-Pack 280 Series (BK)
    • 12177260
    • 7-Way F Metri-Pack 280 Series GT 150 (BK)

Connector Part Information

    • 15358897
    • 17-Way M Metri-Pack 280 Series (NA)

Pin

Wire Color

Circuit No.

Function

Pin

Wire Color

Circuit No.

Function

A

L-GN/BK

748

Right Rear Door Ajar Switch Signal

A

L-GN/BK

748

Right Rear Door Ajar Switch Signal

B

GY/BK

1186

Power Window Switch Right Rear Up Signal

B

GY/BK

1186

Power Window Switch Right Rear Up Signal

C

D-GN

1188

Power Window Switch Right Rear Down Signal

C

D-GN

1188

Power Window Switch Right Rear Down Signal

D

--

--

Not Used

D

--

--

Not Used

E

OG

1340

Battery Positive Voltage

E

OG

1340

Battery Positive Voltage

F

--

--

Not Used

F

--

--

Not Used

G

BK

1450

Ground

G

BK

1450

Ground

H

L-GN

2266

Power Window Lockout Right Rear Control

H

L-GN

2266

Power Window Lockout Right Rear Control

J

--

--

Not Used

J

--

--

Not Used

K

BN/WH

230

Instrument Panel Lamps Dimming Control

K

BN/WH

230

Instrument Panel Lamps Dimming Control

L

BK

1450

Ground

L

BK

1450

Ground

M-N

--

--

Not Used

M-N

--

--

Not Used

P

TN

294

Door Lock Actuator Unlock Control

P

TN

294

Door Lock Actuator Unlock Control

R

GY

295

Door Lock Actuator Lock Control

R

GY

295

Door Lock Actuator Lock Control

S

D-BU

46

Right Rear Speaker Output (+)

S

D-BU

46

Right Rear Speaker Output (+)

T

L-BU

115

Right Rear Speaker Output (-)

T

L-BU

115

Right Rear Speaker Output (-)

C900 Body Harness to Liftgate Harness (Except XUV)


Object Number: 62456  Size: CH

Object Number: 39689  Size: CH

Connector Part Information

    • 12064752
    • 6-Way F Metri-Pack 280 Series (BK)

Connector Part Information

    • 12064754
    • 6-Way M Metri-Pack 280 Series (BK)

Pin

Wire Color

Circuit No.

Function

Pin

Wire Color

Circuit No.

Function

A

OG

2740

Battery Positive Voltage

A

OG

2740

Battery Positive Voltage

B

OG

4440

Battery Positive Voltage (CD6)

B

OG

4440

Battery Positive Voltage (CD6)

C

OG

3640

Battery Positive Voltage

C

OG

3640

Battery Positive Voltage

D

BK

1550

Ground

D

BK

1550

Ground

E

L-BU

2288

LGM Class 2 Serial Data

E

L-BU

2288

LGM Class 2 Serial Data

F

BN

2509

Left Rear Park Lamps Supply Voltage

F

BN

2509

Left Rear Park Lamps Supply Voltage

C900 Body Harness to Endgate Harness (XUV)


Object Number: 655815  Size: CH

Object Number: 655819  Size: CH

Connector Part Information

    • 15326660
    • 10-Way F GT 280 Series Sealed 5.8 (BK)

Connector Part Information

    • 15326661
    • 10-Way M GT 280 Series Sealed 5.8 (BK)

Pin

Wire Color

Circuit No.

Function

Pin

Wire Color

Circuit No.

Function

A

OG

2540

Battery Positive Voltage

A

OG

2540

Battery Positive Voltage

B

BK

1650

Ground

B

BK

1650

Ground

C

OG

2740

Battery Positive Voltage

C

OG

2740

Battery Positive Voltage

D

OG

3640

Battery Positive Voltage

D

OG

3640

Battery Positive Voltage

E

YE

820

CHMSL Supply Voltage

E

YE

820

CHMSL Supply Voltage

F

BN

2509

Left Rear Park Lamps Supply Voltage

F

BN

2509

Left Rear Park Lamps Supply Voltage

G

L-BU

2288

EGM Class 2 Serial Data

G

L-BU

2288

EGM Class 2 Serial Data

H

OG

3940

Battery Positive Voltage

H

OG

3940

Battery Positive Voltage

J-K

--

--

Not Used

J-K

--

--

Not Used

C901 Liftgate Harness to License Lamp Harness (Except XUV)


Object Number: 537107  Size: CH

Object Number: 605500  Size: CH

Connector Part Information

    • 12052644
    • 2-Way F Metri-Pack 150 Series Sealed (L-GY)

Connector Part Information

    • 12162343
    • 2-Way M Metri-Pack 150 Series (GY)

Pin

Wire Color

Circuit No.

Function

Pin

Wire Color

Circuit No.

Function

A

BN

2509

Left Rear Park Lamps Supply Voltage

A

BN

2509

Left Rear Park Lamps Supply Voltage

B

BK

1550

Ground

B

BK

1550

Ground

C901 Endgate Harness to License Lamp Harness (XUV)


Object Number: 646400  Size: CH

Object Number: 684916  Size: CH

Connector Part Information

    • 15326835
    • 8-Way F GT 150 Series Sealed 4.0 (BK)

Connector Part Information

    • 15326840
    • 8-Way M GT 150 Series Sealed 4.0 (BK)

Pin

Wire Color

Circuit No.

Function

Pin

Wire Color

Circuit No.

Function

A

BN

2509

Left Rear Park Lamps Supply Voltage

A

BN

2509

Left Rear Park Lamps Supply Voltage

B

BK

1650

Ground

B

BK

1650

Ground

C

D-BU

2201

Endgate Ajar Switch Low Reference

C

D-BU

2201

Endgate Ajar Switch Low Reference

D

--

--

Not Used

D

--

--

Not Used

E

D-GN/WH

5454

Endgate Swing Latch Switch Signal

E

D-GN/WH

5454

Endgate Swing Latch Switch Signal

F

D-BU/WH

5455

Endgate Drop Latch Switch Signal

F

D-BU/WH

5455

Endgate Drop Latch Switch Signal

G

L-BU/BK

5453

Endgate Key Cylinder Up Signal

G

L-BU/BK

5453

Endgate Key Cylinder Up Signal

H

L-GN/BK

5452

Endgate Key Cylinder Down Signal

H

L-GN/BK

5452

Endgate Key Cylinder Down Signal

C902 Body Harness to Liftgate Harness (Y92)


Object Number: 82383  Size: CH

Object Number: 35441  Size: CH

Connector Part Information

    • 12047662
    • 2-Way F Metri-Pack 150 Series (BK)

Connector Part Information

    • 12047663
    • 2-Way M Metri-Pack 150 Series (BK)

Pin

Wire Color

Circuit No.

Function

Pin

Wire Color

Circuit No.

Function

A

GY/BK

690

Courtesy Lamp Supply Voltage

A

GY/BK

690

Courtesy Lamp Supply Voltage

B

OG

1732

Courtesy Lamp Supply Voltage

B

OG

1732

Courtesy Lamp Supply Voltage

C904 Rear Defogger Harness to Liftgate Harness (Except XUV w/C49)


Object Number: 646416  Size: CH

Object Number: 95780  Size: CH

Connector Part Information

    • 12059884
    • 1-Way F Metri-Pack 150 Series (BK)

Connector Part Information

    • 12059885
    • 1-Way M Metri-Pack 480 Series (BK)

Pin

Wire Color

Circuit No.

Function

Pin

Wire Color

Circuit No.

Function

A

BK

293

Rear Defog Element Supply Voltage

A

PU

293

Rear Defog Element Supply Voltage

C905 Rear Defogger Harness to Liftgate Harness (Except XUV w/C49)


Object Number: 646416  Size: CH

Object Number: 95780  Size: CH

Connector Part Information

    • 12059884
    • 1-Way F Metri-Pack 150 Series (BK)

Connector Part Information

    • 12059885
    • 1-Way M Metri-Pack 480 Series (BK)

Pin

Wire Color

Circuit No.

Function

Pin

Wire Color

Circuit No.

Function

A

BK

1550

Ground

A

BK

1550

Ground