GM Service Manual Online
For 1990-2009 cars only
Table 1: Ambient Light Sensor (CJ3)
Table 2: Backup Lamp - Left (Z88)
Table 3: Backup Lamp - Right (Z88)
Table 4: Cargo Lamp - LR (XUV)
Table 5: Cargo Lamp - RR (XUV)
Table 6: Cargo Lamp (Except XUV/Y92)
Table 7: Cargo Lamp (Y92)
Table 8: Center High Mounted Stop Lamp (CHMSL) (Except XUV)
Table 9: Center High Mounted Stop Lamp (CHMSL) (XUV)
Table 10: Clearance Lamp - Left (Y92)
Table 11: Clearance Lamp - Right (Y92)
Table 12: Cornering Lamp - Left (T87)
Table 13: Cornering Lamp - Right (T87)
Table 14: Courtesy/Reading Lamp - Center
Table 15: Courtesy/Reading Lamp - Front
Table 16: Courtesy/Reading Lamp (3rd Row) - Left
Table 17: Courtesy/Reading Lamp (3rd Row) - Right
Table 18: Fog Lamp - LF (Except W49 w/T96)
Table 19: Fog Lamp - LF (W49 w/T96)
Table 20: Fog Lamp - RF (Except W49 w/T96)
Table 21: Fog Lamp - RF (W49 w/T96)
Table 22: Headlamp - High Beam - Left
Table 23: Headlamp - High Beam - Right
Table 24: Headlamp - Low Beam - Left
Table 25: Headlamp - Low Beam - Right
Table 26: Headlamp Leveling Actuator - Left (TR6)
Table 27: Headlamp Leveling Actuator - Right (TR6)
Table 28: Headlamp Switch C1
Table 29: Headlamp Switch C2
Table 30: License Lamp - Left (Except XUV)
Table 31: License Lamp - Left (XUV)
Table 32: License Lamp - Right (Except XUV)
Table 33: License Lamp - Right (XUV)
Table 34: Marker Lamp - LF (X88)
Table 35: Marker Lamp - LF (Z88/Z88/W49)
Table 36: Marker Lamp - RF (X88)
Table 37: Marker Lamp - RF (Z88/Z89/W49)
Table 38: Park Lamp - LF (W49)
Table 39: Park Lamp - LF (W49)
Table 40: Park Lamp - RF (W49)
Table 41: Park Lamp - RF (W49)
Table 42: Park/Turn Signal Lamp - LF (X88)
Table 43: Park/Turn Signal Lamp - LF (Z88/Z89)
Table 44: Park/Turn Signal Lamp - RF (X88)
Table 45: Park/Turn Signal Lamp - RF (Z88/Z89)
Table 46: Stop Lamp Switch
Table 47: Tail Lamp Circuit Board - Left (T79)
Table 48: Tail Lamp Circuit Board - Left (w/o T79)
Table 49: Tail Lamp Circuit Board - Right
Table 50: Trailer Connector
Table 51: Turn Signal Lamp - LF (W49)
Table 52: Turn Signal Lamp - RF (W49)
Table 53: Turn Signal/Hazard Flasher Module
Table 54: Turn Signal/Multifunction Switch C1
Table 55: Turn Signal/Multifunction Switch C2
Table 56: Turn Signal/Multifunction Switch C3
Table 57: Turn Signal/Multifunction Switch C4 (K34)
Table 58: Vanity Mirror Lamp - Left (DH2)
Table 59: Vanity Mirror Lamp - Right (DH2)

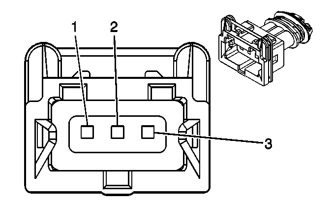
Ambient Light Sensor (CJ3)


Object Number: 82383  Size: CH

Connector Part Information

    • 12047662
    • 2-Way F Metri-Pack 150 Series (BK)

Pin

Wire Color

Circuit No.

Function

A

WH

278

Ambient Light Sensor Signal

B

BK

279

Ambient Light Sensor Low Reference

Backup Lamp - Left (Z88)


Object Number: 82366  Size: CH

Connector Part Information

    • 15435155
    • 3-Way Lamp Socket Wedge Base W3 (GY)

Pin

Wire Color

Circuit No.

Function

A

L-GN

24

Backup Lamp Supply Voltage

B

--

--

Not Used

G

BK

2450

Ground

Backup Lamp - Right (Z88)


Object Number: 82366  Size: CH

Connector Part Information

    • 15435155
    • 3-Way Lamp Socket Wedge Base W3 (GY)

Pin

Wire Color

Circuit No.

Function

A

L-GN

24

Backup Lamp Supply Voltage

B

--

--

Not Used

G

BK

2450

Ground

Cargo Lamp - LR (XUV)


Object Number: 130733  Size: CH

Connector Part Information

    • 12146418
    • 2-Way F Lamp Socket (L-GY)

Pin

Wire Color

Circuit No.

Function

A

BK

1550

Ground

B

GY/BK

690

Courtesy Lamp Supply Voltage

Cargo Lamp - RR (XUV)


Object Number: 130733  Size: CH

Connector Part Information

    • 12146418
    • 2-Way F Lamp Socket (L-GY)

Pin

Wire Color

Circuit No.

Function

A

BK

1650

Ground

B

GY/BK

690

Courtesy Lamp Supply Voltage

Cargo Lamp (Except XUV/Y92)


Object Number: 82383  Size: CH

Connector Part Information

    • 12047662
    • 2-Way F Metri-Pack 150 Series (BK)

Pin

Wire Color

Circuit No.

Function

A

BK

1350

Ground

B

GY/BK

690

Courtesy Lamp Supply Voltage

Cargo Lamp (Y92)


Object Number: 333035  Size: CH

Connector Part Information

    • 12047781
    • 3-Way F Metri-Pack 150 Series (BK)

Pin

Wire Color

Circuit No.

Function

A

GY/BK

690

Courtesy Lamp Supply Voltage

B

BK

1550

Ground

C

OG

1732

Courtesy Lamp Supply Voltage

Center High Mounted Stop Lamp (CHMSL) (Except XUV)


Object Number: 35441  Size: CH

Connector Part Information

    • 12047663
    • 2-Way M Metri-Pack 150 Series (BK)

Pin

Wire Color

Circuit No.

Function

A

YE

820

CHMSL Supply Voltage

B

BK

1550

Ground

Center High Mounted Stop Lamp (CHMSL) (XUV)


Object Number: 35441  Size: CH

Connector Part Information

    • 15326801
    • 2-Way F GT 150 Series (BK)

Pin

Wire Color

Circuit No.

Function

A

YE

820

CHMSL Supply Voltage

B

BK

1650

Ground

Clearance Lamp - Left (Y92)


Object Number: 35441  Size: CH

Connector Part Information

    • 12047663
    • 2-Way M Metri-Pack 150 Series (BK)

Pin

Wire Color

Circuit No.

Function

A

BN/WH

2609

Park Lamps Supply Voltage

B

BK

1350

Ground

Clearance Lamp - Right (Y92)


Object Number: 35441  Size: CH

Connector Part Information

    • 12047663
    • 2-Way M Metri-Pack 150 Series (BK)

Pin

Wire Color

Circuit No.

Function

A

BN/WH

2609

Park Lamps Supply Voltage

B

BK

1350

Ground

Cornering Lamp - Left (T87)


Object Number: 744054  Size: CH

Connector Part Information

    • 15326291
    • 2-Way Lamp Socket Wedge Base W3 Sealed Right Angle (WH)

Pin

Wire Color

Circuit No.

Function

A

OG

57

Left Cornering Lamp Supply Voltage

G

BK

350

Ground

Cornering Lamp - Right (T87)


Object Number: 744054  Size: CH

Connector Part Information

    • 15326291
    • 2-Way Lamp Socket Wedge Base W3 Sealed Right Angle (WH)

Pin

Wire Color

Circuit No.

Function

A

BK

58

Right Cornering Lamp Supply Voltage

G

BK

250

Ground

Courtesy/Reading Lamp - Center


Object Number: 333035  Size: CH

Connector Part Information

    • 12047781
    • 3-Way F Metri-Pack 150 Series (BK)

Pin

Wire Color

Circuit No.

Function

A

GY/BK

690

Courtesy Lamp Supply Voltage

B

BK

1350

Ground

C

OG

1732

Courtesy Lamps Supply Voltage

Courtesy/Reading Lamp - Front


Object Number: 333035  Size: CH

Connector Part Information

    • 12047781
    • 3-Way F Metri-Pack 150 Series (BK)

Pin

Wire Color

Circuit No.

Function

A

GY/BK

690

Courtesy Lamp Supply Voltage

B

BK

1350

Ground

C

OG

1732

Courtesy Lamps Supply Voltage

Courtesy/Reading Lamp (3rd Row) - Left


Object Number: 333035  Size: CH

Connector Part Information

    • 12047781
    • 3-Way F Metri-Pack 150 Series (BK)

Pin

Wire Color

Circuit No.

Function

A

GY/BK

690

Courtesy Lamp Supply Voltage

B

BK

1350

Ground

C

OG

1732

Courtesy Lamps Supply Voltage

Courtesy/Reading Lamp (3rd Row) - Right


Object Number: 333035  Size: CH

Connector Part Information

    • 12047781
    • 3-Way F Metri-Pack 150 Series (BK)

Pin

Wire Color

Circuit No.

Function

A

GY/BK

690

Courtesy Lamp Supply Voltage

B

BK

1350

Ground

C

OG

1732

Courtesy Lamps Supply Voltage

Fog Lamp - LF (Except W49 w/T96)


Object Number: 646148  Size: CH

Connector Part Information

    • 12020599
    • 2-Way F Metri-Pack 280 Series (BK)

Pin

Wire Color

Circuit No.

Function

A

PU

34

Fog Lamps Supply Voltage

B

BK

350

Ground

Fog Lamp - LF (W49 w/T96)


Object Number: 287974  Size: CH

Connector Part Information

    • 12124819
    • 2-Way F Metri-Pack 280 Series (BK)

Pin

Wire Color

Circuit No.

Function

A

PU

34

Fog Lamps Supply Voltage

B

BK

350

Ground

Fog Lamp - RF (Except W49 w/T96)


Object Number: 646148  Size: CH

Connector Part Information

    • 12020599
    • 2-Way F Metri-Pack 280 Series (BK)

Pin

Wire Color

Circuit No.

Function

A

PU

34

Fog Lamps Supply Voltage

B

BK

250

Ground

Fog Lamp - RF (W49 w/T96)


Object Number: 287974  Size: CH

Connector Part Information

    • 12124819
    • 2-Way F Metri-Pack 280 Series (BK)

Pin

Wire Color

Circuit No.

Function

A

PU

34

Fog Lamps Supply Voltage

B

BK

250

Ground

Headlamp - High Beam - Left


Object Number: 684797  Size: CH

Connector Part Information

    • 12059183
    • 2-Way F Metri-Pack 280 Series, Sealed (BK)

Pin

Wire Color

Circuit No.

Function

A

YE

--

Left Headlamp High Beam Supply Voltage

B

D-GN

--

Ground

Headlamp - High Beam - Right


Object Number: 684797  Size: CH

Connector Part Information

    • 12059183
    • 2-Way F Metri-Pack 280 Series, Sealed (BK)

Pin

Wire Color

Circuit No.

Function

A

YE

--

Right Headlamp High Beam Supply Voltage

B

D-GN

--

Ground

Headlamp - Low Beam - Left


Object Number: 684797  Size: CH

Connector Part Information

    • 12059183
    • 2-Way F Metri-Pack 280 Series, Sealed (BK)

Pin

Wire Color

Circuit No.

Function

A

OG

--

Left Headlamp Low Beam Supply Voltage

B

WH

--

Ground

Headlamp - Low Beam - Right


Object Number: 684797  Size: CH

Connector Part Information

    • 12059183
    • 2-Way F Metri-Pack 280 Series, Sealed (BK)

Pin

Wire Color

Circuit No.

Function

A

OG

--

Right Headlamp Low Beam Supply Voltage

B

WH

--

Ground

Headlamp Leveling Actuator - Left (TR6)


Object Number: 696988  Size: CH

Connector Part Information

    • 12186467
    • 3-Way F (BK)

Pin

Wire Color

Circuit No.

Function

1

BK

350

Ground

2

D-GN

189

Headlamp Leveling Motor Supply Voltage

3

PK

639

Ignition 1 Voltage

Headlamp Leveling Actuator - Right (TR6)


Object Number: 696988  Size: CH

Connector Part Information

    • 12186467
    • 3-Way F (BK)

Pin

Wire Color

Circuit No.

Function

1

BK

250

Ground

2

D-GN

189

Headlamp Leveling Motor Supply Voltage

3

PK

639

Ignition 1 Voltage

Headlamp Switch C1


Object Number: 647976  Size: CH

Connector Part Information

    • 15332161
    • 12-Way F GT 150 Series (BK)

Pin

Wire Color

Circuit No.

Function

A

GY

705

5-Volt Reference

B

BN/WH

230

Instrument Panel Lamps Dimming Control

C

BK

2250

Ground

D

WH

103

Headlamp Switch Headlamps On Signal

E

GY/BK

308

Park Lamp Switch On Signal

F

L-GN

5462

DRL Defeat Switch Signal

G

OG/BK

2090

Courtesy Lamps Dimming Input

H

GY/BK

2226

Instrument Panel Lamps Dimmer Switch Low Reference

J

D-BU/WH

1495

Courtesy Lamp On Signal

K

PU/WH

1382

LED Dimming Signal

L

PK

1348

Headlamp On Indicator Control

M

PU

328

Interior Lamp Defeat Switch Signal

Headlamp Switch C2


Object Number: 646374  Size: CH

Connector Part Information

    • 15332145
    • 8-Way F GT 150 Series (BK)

Pin

Wire Color

Circuit No.

Function

A

OG

192

Front Fog Lamp Switch Signal (T96)

B

L-BU

187

Rear Fog Lamp Switch Signal (T79)

C

D-GN/WH

1317

Front Fog Lamp Relay and Indicator Control (T96)

D

YE

1977

Rear Fog Lamp Relay and Indicator Control (T79)

E

TN

5463

Daytime Running Lamp Override Indicator

F

D-GN

189

Headlamp Leveling Motor Supply Voltage (TR6)

G

PK

639

Ignition 1 Voltage (TR6)

H

BN/WH

1871

Headlamp Washer Switch Signal (CE4)

License Lamp - Left (Except XUV)


Object Number: 130733  Size: CH

Connector Part Information

    • 12146418
    • 2-Way Lamp Socket (L-GY)

Pin

Wire Color

Circuit No.

Function

A

BN

2509

Left Rear Park Lamps and License Lamps Supply Voltage

B

BK

1550

Ground

License Lamp - Left (XUV)


Object Number: 744036  Size: CH

Connector Part Information

    • 12110053
    • 2-Way Lamp Socket Wedge Base W2 (L-GY)

Pin

Wire Color

Circuit No.

Function

A

BN

2509

Left Rear Park Lamps and License Lamps Supply Voltage

B

BK

1650

Ground

License Lamp - Right (Except XUV)


Object Number: 130733  Size: CH

Connector Part Information

    • 12146418
    • 2-Way Lamp Socket (L-GY)

Pin

Wire Color

Circuit No.

Function

A

BN

2509

Left Rear Park Lamps and License Lamps Supply Voltage

B

BK

1550

Ground

License Lamp - Right (XUV)


Object Number: 744036  Size: CH

Connector Part Information

    • 12110053
    • 2-Way Lamp Socket Wedge Base W2 (L-GY)

Pin

Wire Color

Circuit No.

Function

A

BN

2509

Left Rear Park Lamps and License Lamps Supply Voltage

B

BK

1650

Ground

Marker Lamp - LF (X88)


Object Number: 523630  Size: CH

Connector Part Information

    • 15326801
    • 2-Way F GT 150 Series (BK)

Pin

Wire Color

Circuit No.

Function

A

BN

2309

Front Park Lamps Supply Voltage

B

L-BU

2114

Left Turn Signal Lamps Supply Voltage (w/o WX7)

BK

350

Ground (w/WX7)

Marker Lamp - LF (Z88/Z88/W49)


Object Number: 744036  Size: CH

Connector Part Information

    • 12110053
    • 2-Way F/Lamp Socket Wedge Base W2 (L-GY)

Pin

Wire Color

Circuit No.

Function

A

BN

2309

Front Park Lamps Supply Voltage

B

L-BU

2114

Left Turn Signal Lamps Supply Voltage

Marker Lamp - RF (X88)


Object Number: 523630  Size: CH

Connector Part Information

    • 15326801
    • 2-Way F GT 150 Series (BK)

Pin

Wire Color

Circuit No.

Function

A

BN

2309

Front Park Lamps Supply Voltage

B

D-BU

2115

Right Turn Signal Lamps Supply Voltage (w/o WX7)

BK

250

Ground (w/WX7)

Marker Lamp - RF (Z88/Z89/W49)


Object Number: 744036  Size: CH

Connector Part Information

    • 12110053
    • 2-Way F/Lamp Socket Wedge Base W2 (L-GY)

Pin

Wire Color

Circuit No.

Function

A

BN

2309

Front Park Lamps Supply Voltage

B

D-BU

2115

Right Turn Signal Lamps Supply Voltage

Park Lamp - LF (W49)


Object Number: 523630  Size: CH

Connector Part Information

    • 15326801
    • 2-Way GT 150 Series BK)

Pin

Wire Color

Circuit No.

Function

A

BN

2309

Front Park Lamps Supply Voltage

B

BK

350

Ground

Park Lamp - LF (W49)


Object Number: 523630  Size: CH

Connector Part Information

    • 15326801
    • 2-Way GT 150 Series BK)

Pin

Wire Color

Circuit No.

Function

A

BN

2309

Front Park Lamps Supply Voltage

B

BK

350

Ground

Park Lamp - RF (W49)


Object Number: 523630  Size: CH

Connector Part Information

    • 15326801
    • 2-Way GT 150 Series (BK)

Pin

Wire Color

Circuit No.

Function

A

BN

2309

Front Park Lamps Supply Voltage

B

BK

250

Ground

Park Lamp - RF (W49)


Object Number: 523630  Size: CH

Connector Part Information

    • 15326801
    • 2-Way GT 150 Series (BK)

Pin

Wire Color

Circuit No.

Function

A

BN

2309

Front Park Lamps Supply Voltage

B

BK

250

Ground

Park/Turn Signal Lamp - LF (X88)


Object Number: 684959  Size: CH

Connector Part Information

    • 15355377
    • 3-Way F GT 150 Series (GY)

Pin

Wire Color

Circuit No.

Function

A

BK

350

Ground

B

BN

2309

Front Park Lamps Supply Voltage (w/o WX7)

C

L-BU

2114

Left Turn Signal Lamps Supply Voltage

Park/Turn Signal Lamp - LF (Z88/Z89)


Object Number: 95769  Size: CH

Connector Part Information

    • 12160395
    • 3-Way Lamp Socket Wedge Base W3 Right Angle (GY)

Pin

Wire Color

Circuit No.

Function

A

L-BU

2114

Left Turn Signal

B

BN

2309

Front Park Lamp Supply Voltage

G

BK

350

Ground

Park/Turn Signal Lamp - RF (X88)


Object Number: 684959  Size: CH

Connector Part Information

    • 15355377
    • 3-Way F GT 150 Series (GY)

Pin

Wire Color

Circuit No.

Function

A

BK

250

Ground

B

BN

2309

Front Park Lamps Supply Voltage (w/o WX7)

C

D-BU

2115

Left Turn Signal Lamps Supply Voltage

Park/Turn Signal Lamp - RF (Z88/Z89)


Object Number: 95769  Size: CH

Connector Part Information

    • 12160395
    • 3-Way Lamp Socket Wedge Base W3 Right Angle (GY)

Pin

Wire Color

Circuit No.

Function

A

D-BU

2115

Right Turn Signal Lamps Supply Voltage

B

BN

2309

Front Park Lamps Supply Voltage

G

BK

250

Ground

Stop Lamp Switch


Object Number: 62424  Size: CH

Connector Part Information

    • 12040551
    • 6-Way F Metri-Pack 480 Series (BK)

Pin

Wire Color

Circuit No.

Function

A

WH

17

Stop Lamp Switch Signal

WH

17

Stop Lamp Switch Signal

B

OG

1540

Battery Positive Voltage

C

PU

420

TCC Brake/Cruise Control Release Signal

D

PK

639

Ignition 1 Voltage

E

D-GN/WH

1135

A/T Shift Lock Control Solenoid Supply Voltage

F

L-GN/BK

584

A/T Shift Lock Control Switch Supply Voltage

Tail Lamp Circuit Board - Left (T79)


Object Number: 684956  Size: CH

Connector Part Information

    • 15355208
    • 5-Way F GT 150 Series Sealed 4.0 (BK)

Pin

Wire Color

Circuit No.

Function

A

BN

2509

Left Rear Park Lamps and License Lamp Supply Voltage

B

L-BU

2114

Left Turn Signal Lamps Supply Voltage

C

RD

122

Rear Fog Lamp Supply Voltage

D

L-BU

1320

Stop Lamp Supply Voltage

E

BK

1550

Ground

Tail Lamp Circuit Board - Left (w/o T79)


Object Number: 684983  Size: CH

Connector Part Information

    • 15355207
    • 5-Way F GT 150 Series Sealed 4.0 (BK)

Pin

Wire Color

Circuit No.

Function

A

BN

2509

Left Rear Park Lamps and License Lamps Supply Voltage (X88/W49/Z89)

L-BU

1320

Stop Lamp Supply Voltage (Z88)

B

L-BU

2114

Left Turn Signal Lamps Supply Voltage (X88/W49/Z89)

C

L-GN

24

Backup Lamp Supply Voltage (X88/W49/Z89)

BN

2509

Left Rear Park Lamps and License Lamps Supply Voltage (Z88)

D

L-BU

1320

Stop Lamp Supply Voltage (X88/W49/Z89)

L-BU

2114

Left Turn Signal Lamps Supply Voltage (Z88)

E

BK

1550

Ground

Tail Lamp Circuit Board - Right


Object Number: 684983  Size: CH

Connector Part Information

    • 15355207
    • 5-Way F GT 150 Series Sealed 4.0 (BK)

Pin

Wire Color

Circuit No.

Function

A

BN/WH

2609

Right Rear Park Lamps Supply Voltage (X88/W49/Z89)

L-BU

1320

Stop Lamp Supply Voltage (Z88)

B

D-BU

2115

Right Turn Signal Lamps Supply Voltage (X88/W49/Z89)

C

L-GN

24

Backup Lamp Supply Voltage (X88/W49/Z89)

BN/WH

2609

Right Rear Park Lamps Supply Voltage (Z88)

D

L-BU

1320

Stop Lamp Supply Voltage (X88/W49/Z89)

D-BU

2115

Right Turn Signal Lamps Supply Voltage (Z88)

E

BK

1650

Ground

Trailer Connector


Object Number: 525095  Size: CH

Connector Part Information

    • 15354653
    • 7-Way F Metri-Pack 280 Series Sealed (BK)

Pin

Wire Color

Circuit No.

Function

A

L-GN

1624

Trailer Backup Lamps Supply Voltage

B

WH

22

Ground

C

D-BU

47

Trailer Auxiliary Supply Voltage

D

D-GN

1619

Trailer Right Rear Turn/Stop Lamp Supply Voltage

E

RD

742

Battery Positive Voltage

F

BN

2109

Trailer Park Lamps Supply Voltage

G

YE

1618

Trailer Left Rear Turn/Stop Lamp Supply Voltage

Turn Signal Lamp - LF (W49)


Object Number: 684959  Size: CH

Connector Part Information

    • 15355377
    • 3-Way F GT 150 Series (GY)

Pin

Wire Color

Circuit No.

Function

A

BK

350

Ground

B

--

--

Not Used

C

L-BU

2114

Left Turn Signal Lamps Supply Voltage

Turn Signal Lamp - RF (W49)


Object Number: 684959  Size: CH

Connector Part Information

    • 15355377
    • 3-Way F GT 150 Series (GY)

Pin

Wire Color

Circuit No.

Function

A

BK

250

Ground

B

--

--

Not Used

C

D-BU

2115

Left Turn Signal Lamps Supply Voltage

Turn Signal/Hazard Flasher Module


Object Number: 1385119  Size: CH

Connector Part Information

    • 15359360
    • 10-Way F GT 280 Series (GY)

Pin

Wire Color

Circuit No.

Function

A

L-GN

1427

Right Turn Signal Switch Signal

B

WH

17

Stop Lamp Switch Signal

C

YE

18

Left Rear Stop/Turn Lamp Supply Voltage

D

D-GN

19

Right Rear Stop/Turn Lamp Supply Voltage

E

BK

2250

Ground

F

D-GN

1428

Left Turn Signal Switch Signal

G

WH

111

Hazard Switch Signal

H

YE

685

Left Turn Signal Flasher Signal

J

TN

686

Right Turn Signal Flasher Signal

K

OG

140

Battery Positive Voltage

Turn Signal/Multifunction Switch C1


Object Number: 39746  Size: CH

Connector Part Information

    • 12064862
    • 8-Way F Metri-Pack 150 Series (BK)

Pin

Wire Color

Circuit No.

Function

A

L-GN

1427

Right Turn Signal Switch Signal

B

PK

639

Ignition 1 Voltage

C

D-GN

1428

Left Turn Signal Switch Signal

D

OG

57

Left Cornering Lamp Supply Voltage (T87)

E

BN

2309

Front Park Lamps Supply Voltage

F

BK

58

Right Cornering Lamp Supply Voltage (T87)

G

BK/YE

28

Horn Relay Control

H

WH

111

Hazard Switch Signal

Turn Signal/Multifunction Switch C2


Object Number: 130718  Size: CH

Connector Part Information

    • 12059800
    • 5-Way F Metri-Pack 150 Series (BK)

Pin

Wire Color

Circuit No.

Function

A

TN

751

Ground

B

YE/BK

307

Flash To Pass Signal

C

L-GN

11

Headlamp High Beam Supply Voltage

D-E

--

--

Not Used

Turn Signal/Multifunction Switch C3


Object Number: 811190  Size: CH

Connector Part Information

    • 15339058
    • 7-Way F Metri-Pack 150 Series (GY)

Pin

Wire Color

Circuit No.

Function

G

--

--

Not Used

H

PK

94

Windshield Washer Switch Signal 1

J

GY

478

Windshield Wiper Switch Supply Voltage

K

D-BU/WH

477

Windshield Wiper Switch High Signal

L-N

--

--

Not Used

Turn Signal/Multifunction Switch C4 (K34)


Object Number: 39661  Size: CH

Connector Part Information

    • 12047786
    • 4-Way M Metri-Pack 150 Series (BK)

Pin

Wire Color

Circuit No.

Function

A

BN

341

Ignition 3 Voltage

B

GY/WH

397

Cruise Control Switch On Signal

C

GY/BK

87

Cruise Control Resume/Accel Switch Signal

D

D-BU

84

Cruise Control Set/Coast Switch Signal

Vanity Mirror Lamp - Left (DH2)


Object Number: 82383  Size: CH

Connector Part Information

    • 12047662
    • 2-Way F Metri-Pack 150 Series (BK)

Pin

Wire Color

Circuit No.

Function

A

OG

1732

Courtesy Lamps Supply Voltage

B

BK

1350

Ground

Vanity Mirror Lamp - Right (DH2)


Object Number: 82383  Size: CH

Connector Part Information

    • 12047662
    • 2-Way F Metri-Pack 150 Series (BK)

Pin

Wire Color

Circuit No.

Function

A

OG

1732

Courtesy Lamps Supply Voltage

B

BK

1350

Ground