GM Service Manual Online
For 1990-2009 cars only
Makes
🢒
Buick
🢒
2005
🢒
Rainier - 2WD
🢒
Accessories
🢒
Navigation Systems
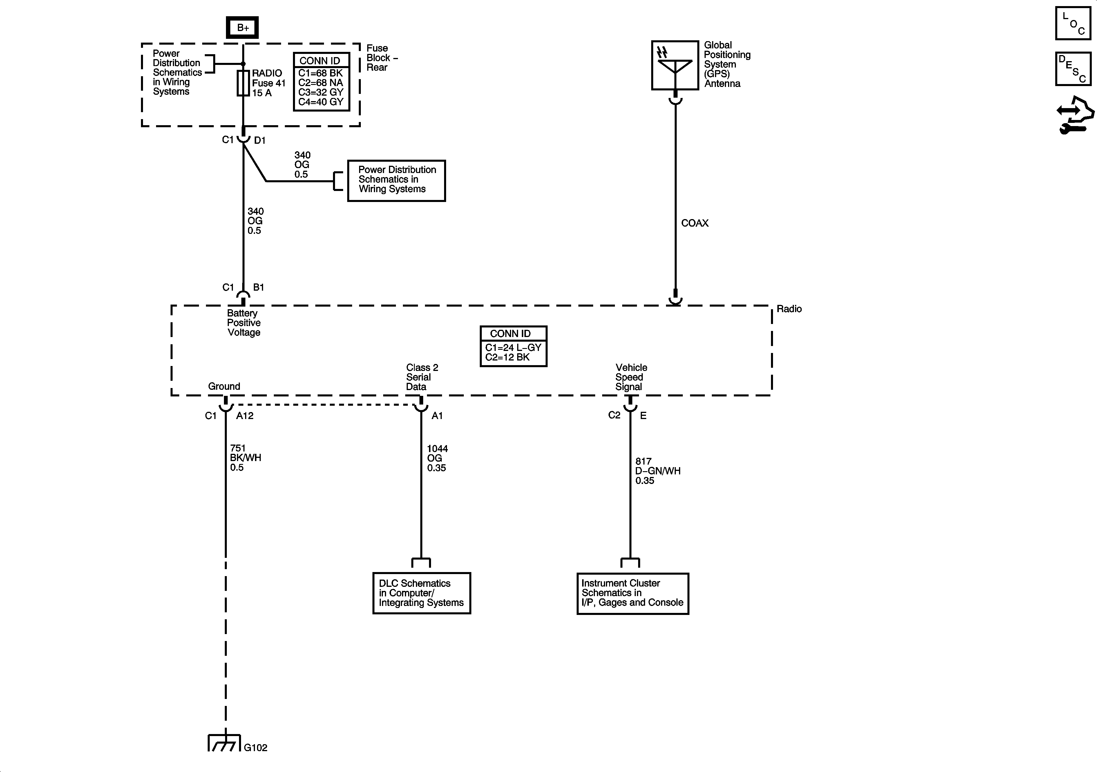
🢒 Navigation System Schematics
Master Electrical Component List
Navigation System Description and Operation
Control Module References
B+ Bus - Rear Fuse Block
HVAC B, LGM/DSM, OHBATT/ONSTAR, and RADIO Fuses
SP205
Gages
HVAC B, LGM/DSM, OHBATT/ONSTAR, and RADIO Fuses