GM Service Manual Online
For 1990-2009 cars only

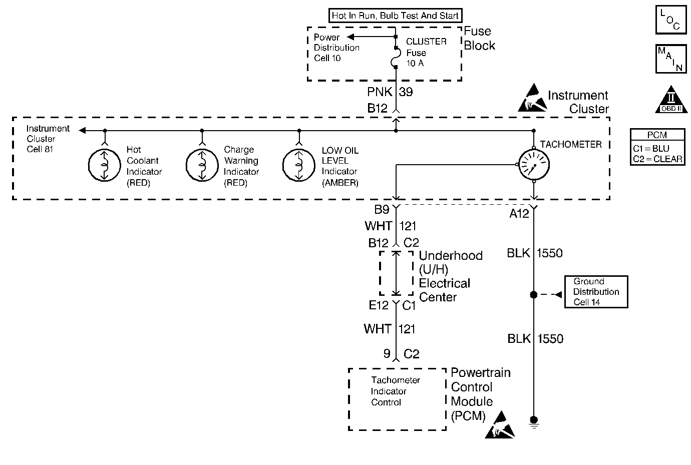
Object Number: 106278  Size: MF
Engine Controls Components Component Locations
Indicator Lamps
OBD II Symbol Description Notice

Circuit Description

The PCM supplies the ground to energize the Instrument Cluster tachometer. When the ignition switch is first turned on the PCM grounds the tachometer circuit. The circuit will remain grounded until the PCM receives the first 24X reference pulse. Once the 24X reference pulse is received, the PCM controls the pulse frequency in relationship to engine RPM. The tachometer is controlled at a rate of two pulses per crankshaft revolution.

Diagnostic Aids

Refer to Instrument Cluster in Electrical Diagnosis for additional diagnostic information.

Check for the following conditions:

    •  Poor connection at the PCM or instrument cluster. Inspect the harness connectors for backed out terminals, improper mating, broken locks, improperly formed or damaged terminals, and poor terminal to wire connection.
    •  Damaged harness. Inspect the wiring harness for damage. If the harness appears to be OK, disconnect the PCM, turn the ignition ON and observe voltmeter connected to the tachometer control circuit at the PCM harness connector while moving connectors and wiring harnesses related to the tachometer control circuit. A change in voltage will indicate the location of the fault.

Test Description

Number(s) below refer to the step number(s) on the Diagnostic Chart.

  1. Normally, ignition feed voltage should be present on the output driver circuit with the PCM disconnected and the ignition turned on.

  2. Checks for a shorted component or a short to battery positive voltage on the output driver circuit. Either condition would result in a measured current of over 0.5 amps.

  3. Checks for a faulty instrument cluster.

  4. A fault in the 24X/Camshaft position sensors feed or ground circuits will result in the loss of both PCM input pulses. Without a 24X reference pulse the PCM can not begin tachometer pulse control causing an inoperative tachometer.

  5. This vehicle is equipped with a PCM which utilizes an Electrically Erasable Programmable Read Only Memory (EEPROM). When the PCM is being replaced, the new PCM must be programmed. Refer to Powertrain Control Module Replacement/Programming .

Tachometer Control Circuit

Step

Action

Value(s)

Yes

No

1

Was Instrument Cluster diagnosis in Electrical Diagnosis. performed?

--

Go to Step 2

Go to Instrument Cluster diagnosis in Electrical Diagnosis

2

Was the Powertrain On Board Diagnostic (OBD) System Check performed?

--

Go to Step 3

Go to Powertrain On Board Diagnostic (OBD) System Check

3

  1. Turn off the ignition switch, disconnect the PCM.
  2. Turn on the ignition switch.
  3. Using DMM (J 39200), measure voltage between the tachometer control circuit at the PCM harness connector and ground.

Is voltage near the specified value?

B+

Go to Step 4

Go to Step 7

4

  1. Set up DMM to measure 10 amp range.
  2. Measure current between the tachometer control circuit and ground.
  3. Monitor the current reading on the DMM for at least 2 minutes.

Does the current reading remain less than the specified value?

0.5 Amp

Go to Step 12

Go to Step 5

5

  1. Disconnect the instrument cluster (leave the PCM disconnected).
  2. Using DMM, measure voltage between the tachometer control circuit and ground.

Is the voltage at the specified value?

0.0V

Go to Step 17

Go to Step 6

6

Locate and repair short to voltage in the tachometer control circuit. Refer to Repair Procedures in Electrical Diagnosis.

Is the action complete?

--

Go to Step 19

--

7

Check the ignition feed fuse for the instrument cluster.

Is the fuse blown?

--

Go to Step 8

Go to Step 9

8

  1. Locate and repair the following short condition:
  2. •  Short to ground in ignition feed circuit.
    •  Shorted component. Refer to Fuse Block Details in Electrical Diagnosis.
  3. Replace the fuse.

Is the action complete?

--

Go to Step 19

--

9

  1. Disconnect the instrument cluster.
  2. Turn on the ignition switch, measure voltage between the ignition feed circuit for the instrument cluster and ground.

Is the voltage near the specified value?

B+

Go to Step 10

Go to Step 16

10

  1. Check the tachometer control circuit for an open or a short to ground.
  2. If a problem is found, repair the tachometer control circuit.

Was a problem found?

--

Go to Step 19

Go to Step 11

11

  1. Check the tachometer control circuit and the ignition feed circuit for a poor connection at the instrument cluster and at the PCM.
  2. If a problem is found, replace faulty terminal(s).

Was a problem found?

--

Go to Step 19

Go to Step 17

12

  1. Turn off the ignition switch, reconnect the PCM and disconnect the instrument cluster.
  2. Connect a test light between the tachometer control circuit and the tachometer feed circuit at the instrument cluster harness connector.
  3. With the engine idling, observe the test light.

Does the test light flash on and off?

--

Refer to Diagnostic Aids

Go to Step 13

13

Is the test light on steady?

--

Go to Step 14

Go to Step 15

14

Locate and repair the following circuit condition:

    •  Short to ground in the 24X/Camshaft position sensor feed circuit.
    •  Open in the 24X/Camshaft position sensor ground circuit.
    •  Faulty splice connection in the 24X/Camshaft position sensor feed or ground circuit.

Is the action complete?

--

Go to Step 19

--

15

  1. Check the tachometer control circuit for a poor connection at the PCM.
  2. If a problem is found, replace faulty terminal.

Was a problem found?

--

Go to Step 19

Go to Step 18

16

Locate and repair open in ignition feed circuit to the instrument cluster. Refer to Repair Procedures in Electrical Diagnosis.

Is the action complete?

--

Go to Step 19

--

17

Replace the instrument cluster.

Is the action complete?

--

Go to Step 19

--

18

Replace the PCM.

Important: :  Replacement PCM must be programmed. Refer to Powertrain Control Module Replacement/Programming .

Is the action complete?

--

Go to Step 19

--

19

Operate the vehicle while observing the I/P tachometer.

Does the I/P tachometer operate properly?

--

System OK

Go to Instrument Cluster diagnosis in Electrical Diagnosis.