GM Service Manual Online
For 1990-2009 cars only
Makes
🢒
Buick
🢒
1997
🢒
Regal
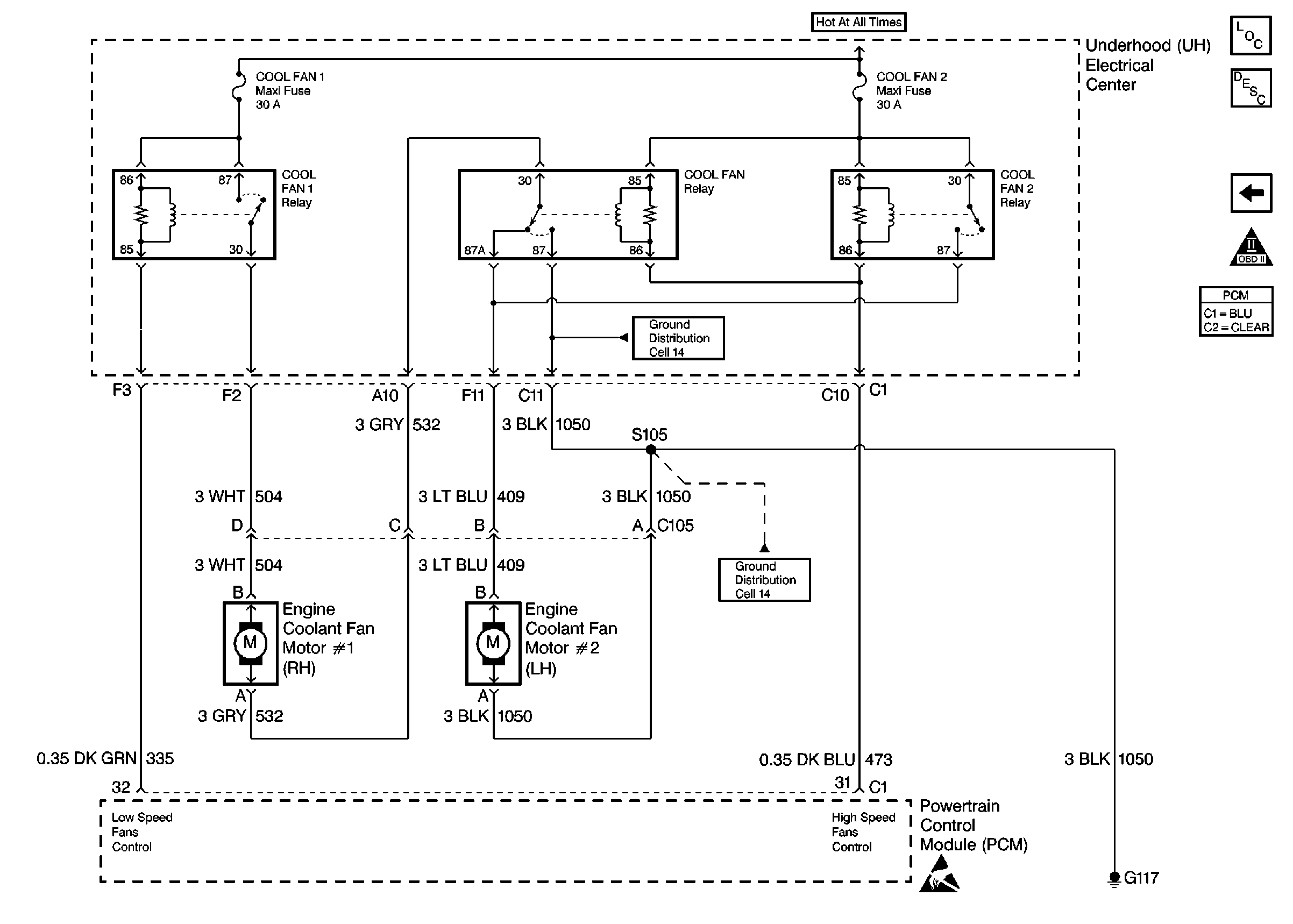
🢒 Coolant Fans schematic
Coolant Fans schematic
Coolant Fans
Engine Controls Components
Information Sensors
A/C Compressor Controls
OBD II Symbol Description Notice
Handling ESD Sensitive Parts Notice