GM Service Manual Online
For 1990-2009 cars only

Refer to

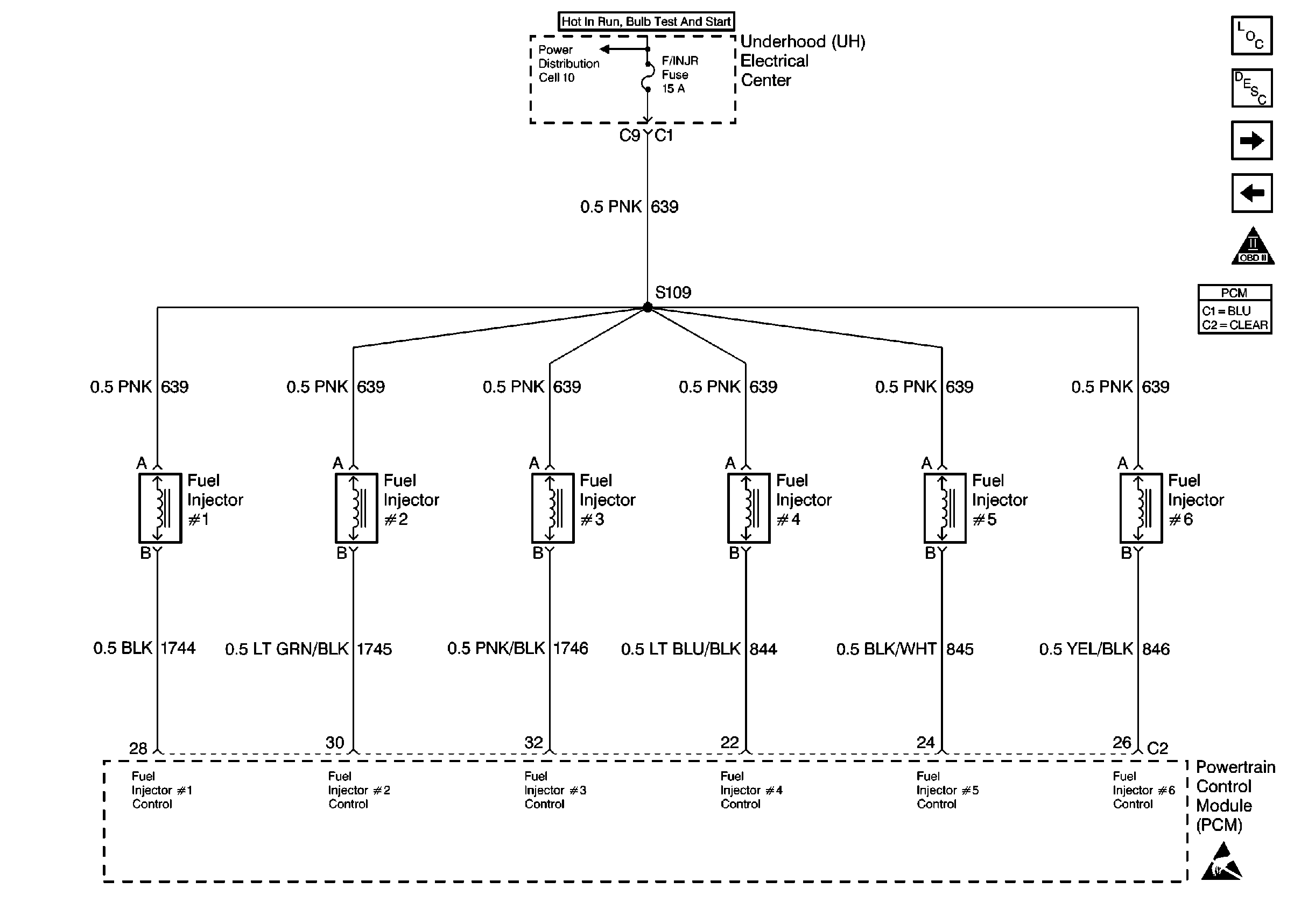
Fuel Injectors


Object Number: 82262  Size: FS
Engine Controls Components Component Locations
Information Sensors
Indicator Lamps
Fuel Control (VIN 1)
OBD II Symbol Description Notice
Handling ESD Sensitive Parts Notice
.

Circuit Description

The PCM controls the fuel injector control circuit using a General FET Driver (GFD). The GFD has the ability to detect an electrical malfunction on any of the injector ignition feed or control circuits. If an electrical malfunction is detected, the GFD signals the PCM to set DTC P1200.

Conditions for Setting the DTC

    • An incorrect voltage level is being detected on an injector control circuit.
    • Above condition for over 5 seconds.

Action Taken When the DTC Sets

    • The PCM will illuminate the MIL during the first trip in which the diagnostic runs and fails.
    • If equipped with traction control, the PCM will command the EBTCM via serial data (CKT 800) to turn OFF traction control and illuminate the TRACTION OFF lamp.
    • The PCM will store conditions which were present when the DTC set as Freeze Frame and Fail Records data.

Conditions for Clearing the MIL/DTC

    • The PCM will turn the MIL OFF during the third consecutive trip in which the diagnostic has been run and passed.
    • The history DTC will clear after 40 consecutive warm-up cycles have occurred without a malfunction.
    • The DTC can be cleared by using the scan tool Clear Info function or by disconnecting the PCM battery feed.

Diagnostic Aids

The misfire history counters may be useful in determining which injector circuit is malfunctioning. If DTC P0300 was set, look at the Misfire Hist # display for each cylinder. The largest value stored in the misfire history counters will indicate the location of the malfunctioning injector circuit or injector.

Check for the following conditions:

    • Poor connection at the PCM or fuel injectors.
        Inspect harness connectors for backed out terminals, improper mating, broken locks, improperly formed or damaged terminals, and poor terminal to wire connection.
    • Damaged harness.
        Inspect the wiring harness for damage.

Reviewing the Fail Records vehicle mileage since the diagnostic test last failed may help determine how often the condition that caused the DTC to be set occurs. This may assist in diagnosing the condition.

Test Description

Number(s) below refer to the step number(s) on the Diagnostic Table.

  1. The Misfire Current Cylinder # and Misfire History Cylinder # counters dislayed on the scan tool may be helpful in isolating which injector control circuit caused DTC P1200 to be set. The DTC P1200 diagnostic table must be completed to determine whether the problem was caused by wiring, a malfunctioning injector, or a malfunctioning PCM.

  2. Checks for malfunctioning injector control circuit or ignition feed wiring.

  3. Checks for a malfunction in the injector ignition feed circuit.

  4. Checks for a short to ground in the injector control circuit.

  5. Checks for an open in the injector control circuit.

  6. This vehicle is equipped with a PCM which utilizes an Electrically Erasable Programmable Read Only Memory (EEPROM). When the PCM is being replaced, the new PCM must be programmed.

DTC P1200 - Injector Control Circuit

Step

Action

Value(s)

Yes

No

1

Was the Powertrain On-Board Diagnostic (OBD) System Check performed?

--

Go to Step 2

Go to the Powertrain On Board Diagnostic (OBD) System Check

2

With the engine idling, monitor Specific DTC info for DTC P1200 on the scan tool.

Does the scan tool indicate DTC P1200 failed this ign?

--

Go to Step 4

Go to Step 3

3

  1. Turn ON the ignition switch.
  2. Review and record scan tool Fail Records data.
  3. Operate the vehicle within Fail Records conditions.
  4. Monitor Specific DTC info for DTC P1200 on the scan tool.

Does the scan tool indicate DTC P1200 failed this ign?

--

Go to Step 4

Refer to Diagnostic Aids

4

  1. Turn OFF the ignition switch.
  2. Disconnect the PCM.
  3. Turn ON the ignition switch.
  4. Using a J 39200 Digital Multimeter, measure the voltage between each injector control circuit (1-6) at the PCM connector and ground.

Do all injector control circuits measure near the specified value?

B+

Go to Step 5

Go to Step 9

5

Check the injectors. Refer to Fuel Injector Solenoid Coil Test .

Are the injectors OK?

--

Go to Step 6

Go to Step 17

6

  1. Turn OFF the ignition switch.
  2. Disconnect all the injectors.
  3. Turn ON the ignition switch.
  4. Measure the voltage between each injector control circuit (1-6) at the PCM connector and ground.

Do all injector control circuits measure near the specified value?

0V

Go to Step 7

Go to Step 16

7

  1. Check the wire harness ignition feed circuits between the fuse and the injectors for an intermittent open.
  2. Check the injector control circuits between the PCM and the injectors for an intermittent open or short to ground.
  3. If a problem is found, repair as necessary. Refer to Repair Procedures in Electrical Diagnosis.

Was a problem found?

--

Go to Step 19

Go to Step 8

8

  1. Check for poor terminal connections at the injector connectors.
  2. Check the injector control circuits for poor terminal connections at the PCM connector.
  3. If a problem is found, replace loose terminal(s). Refer to Repair Procedures in Electrical Diagnosis.

Was a problem found?

--

Go to Step 19

Go to Step 18

9

  1. Turn OFF the ignition switch.
  2. Disconnect the injector connectors associated with the injector control circuits that did not measure near the specified value in Step 4 .
  3. Turn ON the ignition switch.
  4. Measure voltage between ignition feed circuit at the affected injector connector(s) and ground.

Does the ignition feed circuit measure near the specified value?

B+

Go to Step 10

Go to Step 14

10

Probe the injector control circuit at the affected injector connector(s) with a test light to B+.

Is the test light ON?

--

Go to Step 15

Go to Step 11

11

  1. Turn OFF the ignition switch.
  2. Install a fused jumper between the injector control circuit and the ignition feed circuit at the affected injector connector(s).
  3. Turn ON the ignition switch.
  4. Probe the affected injector control circuits at the PCM connector with a test light to ground.

Is the test light ON?

--

Go to Step 12

Go to Step 13

12

  1. Check for a poor terminal connection at the injector connector(s).
  2. If a problem is found, replace loose terminal(s). Refer to Repair Procedures in Electrical Diagnosis.

Was a problem found?

--

Go to Step 19

Go to Step 17

13

Locate and repair open in affected injector control circuit(s). Refer to Repair Procedure in Electrical Diagnosis.

Is action complete?

--

Go to Step 19

--

14

Locate and repair open or short to ground in ignition feed circuit to affected injector(s). Refer to Repair Procedures in Electrical Diagnosis.

Is action complete?

--

Go to Step 19

--

15

Locate and repair short to ground in affected injector control circuit(s). Refer to Repair Procedures in Electrical Diagnosis.

Is action complete?

--

Go to Step 19

--

16

Locate and repair short to voltage on the injector control circuit(s) that did not measure near the specified value. Refer to Repair Procedures in Electrical Diagnosis.

Is action complete?

0v

Go to Step 19

--

17

Replace malfunctioning injector(s). Refer to Fuel Injection Fuel Rail Assembly Replacement .

Is action complete?

--

Go to Step 19

--

18

Replace the PCM.

Important:: The replacement PCM must be programmed. Refer to Powertrain Control Module Replacement/Programming .

Is action complete?

--

Go to Step 19

--

19

  1. Review and record scan tool Fail Records data.
  2. Clear DTCs.
  3. Operate the vehicle within Fail Records conditions.
  4. Monitor Specific DTC info for DTC P1200 on the scan tool.

Does the scan tool indicate DTC P1200 failed this ign?

--

Go to Step 2

System OK