GM Service Manual Online
For 1990-2009 cars only

Removal Procedure

Caution: Do not disturb or remove the screw which retains the primary spring to the secondary piston. This screw has been set to a predetermined height, and the performance of the master cylinder will be adversely affected if this setting is changed. An improperly adjusted screw may result in poor brake performance and possible personal injury.

Important: The reservoir cap (6) and the diaphragm (7) may be inspected and serviced without removing the master cylinder from the vehicle.


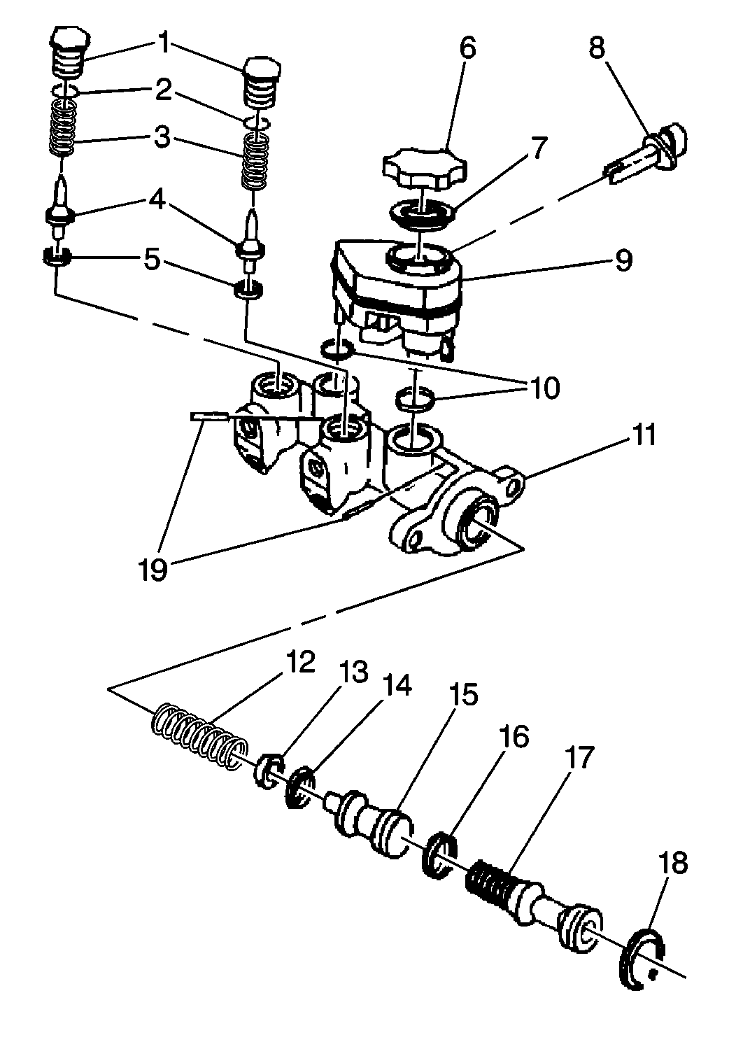
    Object Number: 185178  Size: MH
  1. Remove the brake modulator (ABS)/master cylinder assembly. Refer to Brake Modulator/Master Cylinder Assembly Replacement in Antilock Brakes.
  2. Wipe the reservoir cap (6) clean.
  3. Remove the reservoir cap (6) and the diaphragm.
  4. Replace the reservoir cap and the diaphragm (7) if the following damage exists:
  5. • Cuts
    • Cracks
    • Nicks
    • Deformation
  6. Remove the master cylinder reservoir. Refer to Master Cylinder Reservoir Replacement .
  7. Remove the proportioning valves. Refer to Proportioning Valve Replacement .
  8. Remove the retainer (18) while depressing the primary piston (17). Use care so that you do not damage the following components:
  9. • The piston (17)
    • The bore
    • The retainer groove
  10. Apply low pressure, non-lubricated, compressed air into the upper outlet port at the blind end of the bore while the other outlet ports are plugged. Perform the above action in order to remove the following components:
  11. 8.1. Primary piston (17)
    8.2. Secondary piston (15)
    8.3. Spring (12)
    8.4. Spring retainer (13)
  12. Remove the seals (16) and the spring retainer (13) from the secondary piston (15).
  13. Inspect the master cylinder for scoring or corrosion. Replace the master cylinder if damage exists.
  14. Do not use abrasives in the bore.

  15. Clean all of the components in clean, denatured alcohol.
  16. Dry the components with non-lubricated, compressed air.

Installation Procedure


    Object Number: 185178  Size: MH
  1. Install lubricated seals (16) and the spring retainer (13) onto the secondary piston.
  2. Install the spring (12) and the secondary piston (15) into the cylinder bore. Lubricate the parts with clean brake fluid in order to ease assembly.
  3. Install the lubricated primary piston (17) into the cylinder bore.
  4. While depressing the primary position (17), install the retainer (18).
  5. Install the proportioning valves. Refer to Proportioning Valve Replacement .
  6. Install the master cylinder reservoir. Refer to Master Cylinder Reservoir Replacement .
  7. Insert the diaphragm (7) into the reservoir cap (6).
  8. Install the cap (6) on the reservoir (9).

  9. Install the brake modulator (ABS)/master cylinder assembly. Refer to Brake Modulator/Master Cylinder Assembly Replacement in Antilock Brakes.