GM Service Manual Online
For 1990-2009 cars only

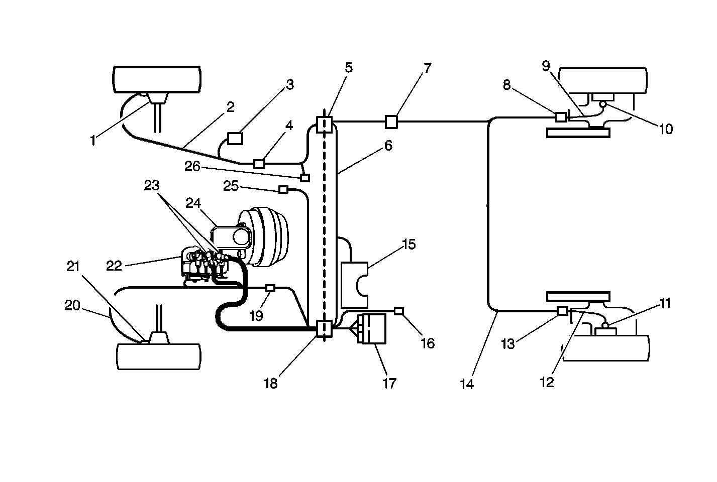
ABS/TCS Component Location View


Object Number: 255635  Size: MF
(1)Right Front Wheel Speed Sensor
(2)Right Front Wheel Speed Sensor Jumper Harness
(3)Underhood Electrical Center
(4)LP Harness to Right Front Wheel Speed Sensor Jumper Harness
(5)Pass Through
(6)IP Harness
(7)Body Harness to IP harness Connector
(8)Right Rear Body Pass Through Connector
(9)Right Rear Wheel Speed Sensor Jumper Harness
(10)Right Rear Wheel Speed Sensor
(11)Left Rear Wheel Speed Sensor
(12)Left Rear Wheel Aspect Sensor Jumper Harness
(13)Left Rear Body Pass Through Connector
(14)Body Harness
(15)IP Warning Indicators
(16)Electronic Brake Control Relay
(17)Electronic Brake Traction Control Module (EBTCM)
(18)ABS Pass Through
(19)IP Harness to Left Front Wheel Speed Sensor Jumper Harness
(20)Left Front Wheel Speed Sensor Jumper Harness
(21)Left Front Wheel Speed Sensor
(22)Brake Modulator (ABS)
(23)Brake Solenoid Valves
(24)Master Cylinder
(25)MSVA Actuator
(26)Traction Control Modulator