GM Service Manual Online
For 1990-2009 cars only
Makes
🢒
Buick
🢒
1998
🢒
Regal
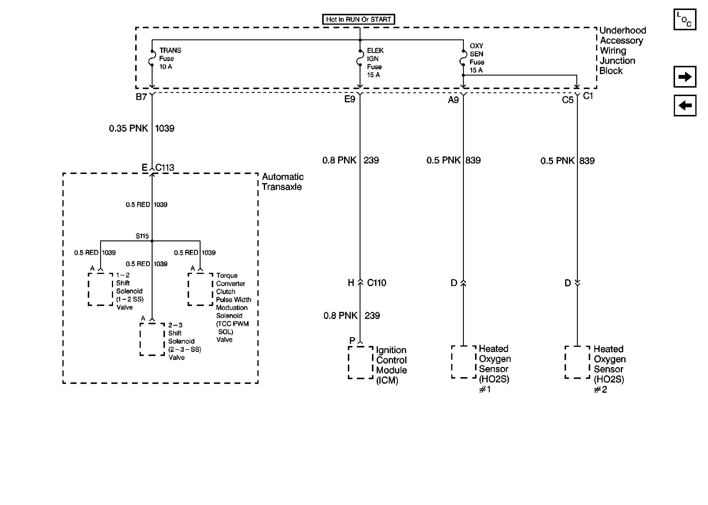
🢒 Cell 10: TRANS, ELEK IGN, And OXY SEN Fuses
Cell 10: TRANS, ELEK IGN, And OXY SEN Fuses
Cell 10: TRANS, ELEK IGN, And OXY SEN Fuses
Power and Grounding Components
Cell 10: F/INJR Fuse
Cell 10: ENG EMIS Fuse