GM Service Manual Online
For 1990-2009 cars only

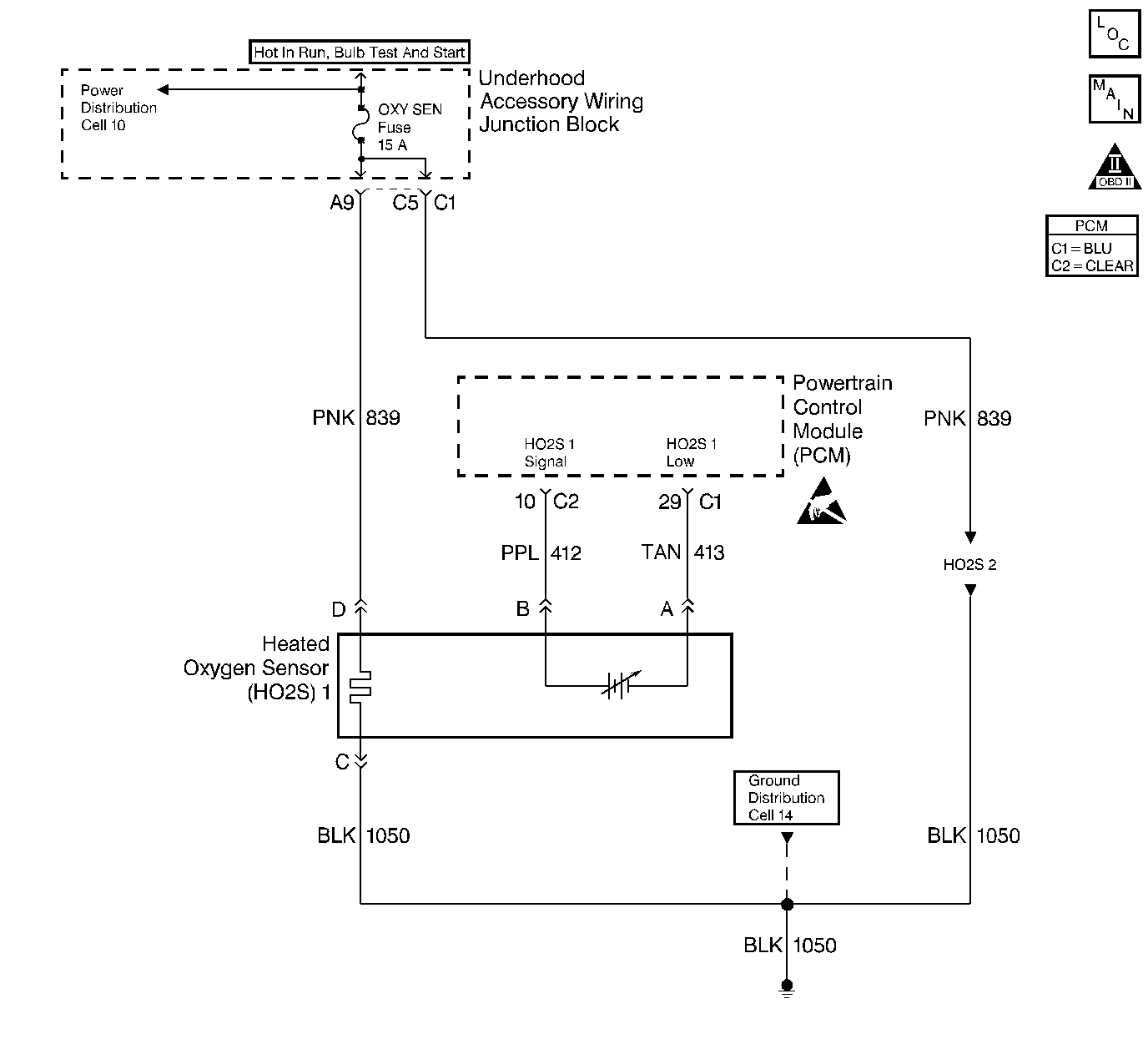
Object Number: 248169  Size: LF
Engine Data Sensors-HO2S 1, HO2S 2
OBD II Symbol Description Notice
Handling ESD Sensitive Parts Notice

Circuit Description

The PCM monitors the Heated Oxygen Sensor (HO2S) activity for 100 seconds. During this test period the PCM counts the number of times that the HO2S signal voltage crosses the rich to lean and lean to rich thresholds. If the PCM determines that the HO2S did not switch enough times, DTC P1133 will be set. A lean to rich switch is determined when the HO2S voltage changes from less than 300 mV to greater than 600 mV. A rich to lean switch is determined when the HO2S voltage changes from more than 600 mV to less than 300 mV.

Conditions for Running the DTC

    • No TP sensor, EVAP system, misfire, IAT sensor, MAP sensor, Fuel trim, injector circuit, EGR Pintle Position, MAF sensor, ECT sensor, CKP sensor, or H02S sensor 1 heater circuit DTCs set.
    • Mass Air Flow is between 10 g/s and 30 g/s.
    • ECT is greater than 50°C (122°F).
    • Engine run time is greater than 60 seconds.
    • Engine speed is between 1000 RPM and 3000 RPM.
    • The engine is running in closed loop.

Conditions for Setting the DTC

    • The above conditions are present for a 100 second monitoring period.
    • The PCM monitors fewer than 40 rich to lean and 40 lean to rich switches for HO2S 1.

Action Taken When the DTC Sets

    • The PCM will illuminate the MIL during the second consecutive trip in which the diagnostic test has been run and failed.
    • The PCM will store conditions which were present when the DTC set as Freeze Frame and Fail Records data.

Conditions for Clearing the MIL/DTC

    • The PCM will turn the MIL OFF during the third consecutive trip in which the diagnostic has been run and passed.
    • The history DTC will clear after 40 consecutive warm-up cycles have occurred without a malfunction.
    • The DTC can be cleared by using the scan tool Clear Info function or by disconnecting the PCM battery feed.

Diagnostic Aids

A malfunction in the HO2S heater ignition feed or ground circuit may cause the DTC to set. Check HO2S heater circuitry for intermittent malfunctions or poor connections. If connections and wiring are OK and the DTC continues to set, replace the HO2S 1.

Reviewing the Fail Records vehicle mileage since the diagnostic test last failed may help determine how often the condition that caused the DTC to be set occurs. This may assist in diagnosing the condition.

Test Description

Numbers below refer to the step numbers on the diagnostic table.

  1. This step checks for conditions which may cause the DTC to set with a good heated oxygen sensor. Correct any of the described conditions if present.

  2. Before replacing the HO2S, check for silicon contamination. Refer to

    Notice: Contamination of the oxygen sensor can result from the use of an inappropriate RTV sealant (not oxygen sensor safe) or excessive engine coolant or oil consumption. Remove the HO2S and visually inspect the portion of the sensor exposed to the exhaust stream in order to check for contamination. If contaminated, the portion of the sensor exposed to the exhaust stream will have a white powdery coating. Silicon contamination causes a high but false HO2S signal voltage (rich exhaust indication). The control module will then reduce the amount of fuel delivered to the engine, causing a severe driveability problem. Eliminate the source of contamination before replacing the oxygen sensor.

    .

DTC P1133 - HO2S Insufficient Switching Sensor 1

Step

Action

Value(s)

Yes

No

1

Was the Powertrain On-Board Diagnostic (OBD) System Check performed?

--

Go to Step 2

Go to the Powertrain On Board Diagnostic (OBD) System Check

2

Important: If any DTCs are set (except P1133 or P1134), go to those DTCs before proceeding with this diagnostic table.

  1. Operate the vehicle within parameters specified under Conditions for Setting the DTC criteria included in Diagnostic Support.
  2. Using a scan tool, monitor Specific DTC info for DTC P1133 until the DTC P1133 test runs.

Does the scan tool indicate DTC failed this ignition?

--

Go to Step 3

Go to Diagnostic Aids

3

  1. Check the exhaust system for leaks. Refer to DTC P1646 Supercharger Boost Solenoid Control Circuit .
  2. If an exhaust leak is found, repair as necessary.

Was a problem found?

--

Go to Step 11

Go to Step 4

4

Visually/physically inspect the following items:

    • Ensure that the HO2S 1 is securely installed.
    • Check for corrosion on terminals.
    • Check terminal tension at HO2S 1 and at the PCM.
    • Check for damaged wiring.

Was a problem found in any of the above areas?

--

Go to Step 8

Go to Step 5

5

  1. Disconnect HO2S 1 and jumper HO2S low (PCM side) signal circuit to ground.
  2. Using a scan tool, monitor HO2S 1 voltage.

Does the scan tool indicate voltage near the specified value?

450 mV

Go to Step 6

Go to Step 9

6

  1. Jumper HO2S 1 high and low (PCM side) signal circuits to ground.
  2. Using a scan tool, monitor HO2S 1 voltage.

Does scan tool indicate voltage less than the specified value?

300 mV

Go to Step 7

Go to Step 10

7

Replace the affected Heated Oxygen Sensor(s). Refer to Heated Oxygen Sensor Replacement .

Is action complete?

--

Go to Step 11

--

8

Repair the condition as necessary.

Is action complete?

--

Go to Step 11

--

9

Repair open HO2S 1 low signal circuit or grounded HO2S 1 high signal circuit. Refer to Heated Oxygen Sensor Replacement .

Is action complete?

--

Go to Step 11

--

10

Repair open HO2S 1 high signal circuit or poor connections at the PCM. Refer to Heated Oxygen Sensor Replacement .

Is action complete?

--

Go to Step 11

--

11

  1. Clear DTCs.
  2. Operate the vehicle within parameters specified under Conditions for Setting the DTC criteria included in Diagnostic Support.
  3. Using a scan tool, monitor Specific DTC info for DTC P1133 until the DTC P1133 test runs.

Does the scan tool indicate DTC failed this ignition?

--

Go to Step 2

System OK