GM Service Manual Online
For 1990-2009 cars only

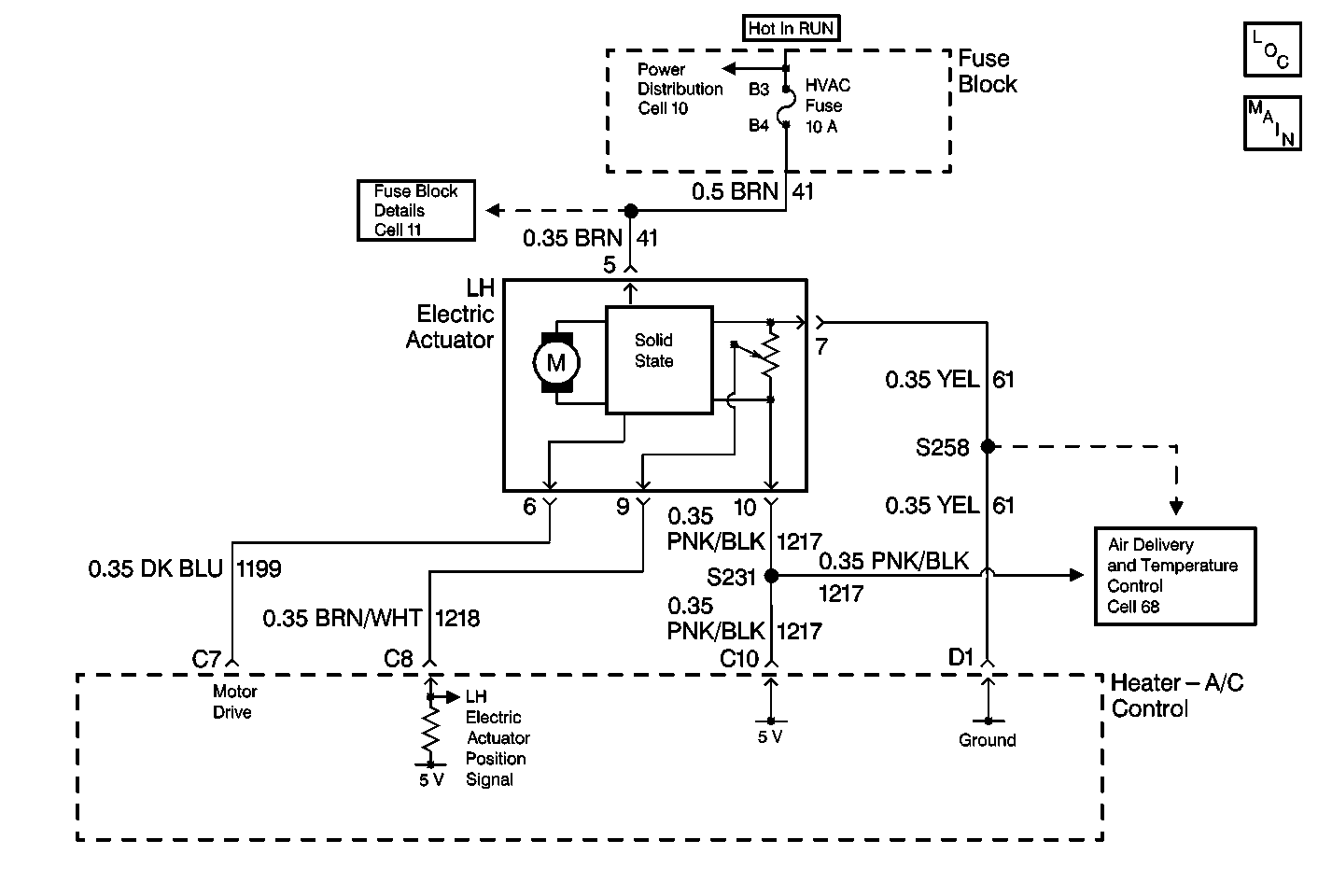
Object Number: 299557  Size: MF
Cell 68: Electric Actuators
Fuse Block Schematics
HVAC Air Delivery/Temperature Control Schematics

Circuit Description

The heater-A/C control receives a left electric actuator position signal from the left electric actuator. The left electric actuator position sensor is a potentiometer that is linked as follows:

    • From the heater-A/C control through CKT 1217 to a 5V source
    • From the heater-A/C control through CKT 61 to the ground

The variable output from the potentiometer feeds back a position signal through CKT 1218. The signal is fed to a pull-up resistor. The pull-up resistor is located in the heater-A/C control. This signal relates to the position of the left electric actuator. This signal is used in order to determine the necessary drive signal to the left electric actuator motor. The electric actuator motor provides the proper air mix door position. This value is stored in the Keep Alive Memory (KAM) of the heater-A/C control.

Conditions for Running the DTC

    • The heater-A/C control will perform an internal test on the left electric actuator position signal.
    • The heater-A/C control detects a fault to the left electric actuator position signal which may or may not be caused by an external fault.

Action Taken When the DTC Sets

Stores a DTC B0441 in the heater-A/C control memory.

Conditions for Clearing the DTC

    • Under all fault conditions, the ignition must be cycled before this DTC can change from current to history.
    • A history DTC will clear after 100 drive cycles if the condition for the malfunction is no longer present.
    • Use a scan tool in order to clear a DTC.

Diagnostic Aids

The following conditions may cause a malfunction to occur:

    • A voltage spike in CKT 1218
    • A short to the ground in CKT 1217
    • A short to B+ in CKT 1218
    • An open in CKT 61, CKT 1217 or CKT 1218

Test Description

The number(s) below refer to the step number(s) on the diagnostic table.

  1. Always perform the Heater-A/C Control Diagnostic System Check before attempting to diagnose a DTC B0441.

  2. Perform this test in order to determine if the heater-A/C control 5 volt supply is getting through CKT 1217 to the left electric actuator harness connector terminal 10.

  3. Perform this test in order to determine if the heater-A/C control 5 volt pull-up is getting through CKT 1218 to the left electric actuator harness connector terminal 9.

  4. Perform this test in order to determine if the heater-A/C control ground is getting through CKT 61 to the left electric actuator harness connector terminal 7.

  5. Always clear DTCs after a repair procedure is complete.

Important: In order to avoid misdiagnosis, be sure to zero the J 39200 J 39200 DMM before taking measurements.

Step

Action

Value(s)

Yes

No

1

Were you sent here from the heater-A/C control diagnostic system check?

--

Go to Step 2

Go to Diagnostic System Check

2

  1. Disconnect the left electric actuator.
  2. Start the engine.
  3. Run the engine at idle until warm.
  4. Set the heater-A/C control to AUTO 16°C (60°F).
  5. Using a J 39200 DMM, probe between the left actuator harness connector terminal 10 (CKT 1217) and ground.

Is the measured voltage within the specified range?

4.5-5.5 V

Go to Step 3

Go to Step 4

3

Using a J 39200 DMM, probe the left actuator harness connector between terminal 10 (CKT 1217) and terminal 7 (CKT 61).

Is the measured voltage within the specified range?

4.5-5.5 V

Go to Step 4

Go to Step 5

4

Using a J 39200 DMM, probe between the left electric actuator harness connector terminal 9 (CKT 1218) and ground.

Is the measured voltage within the specified range?

4.5-5.5 V

Go to Step 11

Go to Step 8

5

Inspect CKT 1217 for a short to ground.

Did you find a short to ground?

--

Go to Step 6

Go to Step 7

6

Repair a short to ground in CKT 1217.

Is the repair complete and did you retest the system?

--

Go to Step 12

--

7

  1. Inspect for a poor connection or an open in CKT 1217 between S231 and the left electric actuator terminal 10.
  2. If OK, replace the heater-A/C control. Refer to Control Assembly Replacement in Instrument Panel, Gauges and Console.

Is the repair complete and did you retest the system?

--

Go to Step 12

--

8

Inspect CKT 1218 for a short to B+ or ground.

Did you find a short to B+ or ground?`

--

Go to Step 9

Go to Step 10

9

Repair a short to B+ or ground in CKT 1218.

Is the repair complete and did you retest the system?

--

Go to Step 12

--

10

  1. Inspect for poor connections or an open in CKT 1218.
  2. If OK, replace the heater-A/C control. Refer to Control Assembly Replacement in Instrument Panel, Gauges and Console.

Is the repair complete and did you retest the system?

--

Go to Step 12

--

11

Replace the left electric actuator. Refer to Temperature Actuator Replacement (LH (Driver)) .

Is the repair complete and did you retest the system?

--

Go to Step 12

--

12

  1. Turn the ignition switch to the OFF position.
  2. Connect or install any connectors or components that you disconnected or removed.
  3. Turn the ignition switch to the RUN position.
  4. Clear all DTCs. Refer to Clearing DTCs .

Is the repair complete?

--

Go to Diagnostic System Check

--