GM Service Manual Online
For 1990-2009 cars only
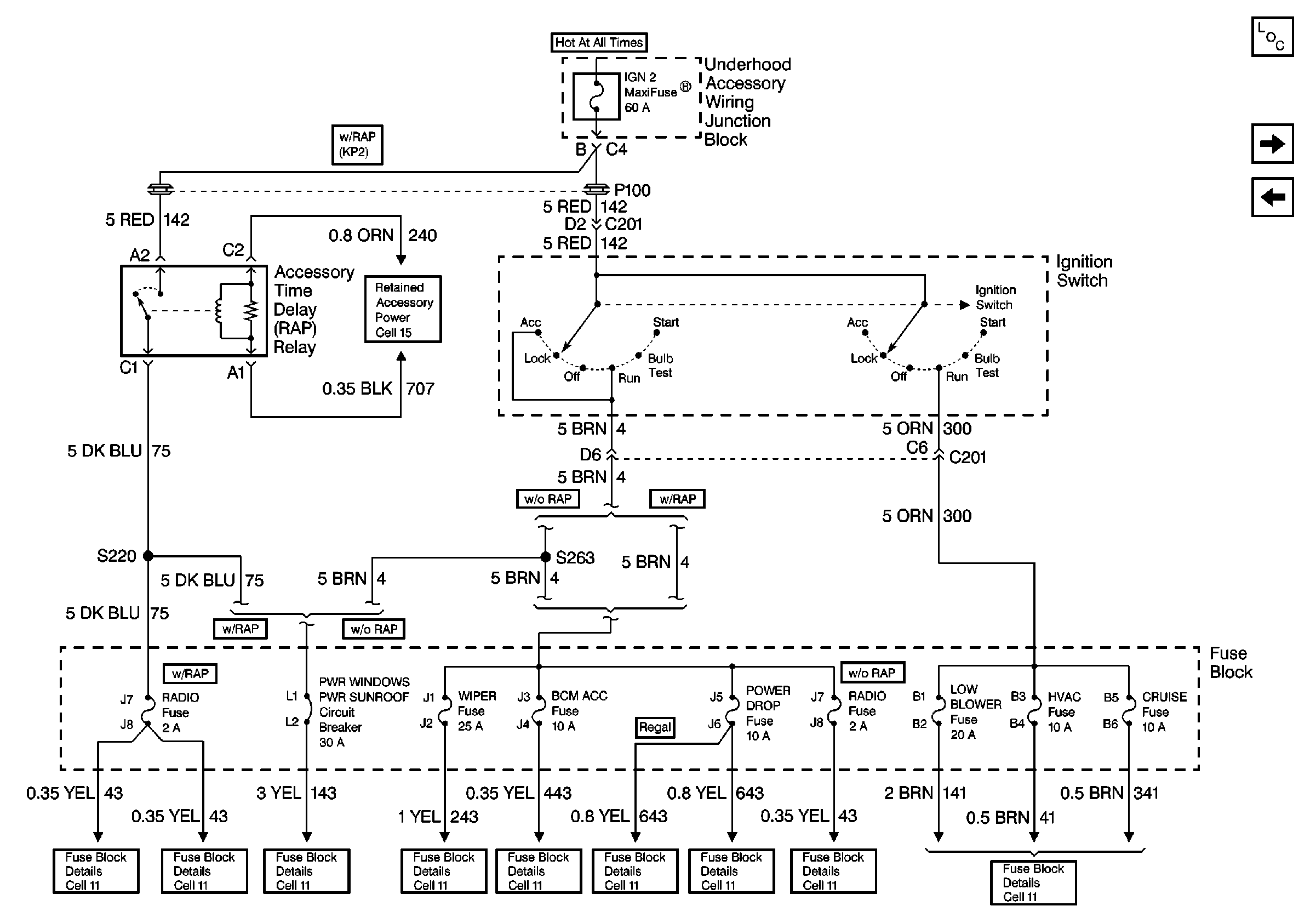
Figure 1:

Cell 10: Battery, and Generator


Object Number: 349050  Size: FS
Power and Grounding Components
Cell 10: Accessory Time Delay Relay, and Ignition Switch
Cell 11: LP PARK, HDLP L and HDLP R Fuses
Cell 11: RADIO-HVAC RFA CLUSTER CEL TEL, BCM PWR, INADV POWER BUS,and CIGAR LTR DATA LINK Fuses
Cell 11: HIGH BLOWER, HAZARD, STOP LAMPS, DOOR LOCKS, POWER MIRRORS, RH HEATED SEAT AND LH HEATED SEAT Fuses
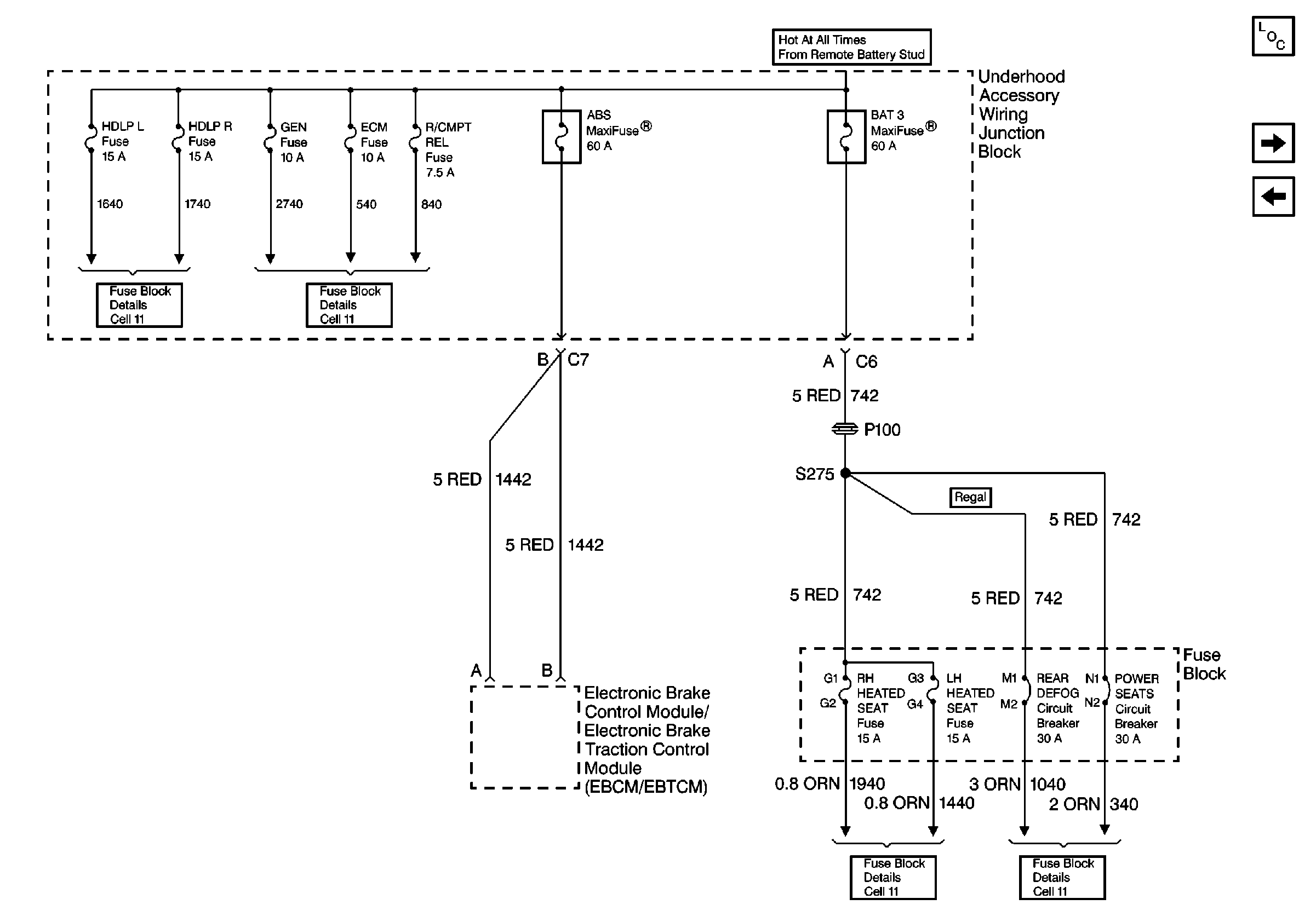
Figure 2:

Cell 10: Accessory Time Delay Relay, and Ignition Switch


Object Number: 349051  Size: FS
Power and Grounding Components
Cell 10: Ignition Switch
Cell 10: Battery, and Generator
Cell 11: WIPER, BCM ACC, POWER DROP, RADIO and STRG WHL CONT Fuses
Cell 11: WIPER, BCM ACC, POWER DROP, RADIO and STRG WHL CONT Fuses
Cell 11: PWR WINDOWS-PWR SUNROOF, REAR DEFOG and POWER SEATS Circuit Breakers
Cell 11: WIPER, BCM ACC, POWER DROP, RADIO and STRG WHL CONT Fuses
Cell 11: WIPER, BCM ACC, POWER DROP, RADIO and STRG WHL CONT Fuses
Cell 11: WIPER, BCM ACC, POWER DROP, RADIO and STRG WHL CONT Fuses
Cell 11: WIPER, BCM ACC, POWER DROP, RADIO and STRG WHL CONT Fuses
Cell 11: WIPER, BCM ACC, POWER DROP, RADIO and STRG WHL CONT Fuses
Cell 11: LOW BLOWER, CRUISE and HVAC Fuses
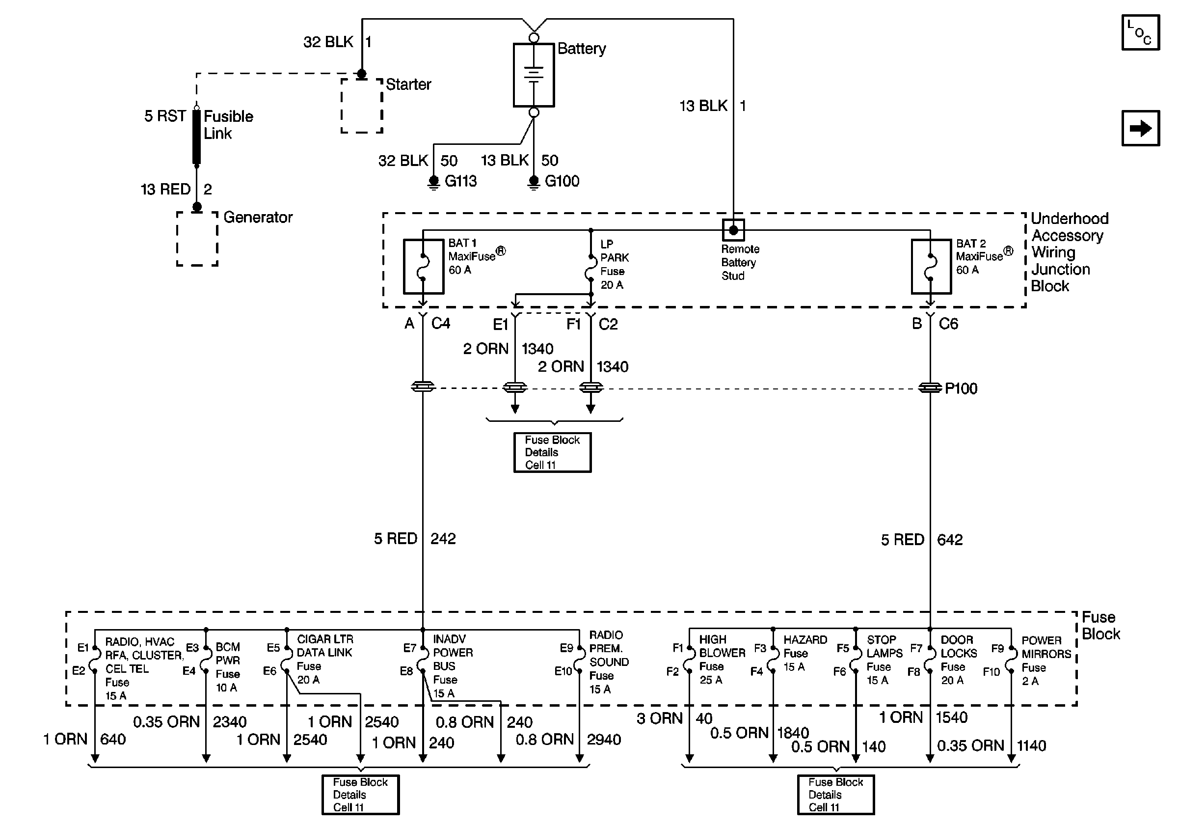
Figure 3:

Cell 10: Ignition Switch


Object Number: 349053  Size: FS
Power and Grounding Components
Cell 10: EBCM/EBTCM
Cell 10: Accessory Time Delay Relay, and Ignition Switch
Cell 11: TURN SIGNALS CORN LPS, AIR BAG, CLUSTER, DRL and PCM-BCM U/H RELAY Fuses
Cell 11: ABS, and BTSI PARK LOCK Fuses
Cell 10: Accessory Time Delay Relay, and Ignition Switch
Cell 11: HEATED MIRROR, CRANK SIGNAL BCM CLUSTER, IGN 0: CLUSTER PCM & BCM, and PARK LOCK Fuses
Cell 10: Underhood Accessory Wiring Junction Block
Cell 11: HEATED MIRROR, CRANK SIGNAL BCM CLUSTER, IGN 0: CLUSTER PCM & BCM, and PARK LOCK Fuses
Figure 4:

Cell 10: EBCM/EBTCM


Object Number: 349056  Size: FS
Power and Grounding Components
Cell 10: Underhood Accessory Wiring Junction Block
Cell 10: Ignition Switch
Cell 11: HIGH BLOWER, HAZARD, STOP LAMPS, DOOR LOCKS, POWER MIRRORS, RH HEATED SEAT AND LH HEATED SEAT Fuses
Cell 11: PWR WINDOWS-PWR SUNROOF, REAR DEFOG and POWER SEATS Circuit Breakers
Cell 11: LP PARK, HDLP L and HDLP R Fuses
Cell 11: R/CMPT REL, ECM, GEN, F/PMP, FOG LP, A/C CLU, and HORN Fuses
Figure 5:

Cell 10: Underhood Accessory Wiring Junction Block


Object Number: 349101  Size: FS
Power and Grounding Components
Cell 10: EBCM/EBTCM
Cell 11: TURN SIGNALS CORN LPS, AIR BAG, CLUSTER, DRL and PCM-BCM U/H RELAY Fuses
Cell 14: G100, G111, G113, and G117
Cell 11: TRANS, ELEK IGN and OXY SEN Fuses
Cell 11: ENG EMIS Fuse
Cell 11: F/INJR Fuse
Cell 10: Ignition Switch