GM Service Manual Online
For 1990-2009 cars only
Figure 1:

Underhood Accessory Wiring Junction Block Label


Object Number: 337767  Size: MF
Figure 2:

Underhood Accessory Wiring Junction Block (RPO L82)


Object Number: 358519  Size: LF
Figure 3:

Underhood Accessory Wiring Junction Block (RPO L36, and L67)


Object Number: 358516  Size: LF

Fuse

Rating

Description

1-ABS MaxiFuse®

60A

Electronic Brake Control Module/Electronic Brake Traction Control Module (EBCM/EBTCM)

2-CRANK MaxiFuse®

40A

CRANK Relay

3-BAT #3 MaxiFuse®

60A

RH HEATED SEAT and LH HEATED SEAT Fuses and REAR DEFOG and POWER SEAT Circuit Breakers

4-BAT #2 MaxiFuse®

60A

HIGH BLOWER, HAZARD, STOP LAMPS, DOOR LOCKS and POWER MIRROR Fuses

5-IGN 1 MaxiFuse®

30A

Ignition Switch to IGN 0: CLUSTER PCM BCM, PARK LOCK, ABS, BTSI PARK LOCK, TURN SIGNALS CORN LPS, AIR BAG, CLUSTER, DRL, PCM BCM U/H RELAY and CRANK SIGNAL BCM CLUSTER Fuses

6-COOL FAN 1 MaxiFuse

25A

Coolant Fans

7-BAT #1 MaxiFuse®

60A

RADIO HVAC RFA CLUSTER CEL TEL, BCM PWR, CIGAR LTR DATA LINK, INADV POWER BUS and RADIO PREM SOUND Fuses

8-IGN 2 MaxiFuse®

60A

Accessory Time Delayed (RAP) Relay (w/KP2), Ignition Switch to PWR WINDOW PWR SUNROOF Circuit Breaker, WIPER, BCM ACC , POWER DROP, RADIO, LOW BLOWER, HVAC and CRUISE Fuses

20-AIR PMP Fuse

30A

Not used

21-GEN Fuse

10A

Generator

22-ECM Fuse

10A

Powertrain Control Module (PCM)

23-A/C CLU Fuse

10A

A/C CLU Relay to A/C Compressor Clutch Coil

24-COOL FAN 2 Fuse

15A

COOL FAN 2 and 3 Relays

25-ELEK IGN Fuse

15A

Ignition Control Module (ICM)

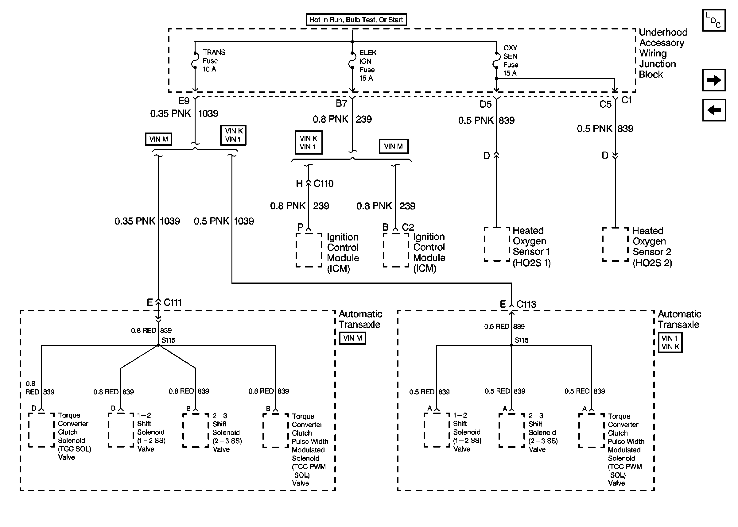
26-TRANS Fuse

10A

Automatic Transaxle: Torque Converter Clutch and Shift Controls

27-HORN Fuse

15A

HORN Relay to horn (High and Low note)

28-F/INJR Fuse

15A

Fuel Injectors

29-OXY SEN Fuse

15A

Heated Oxygen Sensors 1 and 2

30-ENG EMIS Fuse

10A

Powertrain Controlled Devices: EVAP Canister Purge Solenoid Valve, EVAP Canister Vent Solenoid Valve, Mass Air Flow (MAF) Sensor, Supercharger Bypass Control Solenoid (VIN 1) and Stop Lamp Switch (TCC) to PCM

31-FOG LP

10A

FOG LP Relay to Fog lamps

32-HDLP R Fuse

15A

RH Headlamps

33-R/CMPT REL Fuse

7.5A

Backup Lamps

34-LP PARK Fuse

20A

Headlamp Switch, DRL to FRT LPS (Park and Side Marker Lamps)

35-F/PMP Fuse

15A

F/PMP Relay

36-HDLP L Fuse

15A

LH Headlamps

I/P Fuse Block


Object Number: 337770  Size: LF

Fuse/Circuit Breaker

Rating

Description

ABS Fuse

10A

Ignition 1 to Electronic Brake Control Module/Electronic Brake Traction Control Module (EBCM/EBTCM)

AIR BAG Fuse

10A

Ignition 1 to Inflatable Restraint Sensing and Diagnostic Module (SDM)

BCM ACC Fuse

10A

Accessory Power to BCM

BCM PWR Fuse

10A

Battery to Body Control Module (BCM)

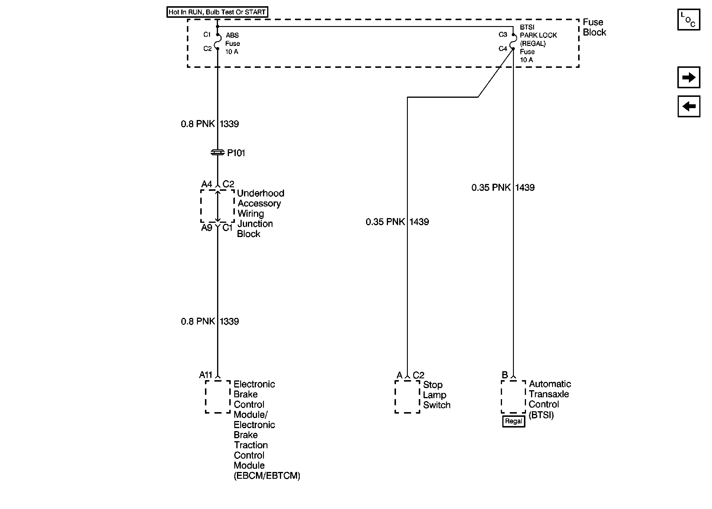
BTSI PARK LOCK (REGAL) Fuse

10A

Ignition 1 to Stop Lamp Switched BTSI Controls

CIGAR LTR/CEL TEL Fuse

20A

Battery to Cigar Lighter, Accessory Power Receptacle, Power Drop Connector and/or Cellular Telephone provisions

CLUSTER Fuse

10A

Ignition 1 to Instrument Cluster

CRANK SIGNAL BCM CLUSTER Fuse

10A

Hot in START to Instrument Cluster, BCM and PCM

CRUISE Fuse

10A

Ignition 3 to Cruise Controls

DOOR LOCKS Fuse

20A

Battery to Door Lock Relay, BCM for Power Door Locks and Rear Compartment Lid Release Relay

DRL Fuse

10A

Ignition 1 to Daytime Running Lamp (DRL) Control Module

FRT PARK LPS Fuse

10A

Park Lamp Switched Battery to Front Side Marker Lamps and Park/Turn Signal Lamps

HAZARD Fuse

15A

Battery to Turn Signal Switch for Hazard Warning Lamps

HEATED MIRROR Fuse

10A

Switched Ignition to Heated Mirrors

HIGH BLOWER Fuse

25A

Battery to Blower Motor Module (CJ2) or Blower Motor Resistor (C60/CJ3)

HVAC Fuse

10A

Ignition 3 to HVAC Controls, Driver and Passenger Heated Seat Controls, Automatic Day-Night Mirror and DRL, and Defogger Relay

IGN 0: CLUSTER PCM BCM Fuse

10A

Ignition 0 to Instrument Cluster, BCM and PCM

INADV POWER BUS Fuse

15A

Battery to BCM and Accessory Time Delay (RAP) Relay

LH HEATED SEAT Fuse

15A

Battery to Driver Seat Heater Control Module

LOW BLOWER Fuse

20A

Ignition 3 to Heater and A/C Control Blower Switch (C60/CJ3)

PANEL DIMMING Fuse

7.5A

Park Lamp Switched Battery to Step Dim Radio, Headlamp Switch Instrument Cluster and Heater-A/C Control (C60/CJ3) Vacuum Fluorescent Lamps

PARK LOCK (REGAL) Fuse

10A

Ignition 0 to Steering Column Electric Park Lock and Automatic Transaxle Control (BTSI)

PCM BCM U/H RELAY Fuse

10A

Ignition 1 to BCM, PCM, Underhood Electrical Center: CRANK and IGN MAIN Relay to A/C CLU Relay, F/INJR, ELEK IGN, ENG EMIS, OXY SEN and TRANS Fuses

POWER DROP Fuse

10A

Accessory Power to Power Drop Connector and/or Cellular Telephone provisions, Console Compartment Switch (Lamp)

POWER MIRRORS Fuse

10A

Battery to Outside Remote Control Rearview Mirror Switch

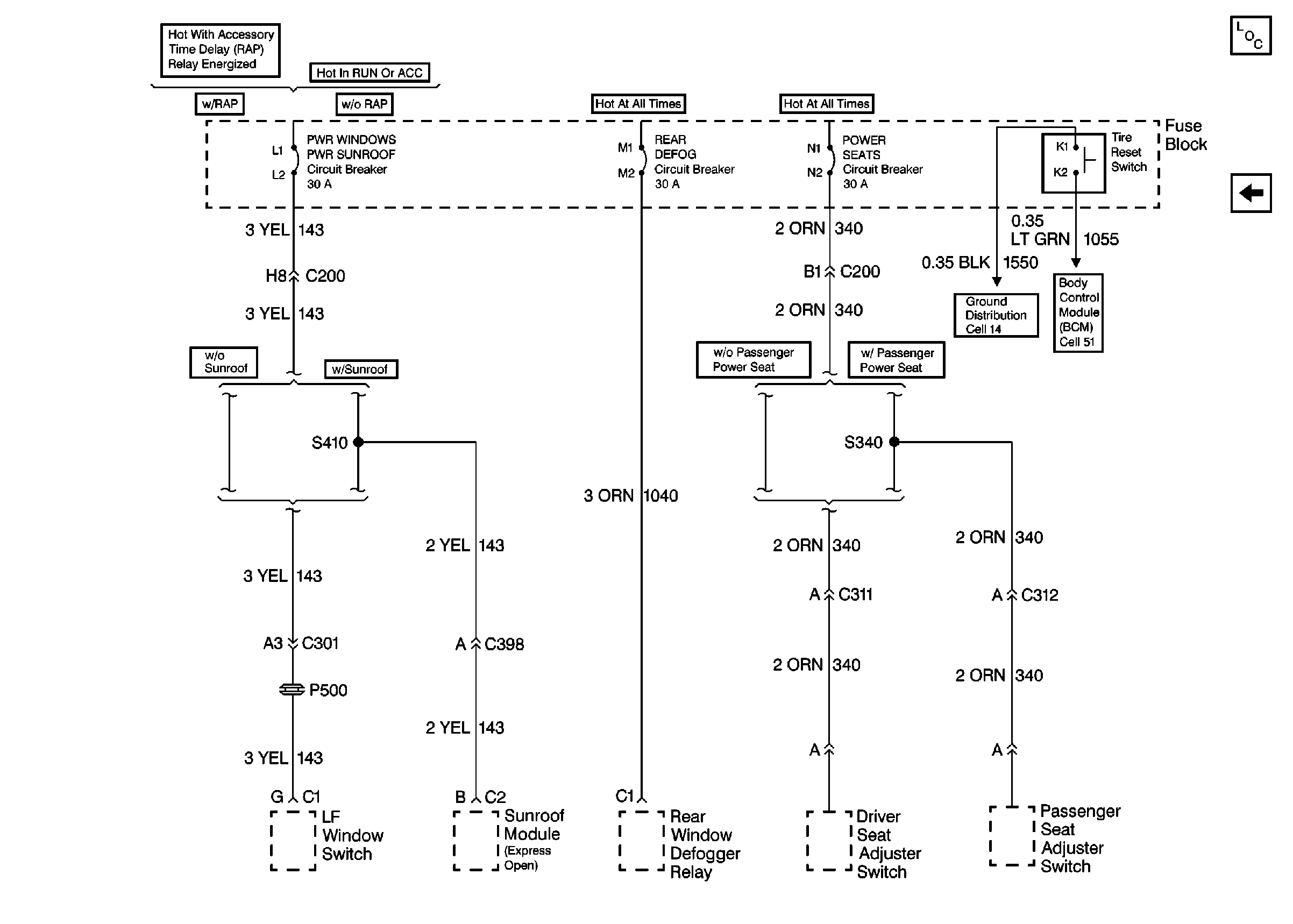
POWER SEATS Circuit Breaker

30A

Battery to Driver and Passenger Seat Adjuster Switches

PWR WINDOWS PWR SUNROOF Circuit Breaker

30A

Accessory Power to LF Window Switch and Sunroof Module

RADIO Fuse

2A

Accessory Power to Radio and Radio Control Switches

RADIO HVAC RFA CLUSTER DATA LINK Fuse

15A

Ignition 3 to Heater-A/C Control, Radio, Instrument Cluster, Remote Control Door Lock Receiver (RCDLR) and DLC

RADIO PREM SOUND Fuse

15A

Battery to Remote CD Changer and Low Frequency Audio Amplifier

REAR DEFOG Circuit Breaker

30A

Battery to Rear Window Defogger Relay

RH HEATED SEAT Fuse

15A

Battery to Passenger Seat Heater Control Module

STRG WHL CONT Fuse

2A

Switched Dimming Signal to Steering Wheel Radio Controls illumination

STOP LAMPS Fuse

15A

Battery to Stop Lamp Switch

TAIL LAMPS LIC LAMPS Fuse

15A

Park Lamp Switched Battery to Rear Parking, License, Tail/Stop/Turn Signal Lamps, and Panel Dimming Fuse

TURN SIGNALS CORN LPS Fuse

10A

Ignition 1 to Turn Signal Switch for Turn Signal Lamps

WIPER Fuse

25A

Accessory Power to Windshield Wipers Motor and Windshield Wiper/Washer Switch

Figure 4:

Cell 11: R/CMPT REL, ECM, GEN, F/PMP, FOG LP, A/C CLU, and HORN Fuses


Object Number: 349104  Size: FS
Power and Grounding Components
Cell 11: LP PARK, HDLP L and HDLP R Fuses
Figure 5:

Cell 11: LP PARK, HDLP L and HDLP R Fuses


Object Number: 349119  Size: FS
Power and Grounding Components
Cell 11: ENG EMIS Fuse
Cell 11: R/CMPT REL, ECM, GEN, F/PMP, FOG LP, A/C CLU, and HORN Fuses
Figure 6:

Cell 11: ENG EMIS Fuse


Object Number: 349122  Size: FS
Power and Grounding Components
Cell 11: TRANS, ELEK IGN and OXY SEN Fuses
Cell 11: LP PARK, HDLP L and HDLP R Fuses
Figure 7:

Cell 11: TRANS, ELEK IGN and OXY SEN Fuses


Object Number: 349124  Size: FS
Power and Grounding Components
Cell 11: F/INJR Fuse
Cell 11: ENG EMIS Fuse
Figure 8:

Cell 11: F/INJR Fuse


Object Number: 349126  Size: FS
Power and Grounding Components
Cell 11: HEATED MIRROR, CRANK SIGNAL BCM CLUSTER, IGN 0: CLUSTER PCM & BCM, and PARK LOCK Fuses
Cell 11: TRANS, ELEK IGN and OXY SEN Fuses
Figure 9:

Cell 11: HEATED MIRROR, CRANK SIGNAL BCM CLUSTER, IGN 0: CLUSTER PCM & BCM, and PARK LOCK Fuses


Object Number: 349127  Size: FS
Power and Grounding Components
Cell 11: LOW BLOWER, CRUISE and HVAC Fuses
Cell 11: F/INJR Fuse
Figure 10:

Cell 11: LOW BLOWER, CRUISE and HVAC Fuses


Object Number: 349129  Size: FS
Power and Grounding Components
Cell 11: ABS, and BTSI PARK LOCK Fuses
Cell 11: HEATED MIRROR, CRANK SIGNAL BCM CLUSTER, IGN 0: CLUSTER PCM & BCM, and PARK LOCK Fuses
Figure 11:

Cell 11: ABS, and BTSI PARK LOCK Fuses


Object Number: 349132  Size: FS
Power and Grounding Components
Cell 11: TURN SIGNALS CORN LPS, AIR BAG, CLUSTER, DRL and PCM-BCM U/H RELAY Fuses
Cell 11: LOW BLOWER, CRUISE and HVAC Fuses
Figure 12:

Cell 11: TURN SIGNALS CORN LPS, AIR BAG, CLUSTER, DRL and PCM-BCM U/H RELAY Fuses


Object Number: 349134  Size: FS
Power and Grounding Components
Cell 11: RADIO-HVAC RFA CLUSTER CEL TEL, BCM PWR, INADV POWER BUS,and CIGAR LTR DATA LINK Fuses
Cell 11: ABS, and BTSI PARK LOCK Fuses
Figure 13:

Cell 11: RADIO-HVAC RFA CLUSTER CEL TEL, BCM PWR, INADV POWER BUS, and CIGAR LTR DATA LINK Fuses


Object Number: 349164  Size: FS
Power and Grounding Components
Cell 11: HIGH BLOWER, HAZARD, STOP LAMPS, DOOR LOCKS, POWER MIRRORS, RH HEATED SEAT AND LH HEATED SEAT Fuses
Cell 11: TURN SIGNALS CORN LPS, AIR BAG, CLUSTER, DRL and PCM-BCM U/H RELAY Fuses
Figure 14:

Cell 11: HIGH BLOWER, HAZARD, STOP LAMPS, DOOR LOCKS, POWER MIRRORS, RH HEATED SEAT AND LH HEATED SEAT Fuses


Object Number: 349168  Size: FS
Power and Grounding Components
Cell 11: FRT PARK LPS FOG LAMPS, TAIL LAMPS LIC LAMPS, and PANEL DIMMING Fuses
Cell 11: RADIO-HVAC RFA CLUSTER CEL TEL, BCM PWR, INADV POWER BUS,and CIGAR LTR DATA LINK Fuses
Figure 15:

Cell 11: FRT PARK LPS FOG LAMPS, TAIL LAMPS LIC LAMPS, and PANEL DIMMING Fuses


Object Number: 349171  Size: FS
Power and Grounding Components
Cell 11: WIPER, BCM ACC, POWER DROP, RADIO and STRG WHL CONT Fuses
Cell 11: HIGH BLOWER, HAZARD, STOP LAMPS, DOOR LOCKS, POWER MIRRORS, RH HEATED SEAT AND LH HEATED SEAT Fuses
Figure 16:

Cell 11: WIPER, BCM ACC, POWER DROP, RADIO and STRG WHL CONT Fuses


Object Number: 349179  Size: FS
Power and Grounding Components
Cell 11: PWR WINDOWS-PWR SUNROOF, REAR DEFOG and POWER SEATS Circuit Breakers
Cell 11: FRT PARK LPS FOG LAMPS, TAIL LAMPS LIC LAMPS, and PANEL DIMMING Fuses
Figure 17:

Cell 11: PWR WINDOWS-PWR SUNROOF, REAR DEFOG and POWER SEATS Circuit Breakers


Object Number: 349200  Size: FS
Power and Grounding Components
Cell 11: WIPER, BCM ACC, POWER DROP, RADIO and STRG WHL CONT Fuses