GM Service Manual Online
For 1990-2009 cars only

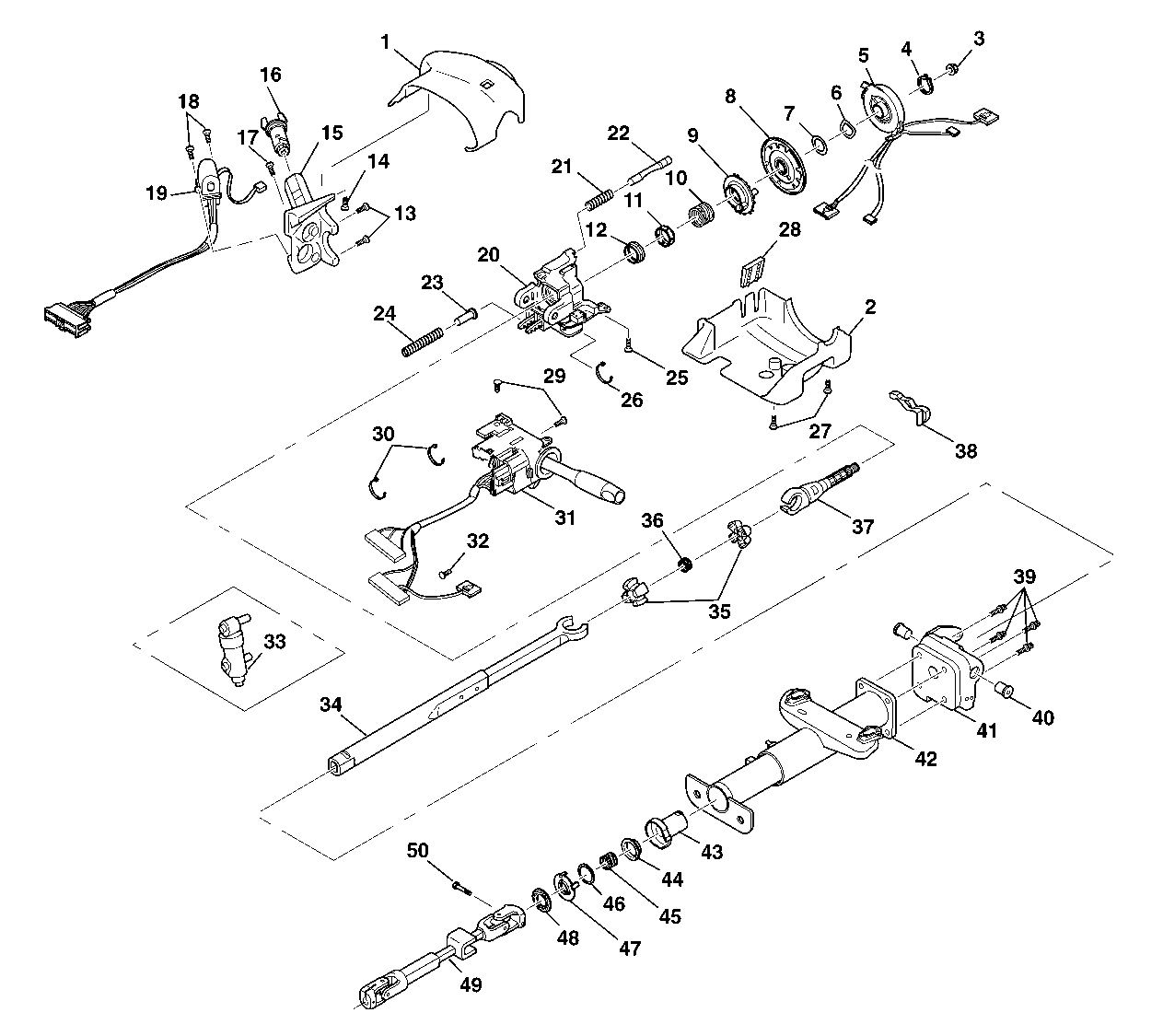
Steering Column Disassembled View Floor Shift

Tilt Floor Shift


Object Number: 371310  Size: LF
(1)Upper Shroud
(2)Lower Shroud
(3)Flanged Prevailing Torque Nut
(4)Retaining Ring
(5)SIR Coil Assembly
(6)Wave Washer
(7)Bearing Retainer
(8)Shaft Lock Shield Assembly
(9)Turn Signal Cancel Cam Assembly
(10)Upper Bearing Spring
(11)Upper Bearing Inner Race Seat
(12)Inner Race
(13)Pan Head Tapping Screw
(14)TORX® Head Screw
(15)Lock Module Assembly
(16)Steering Column Lock Cylinder Set
(17)Pan Head Tapping Screw
(18)Tapping Screw
(19)Ignition and Key Alarm Switch Assembly
(20)Steering Column Tilt Head Assembly
(21)Lock Bolt Spring
(22)Lock Bolt Assembly
(23)Spring Guide
(24)Tilt Spring
(25)TORX® Head Screw
(26)Wire Harness Strap
(27)Pan Head Tapping Screw
(28)Shroud Protector
(29)Pan Head Tapping Screw
(30)Wire Harness Strap
(31)Turn Signal and Multifunction Switch Assembly
(32)Axial Position Assurance Connector
(33)Steering Column Electric Park Lock
(34)Lower Steering Shaft Assembly
(35)Centering Sphere
(36)Joint Preload Spring
(37)Race and Upper Shaft Assembly
(38)Tilt Lever Assembly
(39)TORX® Head Screw
(40)Pivot Pin
(41)Steering Column Support Assembly
(42)Steering Column Jacket Assembly
(43)Adapter and Bearing Assembly
(44)Lower Bearing Seat
(45)Lower Bearing Spring
(46)Lower Bearing Retainer
(47)Sensor Retainer
(48)Steering Shaft Seal
(49)Intermediate Steering Column Shaft Assembly
(50)Pinch Bolt

Steering Column Disassembled View Column Shift

Column Shift Steering Column


Object Number: 384588  Size: LF
(1)Upper Shroud
(2)Lower Shroud
(3)Automatic Transmission Control Lever Assembly
(4)Shift Lever Screw
(5)Shift Lever Seal
(6)Flanged Prevailing Torque Nut
(7)Retaining Ring
(8)SIR Coil Assembly
(9)Wave Washer
(10)Bearing Retainer
(11)Shaft Lock Shield Assembly
(12)Turn Signal Cancel Cam Assembly
(13)Upper Bearing Spring
(14)Upper Bearing Inner Race Seat
(15)Inner Race
(16)Shaft Lock Shield Assembly
(17)TORX® Head Screw
(18)Lock Module Assembly
(19)Steering Column Lock Cylinder Set
(20)Pan Head Tapping Screw
(21)Tapping Screw
(22)Ignition and Key Alarm Switch Assembly
(23)Steering Column Tilt Head Assembly
(24)Lock Bolt Spring
(25)Lock Bolt Assembly
(26)Spring Guide
(27)Tilt Spring
(28)TORX® Head Screw
(29)Wire Harness Strap
(30)Pan Head Tapping Screw
(31)Tilt Lever Assembly
(32)Shroud Protector
(33)Pan Head Tapping Screw
(34)Wire Harness Strap
(35)Axial Position Assur Connector
(36)Turn Signal and Multifunction Switch Assembly
(37)Lower Steering Shaft Assembly
(38)Centering Sphere
(39)Joint Preload Spring
(40)Race and Upper Shaft Assembly
(41)Shift Lever Clevis
(42)Flathead 6-Lobed Soc Tap Screw
(43)Cam Bushing
(44)Cable Shift Cam Assembly
(45)Ball and Actuator Assembly
(46)Hex Flange Head Bolt
(47)Oval Head 6-Lobed Soc Tap Screw
(48)Park Lock Cable Assembly
(49)Linear Shift Assembly
(50)Gear Shift Lever Assembly Support Bracket
(51)TORX® Head Screw
(52)Pivot Pin
(53)Steering Column Support Assembly
(54)Steering Column Jacket Assembly
(55)Adapter and Bearing Assembly
(56)Lower Bearing Seat
(57)Lower Bearing Spring
(58)Lower Spring Retainer
(59)Sensor Retainer
(60)Steering Shaft Seal
(61)Inter Steering Shaft Assembly
(62)Pinch Bolt
(63)Electrical (BTSI) Actuator