GM Service Manual Online
For 1990-2009 cars only
Makes
🢒
Buick
🢒
1999
🢒
Regal
🢒
Body and Accessories
🢒
Wipers/Washer Systems
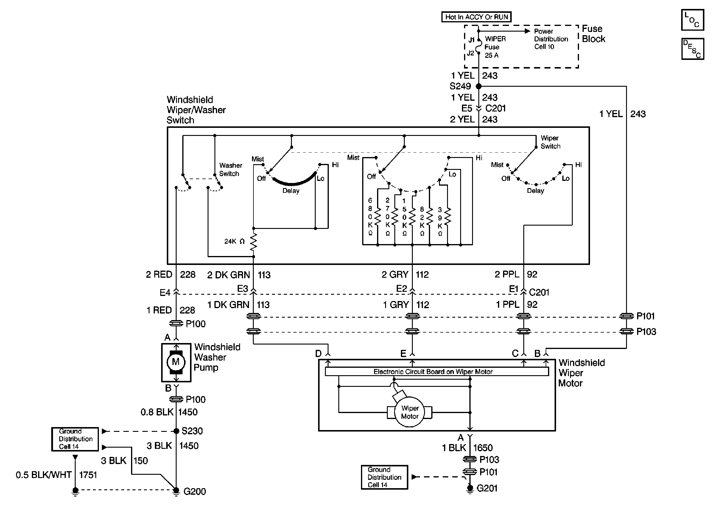
🢒 Wiper/Washer System (Pulse) Schematics
Cell 91
Wiper/Washer System Components
Cell 11: WIPER, BCM ACC, POWER DROP, RADIO and STRG WHL CONT Fuses
Cell 14: G200 (1 of 2)
Cell 14: G201
Wiper/Washer System Description