GM Service Manual Online
For 1990-2009 cars only

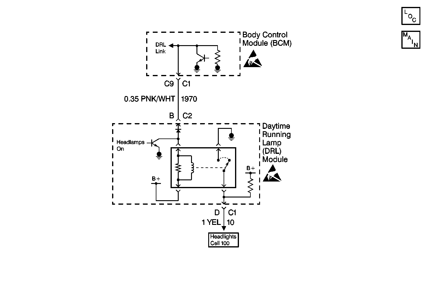
Object Number: 308611  Size: MF

Circuit Description

The BCM interfaces with the DRL control module through circuit 1970 to determine the ambient light operation mode. The BCM communicates this information to the instrument cluster through the Class II serial data link.

Conditions for Setting the DTC

The BCM detects a short to ground or an open in circuit 1970 when turning the ignition switch from start to on.

Action Taken When the DTC Sets

The BCM stores DTC B2602 in memory.

Conditions for Clearing the DTC

    • When the ignition switch is turned from off to on, a current DTC B2602 is always cleared. If a short to ground or open is still present when the ignition switch is turned from start to on, DTC B2602 will reset as a current DTC.
    • A history DTC will clear after 100 consecutive ignition cycles if the condition for the fault is no longer present.
    • Using a scan tool.

Diagnostic Aids

    • The following conditions may cause an intermittent malfunction to occur:
       - An intermittent short to ground in circuit 1970.
       - An intermittent open in circuit 1970.
       - The DRL module is shorted to ground or open internally.
    • If the DTC is a history DTC, the problem may be intermittent. Try performing the tests shown while wiggling wiring and connectors, this can often cause the malfunction to reappear.
    • DTC P1626 will set in the Powertrain Control Module (PCM) when the ignition switch is on with the Body Control module (BCM) disconnected. When BCM diagnostics and repairs are completed, refer to Engine Controls for additional information on PCM related DTCs.

Test Description

The numbers below refer to the step numbers on the diagnostic table.

  1. This step checks for voltage in circuit 1970.

  2. This step checks for a short to ground in circuit 1970.

  3. This step determines whether circuit 1970 has a short to ground or the DRL control module is faulty.

  4. This step checks for a open in circuit 1970.

  5. This step checks for a short to ground in circuit 1340.

  6. This step checks for an open in circuit 1340.

  7. This step determines whether the malfunction is intermittent or the BCM is faulty.

Step

Action

Value(s)

Yes

No

1

Was the BCM Diagnostic System Check performed?

--

Go to Step 2

Go to Diagnostic System Check - Body Control System

2

  1. Turn the ignition switch off.
  2. Disconnect the Body Control Module (BCM) connector C1.
  3. Using a test light, connect between the BCM harness connector C1 terminal C9 and ground.

Is the test light on?

--

Go to Step 8

Go to Step 3

3

Using a DMM, measure the resistance between the BCM harness connector C1 terminal C9 and ground.

Is the resistance within the specified range?

Go to Step 4

Go to Step 5

4

  1. Leave the DMM connected from the previous step.
  2. Disconnect the Daytime Running Lamps (DRL) module.
  3. Using a DMM, measure the resistance again.

Is the resistance within the specified range?

Go to Step 9

Go to Step 6

5

Using a test light, backprobe between the DRL module connector C2 terminal B and ground.

Is the test light on?

--

Go to Step 14

Go to Step 7

6

Using a test light, connect between B+ and DRL module harness connector C2 terminal A.

Is the test light on?

--

Go to Step 11

Go to Step 12

7

Using a test light, connect between the DRL module harness connector C2 terminal A and ground.

Is the test light on?

--

Go to Step 12

Go to Step 13

8

  1. Turn the ignition switch off.
  2. Reinstall connectors/components removed.
  3. Turn the ignition switch on.
  4. Clear the BCM DTCs. Refer to Clearing DTCs for more information.
  5. Start the engine.
  6. Leave the ignition switch on.
  7. Check for BCM DTCs. Refer to Diagnostic Trouble Code (DTC) Displaying for more information.

Does BCM DTC B2602 reset as a current DTC?

--

Go to Step 10

Go to Step 15

9

Repair short to ground in circuit 1970 between the BCM connector C1 terminal C9 and the DRL module connector C2 terminal B.

Is the repair complete?

--

Go to Step 16

--

10

  1. Replace the BCM. Refer to Body Control Module Replacement for more information.
  2. After replacing the BCM, perform the Setup New BCM procedure. Refer to Body Control Module (BCM) Programming/RPO Configuration for more information.

Is the repair complete?

--

Go to Step 16

--

11

Repair short to ground in circuit 1340.

Is the repair complete?

--

Go to Step 16

--

12

Replace the DRL module. Refer to Daytime Running Lights (DRL) Control Module Replacement in Lighting Systems for service procedure.

Is the repair complete?

--

Go to Step 16

--

13

Repair poor connection or open in circuit 1340.

Is the repair complete?

--

Go to Step 16

--

14

Repair poor connection or open in circuit 1970 between the BCM connector C1 terminal C9 and the DRL module connector C2 terminal B.

Is the repair complete?

--

Go to Step 16

--

15

The malfunction is not present at this time. Refer to Diagnostic Aids for additional information regarding this DTC.

Is the repair complete?

--

Go to Step 16

--

16

  1. Turn the ignition switch off.
  2. Reinstall connectors/components removed.
  3. Turn the ignition switch on.
  4. Clear BCM DTCs. Refer to Clearing DTCs for more information.
  5. Check for BCM DTCs. Refer to Diagnostic Trouble Code (DTC) Displaying for more information.

Are there any BCM current DTCs set?

--

Go to Diagnostic System Check - Body Control System

System OK