Removal Procedure
Important: The striker plate is mounted in a cage that allows some degree of adjustment
independent of the outer panels position. Use body dimensions to ensure that
the striker mounting location falls within the plates range of adjustment.
- Remove all related panels and components.
- Visually inspect and restore as much of the damage as possible.
- Remove sealers and anti-corrosion materials as necessary.
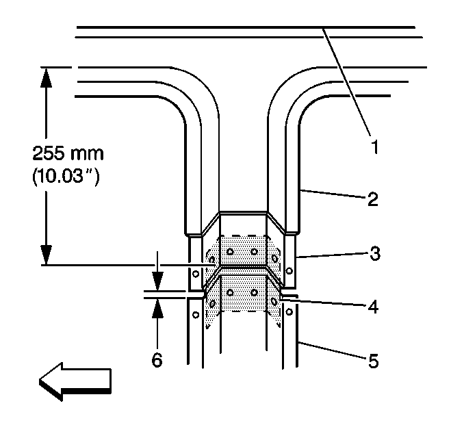
Important: Sectioning should be performed only in the recommended areas.
- Cut the reinforcement
(3) panel 255 mm (10 in) from the lower edge of the door opening.
Important: When sectioning both the inner (3) and the outer panels (2) this should
result in a 55 mm (2 3/16 in) offset in the sectioning joints.
- Remove the damaged center pillar reinforcement.
Installation Procedure
- On the service part (5),
mark a horizontal line to leave a gap of one and one-half times the thickness
of the metal (6) at the sectioning joint.
- Cut the service reinforcement panel along this line.
- Cut a 50 mm (2 in) piece from the unused portion
of the service part for a backing plate (5).
- Remove the flange on each side of the backing plate (4) so that
it will fit behind the sectioning joint.
- Drill 8 mm (5/16 in) holes for plug welding in
the service part in the location noted from the original panel.
- Drill holes for plug welding along the sectioning cuts on both
the service part and the original panel.
- Locate these holes approximately 13 mm (½ in)
from the edge of the sectioning cuts.
- Prepare the mating surfaces and position the backing plates with
25 mm (1 in) of the backing plate exposed, then plug weld.
Position the service part to overlap the exposed 25 mm (1 in)
gaps between.
- Go back and complete the stitch weld. This will create solid joint
with minimal heat distortion.
- Clean and prepare welded surfaces.
- Prime with two-part catalyzed primer.
- Apply sealers and anti-corrosion materials as necessary.
Important: Prior to refinishing, refer to GM 4901MD-99 Refinish Manual for
recommended products. Do not combine paint systems. Refer to paint manufacturers
recommendations.
- Install all related panels and components.