GM Service Manual Online
For 1990-2009 cars only
Makes
🢒
Buick
🢒
1999
🢒
Regal
🢒 Single Zone Air Delivery
Single Zone Air Delivery
HVAC Components
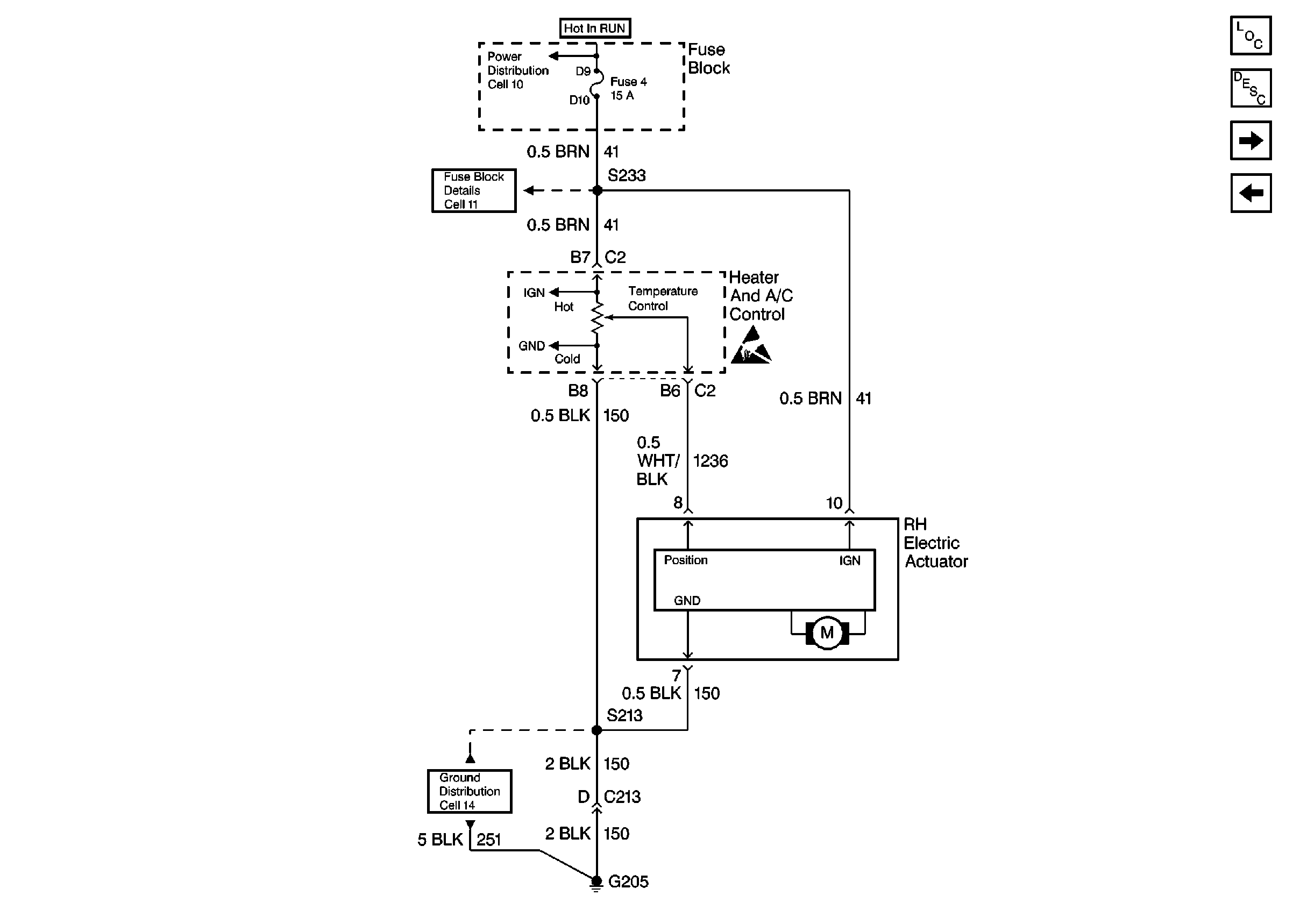
HVAC Air Delivery/Temperature Control Circuit Description
Cell 65: Heater-A/C Control
Cell 64