GM Service Manual Online
For 1990-2009 cars only

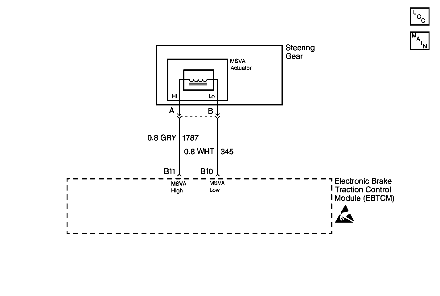
Object Number: 411369  Size: MF

Circuit Description

The Magnetic Steering Variable Assist (MSVA) system, also known as Magnasteer®, uses inputs from the ABS wheel speed sensors to determine the desired amount of power steering assist. The speed dependent Steering System is incorporated into the EBTCM. The EBTCM controls the amount of current supplied to the MSVA actuator based on inputs from the wheel speed sensors.

Conditions for Setting the DTC

DTC C1241 is set when the ignition voltage is between 17.0 and 10.5 volts, and either of the MSVA steering system actuator circuits (CKT 1787 or CKT 345) become open or shorted.

Action Taken When the DTC Sets

    • A Malfunction DTC C1241 is stored within the EBTCM.
    • The Antilock Brake System (ABS), Enhanced Traction Control (ETS), or the Traction Control System (TCS) indicator lamps are NOT illuminated.
    • The MSVA system is disabled.
    •  The ABS/ETS/TCS remains functional.

Conditions for Clearing the DTC

  1. A history DTC will clear after 100 consecutive ignition cycles if the condition for the malfunction is no longer present.
  2. You may use a scan tool in order to clear the DTC.

Diagnostic Aids

    • Possible causes for DTC C1241 to set are:
       - One or both MSVA circuits open.
       - One or both MSVA circuits short to battery.
       - One or both MSVA circuits short to ground.
    • It is very important that a thorough inspection of the wiring and connectors be performed. Failure to carefully and fully inspect wiring and connectors may result in misdiagnosis, causing part replacement with reappearance of the malfunction.
    • If an intermittent malfunction exists refer to Intermittents and Poor Connections Diagnosis in Wiring Systems.
    • Inspect all of the circuitry that may cause the intermittent complaint for the following conditions:
       - Broken wire inside the insulation
       - Backed out terminals
       - Improper mating
       - Improperly formed terminals
       - Damaged terminals
       - Poor terminal to wiring connections
       - Physical damage to the wiring harness

Step

Action

Value(s)

Yes

No

1

Was the Variable Effort System (VES) Diagnostic System Check performed?

--

Go to Step 2

Go to Variable Effort Steering System Check

2

  1. Turn the ignition switch to the OFF position.
  2. Disconnect the EBTCM connector.
  3. Install the J 39700 Universal Pinout Box using the J 39700-99 Cable Adaptor to the EBTCM harness connector only.
  4. Using J 39200 DMM, measure the resistance between terminals B10 and B11 of J 39700 Universal Pinout Box.

Is the resistance within the specified range?

1.6-3.1 ohms

Go to Step 11

Go to Step 3

3

  1. Disconnect the two-way MSVA actuator connector.
  2. Using the DMM, measure the resistance between terminal A and B of MSVA connector.

Is the resistance within the specified range?

1.6-3.1 ohms

Go to Step 5

Go to Step 4

4

Replace the MSVA actuator. Refer to Steering Gear Replacement in Variable Effort Steering.

Is the repair complete?

--

Go to Variable Effort Steering System Check

--

5

  1. Use the Universal Pinout box with the Cable Adaptor still connected to EBTCM harness only.
  2. Use the DMM to measure the resistance between terminal B10 of the universal pinout box and the MSVA connector terminal B.

Is the resistance within the specified range?

0-2 ohms

Go to Step 7

Go to Step 6

6

Repair open or high resistance in CKT 345. Refer to Wiring Repairs in Wiring Systems.

Is the repair complete?

--

Go to Variable Effort Steering System Check

--

7

Using the DMM, measure the resistance between terminal B11 of the universal pinout box and the MSVA connector terminal A.

Is the resistance within the specified range?

0-2 ohms

Go to Step 9

Go to Step 8

8

Repair open or high resistance in CKT 1787. Refer to Wiring Repairs in Wiring Systems.

Is the repair complete?

--

Go to Variable Effort Steering System Check

--

9

  1. MSVA connector still disconnected.
  2. Use the DMM to measure the resistance between terminals B10 and B11 of the Universal Pinout Box.

Is continuity present between the terminals B10 and B11 of the Universal Pinout Box?

--

Go to Step 10

Go to Step 20

10

Repair the short between CKT 345 and CKT 1787. Refer to Wiring Repairs in Wiring Systems.

Is the repair complete?

--

Go to Variable Effort Steering System Check

--

11

  1. Disconnect the two-way MSVA actuator connector.
  2. Using the DMM, measure the resistance between terminals B10 and D of the Universal Pinout Box.

Is continuity present between the terminals B10 and D of the Universal Pinout Box?

--

Go to Step 12

Go to Step 13

12

Repair the short to ground in CKT 345. Refer to Wiring Repairs in Wiring Systems.

Is the repair complete?

--

Go to Variable Effort Steering System Check

--

13

Using the DMM, measure the resistance between terminals B11 and D of the Universal Pinout Box.

Is continuity present between terminals B11 and D of the Universal Pinout Box?

--

Go to Step 14

Go to Step 15

14

Repair the short to ground in CKT 1787. Refer to Wiring Repairs in Wiring Systems.

Is the repair complete?

--

Go to Variable Effort Steering System Check

--

15

  1. Using the DMM, measure the resistance between the MSVA actuator terminal A and the steering gear case.
  2. Check for an internal short to ground inside the MSVA actuator.

Is continuity present between the MSVA actuator terminal A and the steering gear case?

--

Go to Step 4

Go to Step 16

16

  1. Disconnect the two-way MAGNASTEER® actuator connector.
  2. Turn the ignition switch to the RUN position, engine off.
  3. Connect the DMM between terminals B10 and D of the Universal Pinout Box.
  4. Check for voltage at terminal B10 of the Universal Pinout Box.

Is any voltage present at terminal B10 of the Universal Pinout Box?

--

Go to Step 17

Go to Step 18

17

  1. Repair the short to voltage in CKT 345. Refer to Wiring Repairs in Wiring Systems.
  2. Inspect the variable effort steering system.

Is the repair complete?

--

Go to Variable Effort Steering System Check

--

18

  1. Ignition switch still in the RUN position, engine off.
  2. Connect the DMM between terminals B11 and D of the Universal Pinout Box.
  3. Check for voltage at terminal B11 of the Universal Pinout Box.

Is any voltage present at terminal B11 of the Universal Pinout Box?

--

Go to Step 19

Go to Step 20

19

Repair the short to voltage in CKT 1787. Refer to Wiring Repairs in Wiring Systems.

Is the repair complete?

--

Go to Variable Effort Steering System Check

--

20

  1. Turn the ignition switch to the OFF position.
  2. Important: Damage or corrosion may result in an open or short with all of the connectors connected.

  3. Inspect the EBTCM harness connectors for the following conditions:
  4. • Damage
    • Corrosion

    Important: Damage or corrosion may result in an open or short with all of the connectors connected.

  5. Inspect the two-way MSVA actuator harness connector for the following conditions:
  6. • Damage
    • Corrosion

Do the connectors exhibit signs of corrosion or damage?

--

Go to Step 21

Go to Step 22

21

  1. Repair the damaged or corroded harness connectors in the EBTCM.
  2. Repair the damaged or corroded two-way MSVA actuator harness connector.
  3. Inspect the variable effort steering system.

Is the repair complete?

--

Go to Variable Effort Steering System Check

--

22

  1. Reconnect all of the connectors.
  2. Install the scan tool to the data link connector.
  3. Select VES Data within the scan tool menus.
  4. Start the engine and allow vehicle to idle in Park.
  5. Monitor VES Actuator Commanded and VES Actuator Feedback.
  6. Test drive vehicle while monitoring VES Actuator Commanded and VES Actuator Feedback signals.
  7. Compare the values to those given below.
  8. • 0 km/h (0 mph) = 0 to -2 amps
    • 72 km/h (45 mph) = 0 amps
    • 72 km/h or higher (45 mph or higher) = 0 to 2 amps

Does the VES Actuator Commanded and VES Actuator Feedback signals respond according to the given values?

--

Go to Step 4

Go to Step 23

23

  1. Replace the EBTCM. Refer to Electronic Brake Control Module/Electronic Brake and Track Control Module Replacement in ABS Brakes.
  2. Inspect the variable effort steering system.

Is the repair complete?

--

Go to Variable Effort Steering System Check

--