GM Service Manual Online
For 1990-2009 cars only

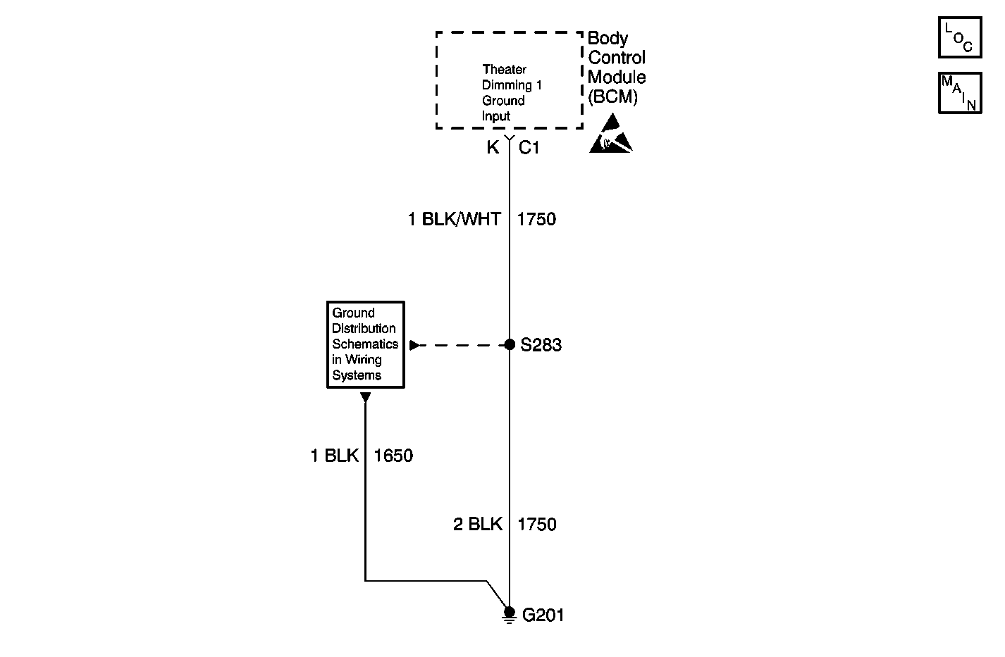
Object Number: 613276  Size: MF
G200
Handling ESD Sensitive Parts Notice
Lighting Systems Components
Courtesy Lamps, BCM, IP Compartment Lamp Switch, Rear Compartment Lid Ajar Switch, and BCM

Circuit Description

The Body Control Module (BCM) receives an active ground. The sole purpose of this input is to provide a ground for all courtesy lamp current flowing through the theater dim output.

Conditions for Running the DTC

If the input does not match a normal ground potential.

Conditions for Setting the DTC

    • The BCM detects a open when a ground is expected.
    • The condition above must be present for more then .3 seconds

Action Taken When the DTC Sets

The BCM stores DTC B2559 in memory.

Conditions for Clearing the DTC

    • A current DTC B2559 will clear if the open is no longer detected by the BCM
    • A history DTC B2559 will clear after 100 consecutive ignition cycles if the condition for the malfunction is no longer present nor any other malfunction in the BCM is detected.

Diagnostic Aids

    • If the DTC B2559 is a history DTC, the fault may be intermittent. Refer to Testing for Intermittent Conditions and Poor Connections in wiring systems.
    • The following conditions may cause an intermittent malfunction to occur:
       - An intermittent open in the theater dimming ground circuit.
       - The BCM is intermittently opened.

Test Description

The number(s) below refer to the step number(s) on the diagnostic table.

  1. Checks for a short to ground in the Inadv. Power Input circuit.

Step

Action

Value(s)

Yes

No

1

Did you perform the Lighting Diagnostic System Check?

--

Go to Step 2

Go to Diagnostic System Check - Lighting Systems

2

  1. Turn ON the ignition, with the engine off.
  2. With the I/P dimmer switch, turn the I/P lamps to full bright then dim the I/P dimmer switch to the off position.

Do the I/P lamps turn to full bright then dim to off?

--

Go to Diagnostic Aids

Go to Step 3

3

Test the theater dimming ground signal circuit of the BCM for a open. Refer to Circuit Testing and Wiring Repairs in Wiring Systems.

Did you find and correct the condition?

--

Go to Step 6

Go to Step 4

4

Inspect for poor connections at the harness connector of the body control module]. Refer to Testing for Intermittent Conditions and Poor Connections and Connector Repairs in Wiring Systems.

Did you find and correct the condition?

--

Go to Step 6

Go to Step 5

5

Important: Perform the set up procedure for the body control module.

Replace the BCM. Refer to Body Control Module Replacement .

Did you complete the replacement?

--

Go to Step 6

--

6

  1. Use the scan tool in order to clear the DTCs.
  2. Operate the vehicle within the Conditions for Running the DTC as specified in the supporting text.

Does the DTC reset?

--

Go to Step 2

System OK