GM Service Manual Online
For 1990-2009 cars only

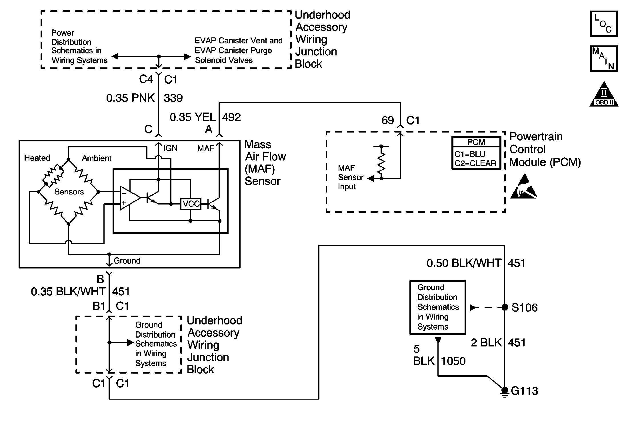
Object Number: 614873  Size: MF
Engine Controls Components
MAF Sensor, EVAP Canister Vent/Purge Solenoid Valve and EGR Valve
OBD II Symbol Description Notice
Handling ESD Sensitive Parts Notice

Circuit Description

The mass air flow (MAF) sensor measures the amount of air which passes through it into the engine during a given time. The powertrain control module (PCM) uses the mass air flow information to monitor engine operating conditions for fuel delivery calculations. A large quantity of air entering the engine indicates an acceleration or high load situation, while a small quantity of air indicates deceleration or idle. The MAF sensor produces a frequency signal which can be monitored using a scan tool. The frequency will vary within a range of around 2000 Hertz at idle to about 10,000 Hertz at maximum engine load. If the signal from the MAF sensor does not match a predicted value based on barometric pressure, calculated from MAP at key ON, throttle position, and engine RPM, DTC P0101 will set.

Conditions for Running the DTC

    • The engine is running.
    • System voltage is between 9-16 volts.
    • The throttle is steady and TP angle is below 50 percent.
    • EGR duty cycle is below 50 percent.
    • EGR pintle position is below 50 percent.

Conditions for Setting the DTC

    • MAF signal frequency indicates an airflow significantly higher or lower than a predicted value based on barometric pressure, throttle position and engine RPM.
    • The above conditions are present for at least 12 seconds.

Action Taken When the DTC Sets

    • The PCM illuminates the malfunction indicator lamp (MIL) on the second consecutive ignition cycle that the diagnostic runs and fails.
    • The PCM records the operating conditions at the time the diagnostic fails. The first time the diagnostic fails, the PCM stores this information in the Failure Records. If the diagnostic reports a failure on the second consecutive ignition cycle, the PCM records the operating conditions at the time of the failure.
    • The PCM writes the conditions to the Freeze Frame and updates the Failure Records.

Conditions for Clearing the MIL/DTC

    • The PCM will turn OFF the malfunction indicator lamp (MIL) during the third consecutive trip in which the diagnostic has run and passed.
    • The history DTC will clear after 40 consecutive warm-up cycles have occurred without a malfunction.
    • The DTC can be cleared by using a scan tool.

Diagnostic Aids

Inspect for the following conditions:

    • Skewed or stuck TP sensor -- A malfunctioning TP sensor or TP sensor circuit can cause the PCM to incorrectly calculate the predicted Mass Air Flow value. Observe the Throttle Angle displayed on a scan tool with the throttle closed. If the Throttle Angle reading is not 0 percent, inspect and test for the following conditions and repair as necessary:
       - Throttle plate sticking or excessive deposits on the throttle plate or in the throttle bore.
       - TP sensor signal circuit shorted to voltage.
       - Poor connection or high resistance in the TP sensor ground circuit.
       - If none of the above conditions are noted and the Throttle Angle reading at Closed Throttle is not 0 percent, replace the TP sensor.
    • Misrouted harness -- Inspect the MAF sensor harness to ensure that it is not routed too close to high voltage wires such as spark plug leads.
    • Plugged intake air duct or dirty air filter element -- A Wide Open Throttle acceleration from a stop should cause the Mass Air Flow displayed on a scan tool to increase from about 4-7 gm/s at idle to 100 gm/s or more at the time of the 1-2 shift. If not, check for a restriction.
    • Skewed or unresponsive MAP sensor -- The barometric pressure used to calculate the default Mass Air Flow value is based on the MAP sensor reading. A skewed MAP sensor at key ON will cause the BARO reading to be incorrectly calculated. Also, with the engine running, an unresponsive MAP sensor, due to poor vacuum connections, damaged vacuum source, defective vacuum hoses, or unmetered air into the manifold, will cause inaccurate BARO reading updates during Wide Open Throttle conditions. Both of these conditions result in a difference between the actual MAF sensor signal and the predicted MAF value, PCM calculated. If a large difference between these two values occurs DTC P0101 will set. This condition may also cause abnormal IAC counts. With the IAC at an incorrect count value, a hard start/no start condition may occur.

Many situations may lead to an intermittent condition. Perform each inspection or test as directed.

Important: :  Remove any debris from the connector surfaces before servicing a component. Inspect the connector gaskets when diagnosing or replacing a component. Ensure that the gaskets are installed correctly. The gaskets prevent contaminate intrusion.

    • Loose terminal connection
       -  Use a corresponding mating terminal to test for proper tension. Refer to Testing for Intermittent Conditions and Poor Connections , and to Connector Repairs in Wiring Systems for diagnosis and repair.
       -  Inspect the harness connectors for backed out terminals, improper mating, broken locks, improperly formed or damaged terminals, and faulty terminal to wire connection. Refer to Testing for Intermittent Conditions and Poor Connections , and to Connector Repairs in Wiring Systems for diagnosis and repair.
    • Damaged harness--Inspect the wiring harness for damage. If the harness inspection does not reveal a problem, observe the display on the scan tool while moving connectors and wiring harnesses related to the sensor. A change in the scan tool display may indicate the location of the fault. Refer to Wiring Repairs in Wiring Systems for diagnosis and repair.
    •  Inspect the powertrain control module (PCM) and the engine grounds for clean and secure connections. Refer to Wiring Repairs in Wiring Systems for diagnosis and repair.

If the condition is determined to be intermittent, reviewing the Snapshot or Freeze Frame/Failure Records may be useful in determining when the DTC or condition was identified.

Test Description

The numbers below refer to the step numbers on the diagnostic table.

  1. Only if sent here from the Engine Cranks But Does Not Run, continue to follow the diagnostic table even if DTC P0101 has NOT failed this ignition.

  2. This step checks the MAP sensor. By disconnecting the MAF sensor, the vehicle is forced into speed density. Speed density is based on the MAP, TP, and engine RPM readings. With a skewed/unresponsive MAP sensor, the speed density calculation is incorrect and the vehicle may not start. For further information refer to Diagnostic Aids.

  3. This step checks for a skewed or sticking MAP sensor. The MAP sensor should respond smoothly and gradually as RPM is increased. Compare the MAP sensor of the affected vehicle to that of a normally operating vehicle. If a large difference is noted, replace the MAP sensor.

  4. This step verifies that ignition feed voltage and a good ground are available at the MAF sensor.

DTC P0101 - MAF System Performance

Step

Action

Values

Yes

No

1

Did you perform the Powertrain On Board Diagnostic (OBD) System Check?

--

Go to Step 2

Go to Powertrain On Board Diagnostic (OBD) System Check

2

Are any other DTCs set?

--

Go to applicable DTC

Go to Step 3

3

  1. With a scan tool , observe and record scan tool Failure Records data.
  2. Operate the vehicle within Failure Records conditions.
  3. With a scan tool, observe Specific DTC info for DTC P0101.

Does the DTC reset?

--

Go to Step 4

Go to Diagnostic Aids

4

Important:  DO NOT CLEAR DTCs.

  1. Disconnect the MAF sensor.
  2. Attempt to start the engine.

Does the engine start and continue to run?

--

Go to Step 5

Go to Step 6

5

  1. Turn OFF the ignition.
  2. Reconnect the MAF sensor.
  3. Start the engine.
  4. With a scan tool, observe the MAP sensor parameter on the scan tool while slowly increasing engine speed to 3000 RPM.

Does the parameter value change as engine speed increases?

--

Go to Step 7

Go to Step 6

6

Diagnose the MAP sensor. Refer to Manifold Absolute Pressure Sensor Circuit Diagnosis .

Did you find and correct the condition?

--

Go to Step 20

Go to Step 7

7

  1. Turn ON the ignition, with the engine OFF and the throttle closed.
  2. With a scan tool, observe Throttle Angle parameter.

Does the parameter measure at the specified value?

0%

Go to Step 8

Go to DTC P0121 Throttle Position (TP) Sensor Performance

8

  1. Turn OFF the ignition.
  2. Disconnect the MAF sensor.
  3. Turn ON the ignition, with the engine OFF.
  4. Connect a DMM between the signal circuit of the MAF sensor and a good ground.

Does the voltage measure near the specified value?

5.0 V

Go to Step 9

Go to Step 10

9

Connect a test lamp between the ignition feed and ground circuits of the MAF sensor.

Does the test lamp illuminate?

--

Go to Step 13

Go to Step 12

10

Does the voltage measure less than the specified value?

4.5 V

Go to Step 14

Go to Step 11

11

  1. Turn OFF the ignition.
  2. Disconnect the PCM.
  3. Turn ON the ignition, with the engine OFF.
  4. Connect a DMM between the signal circuit of the MAF sensor and a good ground.

Does the voltage measure near the specified value?

0.0 V

Go to Step 20

Go to Step 17

12

Connect a test lamp between the ignition feed circuit of the MAF sensor and a good ground.

Does the test lamp illuminate?

--

Go to Step 15

Go to Step 16

13

Inspect for a poor connection at the MAF sensor. Refer to Testing for Intermittent Conditions and Poor Connections in Wiring Systems.

Did you find and correct the condition?

--

Go to Step 20

Go to Step 18

14

Inspect the MAF sensor circuits for the following conditions:

  1. Excessive resistance in the signal circuit of the MAF sensor.
  2. Excessive resistance in the ground circuit of the MAF sensor.
  3. Short to ground in the signal circuit of the MAF sensor.
  4. Poor connection at the PCM.

Refer to Testing for Intermittent Conditions and Poor Connections , Connector Repairs , and Wiring Repairs in Wiring Systems.

Did you find and correct the condition?

--

Go to Step 20

Go to Step 19

15

Repair the open or excessive resistance in the ground circuit of the MAF sensor. Refer to Wiring Repairs in Wiring Systems.

Is the action complete?

--

Go to Step 20

--

16

Repair the open or excessive resistance in the ignition feed circuit of the MAF sensor. Refer to Wiring Repairs in Wiring Systems.

Is the action complete?

--

Go to Step 20

--

17

Locate and repair the short to voltage in the signal circuit of the MAF sensor. Refer to Wiring Repairs in Wiring Systems.

Is the action complete?

--

Go to Step 20

--

18

Replace the MAF sensor. Refer to Mass Airflow Sensor Replacement .

Is the action complete?

--

Go to Step 20

--

19

Important: :  The replacement PCM must be programmed.

Replace the PCM. Refer to Powertrain Control Module Replacement/Programming .

Is the action complete?

--

Go to Step 20

--

20

  1. Use a scan tool to clear the DTCs.
  2. Operate the vehicle within the Conditions for Running the DTC as specified in the supporting text.

Does the DTC reset?

--

Go to Step 2

System OK