GM Service Manual Online
For 1990-2009 cars only
Makes
🢒
Buick
🢒
2001
🢒
Regal
🢒
Engine
🢒
Engine Cooling
🢒 Engine Cooling Schematics
Figure
1:
Cooling Fans
Master Electrical Component List
Cooling System Description and Operation
Coolant Level Indicator
Power Bussing for Fuse Block Underhood Page 1 of 2
G113
G113
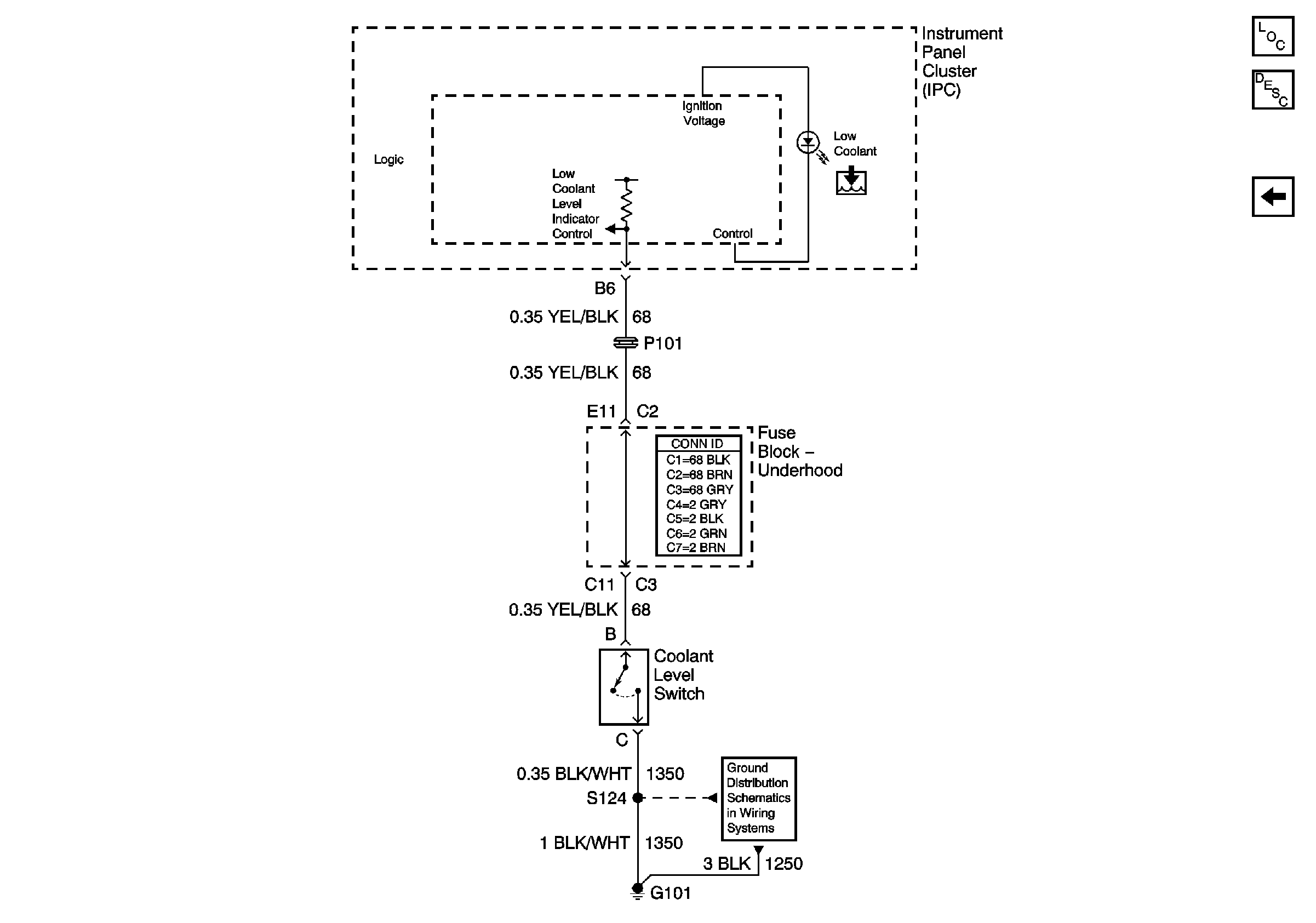
Figure
2:
Coolent Level Indicator
Master Electrical Component List
Cooling System Description and Operation
Cooling Fans
G101