GM Service Manual Online
For 1990-2009 cars only
Makes
🢒
Buick
🢒
2001
🢒
Regal
🢒
Engine
🢒
Engine Controls - 3.8L
🢒 Emission Hose Routing Diagram
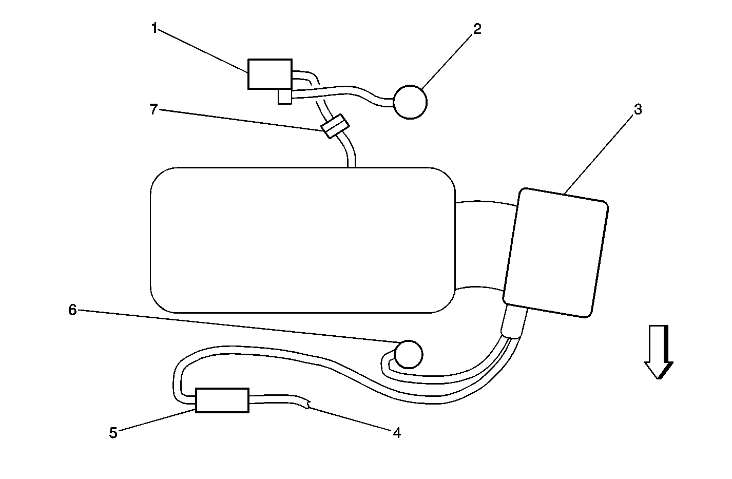
Figure
1:
Vacuum Hose Routing 3800 (Vin K)
(1)
Secondary Air Injection (AIR) Vacuum Control Solenoid Valve, if equipped
(2)
Secondary Air Injection (AIR) Shut-Off Valve, if equipped
(3)
Throttle Body
(4)
To EVAP Canister
(5)
EVAP Canister Purge Valve
(6)
Fuel Pressure Regulator
(7)
Secondary Air Injection (AIR) Vacuum Check Valve, if equipped
Figure
2:
Vacuum Hose Routing 3800 (VIN 1)
(1)
To EVAP Canister
(2)
PCV Valve
(3)
To Vacuum Brake Booster
(4)
Throttle Body
(5)
Supercharger Bypass Actuator (Bypass Valve Actuator)
(6)
Supercharger Bypass Solenoid (Boost Control Solenoid)
(7)
Fuel Pressure Regulator
(8)
Supercharger Assembly
(9)
EVAP Canister Purge Valve
(10)
Manifold Absolute Pressure (MAP) Sensor